ЭПУ_3 (1088703), страница 3
Текст из файла (страница 3)
Принимая во внимание коэффициенты формы тока kф2 и kф1, можно определить расчетные мощности обмоток трансформатора и габаритную мощность:
PII = 1,1kф2 P0 / S;
PI = 1,1 kф1 P0;
Pгаб = (PI + PII)/2 =
= 0,55(kф2/S + kф1)P0. Временные диаграммы для рассматриваемой схемы при резистивно - индуктивном характере нагрузки приведены на рис. 8.
Ф
аза первой гармоники тока первичной обмотки трансформатора совпадает с фазой напряжения сети u1 (cos φ1 = 1) только при α = 0 и α = π. Βо всех других случаях первая гармоника тока отстает от напряжения на угол φ1.
Коэффициент искажения тока ν1 при резистивной нагрузке имеет максимум при α = 0 и α = π (ν1 = 1), а при индуктивной нагрузке ν1 = 0,9. При других значениях α κоэффициент искажения тока, а следовательно, и коэффициент мощности χ ниже, но все же они остаются более высокими, чем при отсутствии вольт-добавки, особенно при больших углах регулирования. К тому же резко снижается коэффициент пульсаций выпрямленного напряжения, уменьшаются “броски” тока в питающей сети и вследствие этого снижается уровень радиопомех, создаваемых выпрямителем.
Разнообразие выпрямителей с вольт-добавкой велико, они выполняются не только по обычной двухфазной схеме, но и по другим схемам.
Описание лабораторного макета
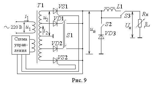
Упрощенная принципиальная схема лабораторной установки приведена на рис. 9. Лабораторный макет помимо исследуемого выпрямителя содержит встроенный мультиметр для измерения тока первичной обмотки трансформатора I1, тока вторичной обмотки трансформатора I2, напряжения на вторичной обмотке трансформатора U2, выпрямленного напряжения до сглаживающего фильтра UВ, напряжения на нагрузке UН и тока в цепи нагрузки IН. Выбор измеряемой величины и измеряемого параметра (амплитуда, действующее значение, постоянная составляющая) осуществляется соответствующими кнопками, расположенными снизу от дисплея.
В
макете предусмотрена возможность изменения угла регулирования α (сектор “Угол регулирования”), сопротивления нагрузки выпрямителя (сектор “Нагрузка”), схемы выпрямителя и вида сглаживающего фильтра (сектор “Управление схемой”).
Наличие двух выходов на внешний осциллограф позволяет одновременно наблюдать формы токов и напряжений в различных точках схемы:
u2, iVS1, iVD1, iVD3, uВ, uН, i1, uVS1. Для исследования взаимосвязи сигналов во времени рекомендуется на один из каналов двухлучевого осциллографа постоянно подавать опорный сигнал (например, напряжение на вторичной обмотке трансформатора) и этим сигналом синхронизировать развертку осциллографа.
Порядок выполнения работы
Ознакомиться со схемой лабораторного макета и с размещением органов управления макетом. Включить лабораторный макет и осциллограф.
-
Исследование двухфазного управляемого выпрямителя с резистивной нагрузкой.
1.1. При номинальной нагрузке (минимальное сопротивление нагрузки) снять регулировочные характеристики выпрямителя, т. е. зависимости постоянной составляющей выпрямленного напряжения UН, действующих значений токов первичной I1 и вторичной I2 обмоток трансформатора, амплитуды напряжения пульсаций Uп от значения угла регулирования в пределах от α = αmin до α = 180°. Вычислить коэффициент пульсации выпрямленного напряжения kп = Uп /UН . Построить графики UН, I1, I2, kп = f(α)).
1.2. При номинальной нагрузке зарисовать осциллограммы u2, iVS1, uВ, uН, i1, uVS1 при углах регулирования α = αmin и α 60 – 90°.
2. Исследование двухфазного управляемого выпрямителя с резистивно-индуктивной нагрузкой.
2.1. Снять регулировочные характеристики выпрямителя по программе, описанной в п. 1.1. При выполнении эксперимента контролировать по осциллографу ток iVS1 и определить угол регулирования, при котором ток в нагрузке перестает быть непрерывным.
2.2. При номинальной нагрузке зарисовать осциллограммы u2, iVS1, uВ, uН, i1, uVS1 при углах регулирования α = αmin и α 60°.
3. Исследование двухфазного управляемого выпрямителя при резистивно-индуктивной нагрузке с обратным диодом.
3.1. Снять регулировочные характеристики выпрямителя по программе, описанной в п. 1.1.
3.2. При номинальной нагрузке зарисовать осциллограммы u2, iVS1, iVD3, uВ, uН, i1, uVS1 при углах регулирования α = 90°, α > 90°.
4. Исследование двухфазного управляемого выпрямителя с вольт-до-бавкой при резистивно-индуктивной нагрузке.
4.1. Снять регулировочные характеристики выпрямителя по программе, описанной в п. 1.1.
4.2. При номинальной нагрузке зарисовать осциллограммы u2, iVS1, iVD1, uВ, uН, i1, uVS1 при угле регулирования α 60 – 90°.
5. Изменяя сопротивление нагрузки, снять внешние характеристики одного из вариантов (пп.1–4) построения управляемого выпрямителя UН = f(IН) при углах регулирования α = αmin, α 90°.
Содержание отчета
1. Принципиальная схема макета.
2. Таблицы экспериментальных данных и временные диаграммы. Графики экспериментальных и расчетных зависимостей.
3. Краткие выводы.
Контрольные вопросы
1. Объяснить принцип работы и ход характеристик тиристоров.
2. Объяснить ход внешних характеристик выпрямителя для различного характера нагрузки с учетом сопротивлений обмоток трансформатора.
3. Объяснить регулировочные характеристики управляемого выпрямителя для различного вида нагрузок.
4. С какой целью вводится в схему выпрямителя обратный (нулевой) диод, почему такого диода нет в схемах с «вольт-добавкой»?
5. Каким образом полный коэффициент мощности выпрямителя зависит от угла регулирования при различных характерах нагрузки?
6. Как изменяется коэффициент пульсации выпрямленного напряжения с изменением угла регулирования?
7.Объяснить принцип работы и регулировочную характеристику управ-ляемого выпрямителя с вольт-добавкой.
8. Каковы формы токов и напряжений на элементах исследованных схем управляемых выпрямителей (i1, i2, iVS, iVD0, uV, uв, uн) для углов регулирования α = 60° и 90° при различном характере нагрузки?















