Тема 2 (1085181)
Текст из файла
Тема 2. Станция СПО-15
1. Назначение станции CП0-15, решаемые задачи. 2
2. Тактико-технические характеристики станции. 3
3. Принцип действия станции СПО-15. 4
4. Структурная схема приемного канала. 7
5. Определение углового положения PЛC. 9
6. Определение несущей частоты сигнала. 11
7. Определение вида излучения. 13
8. Определение режима работы РЛС. 14
9. Измерение мощности сигналов. 15
10. Определение периода следования импульсов. 19
11. Определение длительности импульсов. 20
12. Определение типов РЛС. 22
13. Выбор наиболее опасной (главной) РЛС. 25
14. Система встроенного контроля станции. 28
-
Назначение станции CП0-15, решаемые задачи.
Станция предупреждения об облучении СПО-15 (станция «Береза», изделие Л006) относится к информационным средствам РЭБ, а именно, к средствам непосредственной радиотехнической разведки.
Станция СПО-15 предназначена
для оповещения экипажа об облучении самолета РЛС зенитных артиллерийских или ракетных комплексов (ЗАК, ЗРК) и бортовыми РЛС истребителей с целью принятия необходимых мер защиты самолета и выполнении маневра (противоракетного, обхода позиций ЗРК или выхода на них для уничтожения).
Станция СПО-15 решает следующие задачи:
1. Автоматическое определение основных характеристик и параметров РЛС, облучающих самолет.
2. Автоматическое определение типов РЛС, облучающих самолет, и выбор наиболее опасной из них при облучении самолета несколькими станциями.
3. Оповещение экипажа об облучении с помощью световой и звуковой сигнализации.
4. Выдача информации необходимой для автоматического управления средствами создания активных и пассивных помех.
5. Автоматический или полуавтоматический контроль работоспособности станции и определение места неисправности с точностью до сменного узла (блока, кассеты).
Существует две модификации станции: Л006 – для установки на тяжелых и средних самолетах и Л006Л – для установки на легких самолетах.
-
Тактико-технические характеристики станции.
Тактические характеристики (возможности) станции:
1. Обнаружение сигналов РЛС, облучающих самолет, на дальностях, превышающих радиус зоны поражения средств ПВО, в состав которых входят эти РЛС.
2. Определение ракурса РЛС по курсовому углу в азимутальной плоскости и полусфере (верхняя или нижняя) в угломестной плоскости.
3. Определение типа облучающей РЛС (из 6-ти запрограммированных).
4. Автоматический выбор главной (наиболее опасной) РЛС при облучении самолета несколькими станциями.
5. Выдача информации о радиолокационной обстановке на индикатор и посредством звуковой сигнализации.
6. Выдача данных для автоматического управления средствами создания активных и пассивных помех.
Технические характеристики станции:
1. Диапазон DfР несущих частот принимаемых сигналов.
2. Вид принимаемых сигналов:
- непрерывные;
- квазинепрерывные (tИ = 0,5…1мкс; FП =35…125кГц);
- импульсные (tИ = 0,25…5мкс; FП =0,4…3кГц).
3. Чувствительность азимутальных каналов:
- по импульсному сигналу -(60…70)дБ/Вт;
- по непрерывному сигналу -(80…87)дБ/Вт.
4. Зона обзора:
- в азимутальной плоскости – 360˚ (16 секторов по 20˚);
- в угломестной плоскости – 60˚ (2 сектора по 30˚– верхняя и нижняя полусферы).
5. Ошибка определения курсового угла РЛС не более 10˚.
6. Динамический диапазон принимаемых сигналов – 30дБ.
7. Напряжение питания: +27В бортсети, потребляемый ток не более 5А.
8. Масса: Л006 – 28кг; Л006Л – 18кг.
-
Принцип действия станции СПО-15.
Станция представляет собой многоканальный детекторный приемник, сопряженный с устройством обработки (рис. 1). В станции реализован беспоисковый способ определения пеленга и несущей частоты облучающих РЛС.
Обработка принятых сигналов РЛС выполняется в два этапа.
Первый этап (первичная обработка) осуществляется одновременно в 16-ти азимутальных и 2-х угломестных приемных каналах, каждый из которых состоит из преобразователя ВЧ и усилителя сектора. Выходные сигналы каналов подаются в устройство предварительного анализа и измерители мощности (только с азимутальных секторов).
Рис. 1. Структурная схема станции СПО-15
При первичной обработке определяются:
- пространственное положение РЛС относительно самолета (курсовой угол и полусфера);
- диапазон несущей частоты сигналов РЛС;
- вид излучения (импульсное или непрерывное);
- режим работы РЛС (обзор или сопровождение);
- уровень мощности принятых сигналов.
Второй этап (вторичная обработка) осуществляется последовательно для каждого азимутального канала, в котором приняты сигналы РЛС. При этом решаются две основные задачи: идентификация (определение типа) РЛС, облучающих самолет, и выбор средства ПВО, представляющего наибольшую угрозу, при облучении самолетами несколькими РЛС. Для идентификации РЛС определяются параметры их сигналов (длительность и частота повторения импульсов, длительность пачки импульсов). Выбор главной РЛС осуществляется по заранее заданному алгоритму. Процесс вторичной обработки управляется устройством синхронизации, выдающим сигнал опроса соответствующего сектора.
Данные, полученные в результате обработки сигналов, через схемы сопряжения с внешними устройствами поступают на индикатор, в СПУ и БКО.
Пульт управления станцией обеспечивает ее включение, задание режимов работы и индикацию об отказах. Устройство контроля предназначено для проверки работоспособности основных узлов станции.
Индикатор (рис. 2) предназначен для отображения информации об облучающих РЛС. На индикаторе высвечиваются:
Рис. 2. Индикатор обстановки
а) для всех РЛС – зеленые метки курсовых углов (6) и типов РЛС (10);
б) для главной РЛС:
- желтые метки курсового угла (7), полусферы «Верх-Низ» (1) и типа (9) главной РЛС;
- красные метки градаций мощности (8), границы зоны поражения средства ПВО (метка градаций мощности мигает с частотой 2 Гц) и режима «Захват» (2);
в) для стартовавшей ракеты:
- метка (3) «Позиция главной цели» (по данным теплопеленгатора);
- движение ракеты (мигание меток градаций мощности с частотой 8 Гц).
-
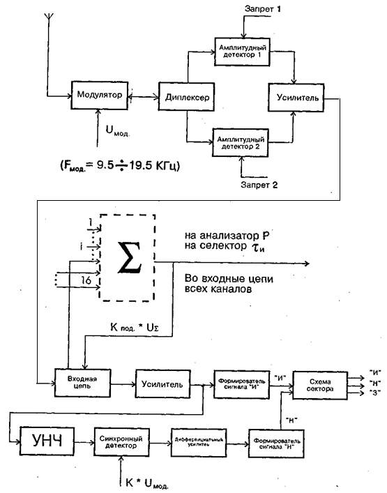
Структурная схема приемного канала.
Структурная схема одного приемного канала сектора включает в себя два основных узла: преобразователь ВЧ и усилитель сектора (рис. 3).
Преобразователь ВЧ состоит из модулятора, фильтра-диплексера, амплитудных детекторов и усилителя.
Модулятор осуществляет амплитудную модуляцию принятых антенной сигналов РЛС по гармоническому закону. Это снижает аппаратурные затраты и упрощает последующую обработку сигналов РЛС с непрерывным излучением:
- при отсутствии модуляции на выходе детектора вырабатывалось бы постоянное напряжение с крайне малой амплитудой, что вызывало бы необходимость дополнительного включения в приемный канал усилителя постоянного тока;
- при наличии модуляции на выходе детектора вырабатывается переменное напряжение, которое может усиливаться теми же устройствами, что и импульсный сигнал.
Частота модуляции изменяется по пилообразному закону от 9,5 до 19,5 кГц. Это позволяет исключить возможность подавления принимаемых импульсных последовательностей, у которых частота повторения равна или кратна частоте модуляции.
Диплексер (два полосовых фильтра), амплитудные детекторы и усилитель обеспечивают определение несущей частоты принимаемых сигналов, выделение их огибающих и усиление.
Усилитель сектора состоит из входной цепи, широкополосного усилителя, формирователя сигнала «И», канала формирования сигнала «Н» и выходной схемы сектора.
Входная цепь предназначена для подавления сигналов, принимаемых по боковым лепесткам диаграммы направленности азимутальной антенны.
Формирователь сигнала «И» предназначен для селекции импульсных сигналов. Цепочка устройств, включающая УНЧ, синхронный детектор, дифференциальный усилитель, формирователь сигнала «Н», обеспечивает селекцию сигналов непрерывного излучения.
Выходная схема сектора предназначена для запоминания сигналов «И», «Н» и выдачи их в ходе опроса при вторичной обработке и формирования сигнала «Захват» при облучении станции сигналами РЛС, работающей в режиме сопровождения.
Рис. 3. Структурная схема приемного канала
-
Определение углового положения PЛC.
Определение направления на РЛС, облучающую самолет, осуществляется беспоисковым способом посредством антенной системы из 4-х азимутальных и 2-х угломестных антенн (рис. 1).
Каждая азимутальная антенна выполнена на основе линзы Люнеберга и имеет 4-х лепестковую ДН (рис.2). Ширина каждого лепестка (луча) антенны по уровню 0,5 в горизонтальной плоскости равна 20°, в вертикальной плоскости – 60°.
Каждая угломестная антенна выполнена в виде плоской двухзаходной спирали и имеет воронкообразную ДН шириной 360° в азимутальной плоскости и 30° по углу места (рис. 1).
Рис. 1 Рис. 2
Курсовой угол облучающей РЛС определяется по номеру азимутального сектора, в приемном канале которого принят сигнал (сектору №1 соответствует левый луч с углом 700 , далее нумерация по часовой стрелке до 16 сектора). При этом на выходе соответствующего приемного канала формируется сигнал «И» или «Н» (рис. 3), который поступает в устройство предварительного анализа, а с него на индикатор обстановки и схемы сопряжения с устройствами бортового комплекса обороны (БКО). На индикаторе загорается зеленая метка курсового угла, соответствующая номеру сработавшего канала. В БКО эта же информация отображается на индикаторе боевой обстановки. Данные о курсовых углах облучающих РЛС используются также при выборе главной РЛС.
Рис. 3
В случаях, когда самолет облучается с направления, близкого к среднему между двумя смежными секторами, прием сигнала РЛС будет произведен двумя приемными каналами. При этом на индикаторе будут светиться две соседние метки курсовых углов.
В станции предусмотрен механизм предотвращения ложных срабатываний приемных каналов по слабым сигналам, принятым по «боковым» лепесткам азимутальных антенн. Он заключается в том, что входные сигналы всех 16 каналов суммируются, суммарный сигнал инвертируется, ослабляется в КПОД раз и подается в виде сигнала подавления во входные цепи всех каналов (рис. 3). При этом сигналы, принятые по основным лепесткам, ослабляются незначительно, а слабые сигналы, с амплитудой меньше максимальной в четыре и более раз, подавляются. Коэффициент КПОД передачи цепи подавления выбран таким, чтобы зоны приема сигналов только одним сектором и двумя соседними секторами были равны. При этом ошибка определения курсового угла оказывается минимальной и составляет около 10 градусов.
Положение облучающей РЛС относительно самолета по углу места определяется с точностью до полусферы (верхняя - нижняя) по выходным сигналам приемных каналов «Верх» и «Низ».
-
Определение несущей частоты сигнала.
Несущая частота сигналов РЛС, облучающих самолет, определяется беспоисковым способом по принципу многоканального приема. При этом весь разведываемый диапазон частот в каждом азимутальном канале разбивается на 2 поддиапазона: ∆f1 (I) и ∆f2 (II), как показано на рис. 4.
Характеристики
Тип файла документ
Документы такого типа открываются такими программами, как Microsoft Office Word на компьютерах Windows, Apple Pages на компьютерах Mac, Open Office - бесплатная альтернатива на различных платформах, в том числе Linux. Наиболее простым и современным решением будут Google документы, так как открываются онлайн без скачивания прямо в браузере на любой платформе. Существуют российские качественные аналоги, например от Яндекса.
Будьте внимательны на мобильных устройствах, так как там используются упрощённый функционал даже в официальном приложении от Microsoft, поэтому для просмотра скачивайте PDF-версию. А если нужно редактировать файл, то используйте оригинальный файл.
Файлы такого типа обычно разбиты на страницы, а текст может быть форматированным (жирный, курсив, выбор шрифта, таблицы и т.п.), а также в него можно добавлять изображения. Формат идеально подходит для рефератов, докладов и РПЗ курсовых проектов, которые необходимо распечатать. Кстати перед печатью также сохраняйте файл в PDF, так как принтер может начудить со шрифтами.
















