Диго С.М. Базы данных проектирование и использование (1084447), страница 20
Текст из файла (страница 20)
Альтернативных ключей у одной сущности может быть несколько (рис. 2.50). Обратите внимание на разницу в изображении сущностей на рис. 2.49 и 2.50. В первом случае сущность имеет один составной альтернативный ключ, во втором - два простых.
Рис. 2.50. Изображение сущности КАФЕДРА
Описание связи
После того как были определены хотя бы две сущности, можно задавать связи между ними. Для определения связи можно щелкнуть по четвертой кнопке сверху (линия с точкой на конце) на панели инструментов, изображенной слева на экране (или выполнить команду Create/Relationship, или нажать комбинацию клавиш [Ctrl]+[R]). После этого курсор с «прикрепленной» к нему линией со стрелочкой надо позиционировать на значке того объекта, от которого должна начинаться связь, и, не отпуская левую клавишу мыши, протянуть связь до того объекта, на котором она должна оканчиваться.
После этого появится окно определения связи Define Relationship (рис. 2.51). В первой строке этого окна (Entity) указывается имя исходного объекта, от которого идет связь; в третьей строке с таким же названием (Entity) - имя объекта, к которому направлена связь. В окне Relationship обязательно должно быть указано имя связи в прямом направлении (в нашем примере это связь от объекта ГРУППА к объекту СТУДЕНТ и назвать ее можно, например, «включает» или «состоит»). В окне Inverse можно (но не обязательно) задать имя связи в обратном направлении (для нашего примера это может быть имя «учится»). Переключатель Separate Lines становится активным только в том случае, если имя обратной связи задано. Этот переключатель определяет только то, как на экране располагаются надписи прямой и обратной связи.
Для каждой связи должен быть определен тип связи (Relationship Туре) и кардинальное число (Relationship Cardinality).
Рис. 2.51. Вид окна описания связи между объектами
В Design/IDEF различают следующие типы связи:
-
Identifying (идентифицирующая);
-
Non-Identifying (неидентифицирующая);
-
Non-Specific (неспецифическая).
Идентифицирующая и неидентифицирующая связи представляют собой связи 1:М. Первая из них используется, если связь направлена к не зависимой по идентификации сущности (см. разд. 2.1.1), вторая - к зависимой. Неспецифическая связь представляет собой связь М:М между объектами. Она названа так потому, что реляционная модель не поддерживает связи М:М. В Design/IDEF неспецифические связи могут быть использованы на начальных этапах моделирования. Перед генерацией схемы базы данных ER-модель нужно преобразовать и заменить неспецифические связи специфическими путем введения дополнительных связующих объектов. Если этого не сделать, то схема БД будет не адекватна предметной области.
На рис. 2.52 изображены все возможные виды связи в Design/IDEF. Идентифицирующая (сплошная линия) и неидентифицирующая (пунктирная линия) связи отличаются не только видом линии, но и тем, куда мигрирует ключ исходной сущности: в первом случае он становится частью ключа «целевой» сущности, а во втором - неключевым атрибутом (но в том и в другом случае он является внешним ключом - FK).
Рис. 2.52. Виды связи в Desing/IDEF1X
На рис. 2.53 приведены примеры использования идентифицирующей и неидентифицирующей связи. Выбор варианта будет определяться тем, как обозначаются участки в конкретной предметной области. Если выбрана неидентифицирующя связь, то возможно задание дополнительной характеристики этой связи - разрешаются ли «пустые», неопределенные значения внешнего ключа (Null Allowed). На рис. 2.53 изображены ситуации и с разрешенными (рис. 2.53, б), и с запрещенными (рис. 2.53, а) Null-значениями. Но это сделано для того, чтобы показать, как графически различается изображение в каждой из этих ситуаций. Выбор Null Allowed означает, что возможно наличие участков, не приписанных ни к какому цеху, что в реальных предметных областях скорее всего недопустимо.
Если к сущности идет идентифицирующая связь, то сущность называется зависимой по идентификации. Такая сущность, как мы видим, изображается прямоугольником с закругленными углами. Ключ зависимой по идентификации сущности чаще всего бывает составным, одним из элементов которого является ключ исходного объекта (рис. 2.53, в). Идентифицирующую связь нельзя провести, если у исходного объекта не задан ключ. Знак зависимой по идентификации сущности нельзя внести в схему непосредственно; углы закругляются автоматически, при объявлении соответствующей связи.
Рис. 2.53. Примеры изображения связи между объектами:
а - неидентифицирующая (не разрешено «пустое» значение);
б - неидентифицирующая («пустое» значение разрешено);
в - идентифицирующая
Кроме указания типа связи для каждой связи задается кардинальное число (см. рис.2.51), указывающее количественные характеристики связи. В IDEF1X могут быть выражены следующие мощности связей:
-
каждый экземпляр сущности-родителя может иметь нуль, один или более одного связанного с ним экземпляра сущности-потомка (Zero, One or Many);
-
каждый экземпляр сущности-родителя должен иметь не более одного связанного с ним экземпляра сущности-потомка (Zero or One [Z]);
-
каждый экземпляр сущности-родителя должен иметь не менее одного связанного с ним экземпляра сущности-потомка (One or Many [P])
-
каждый экземпляр сущности-родителя связан с некоторым фиксированным числом экземпляров сущности-потомка (Exactly).
В последнем из рассмотренных случаев кроме того, что в него устанавливается переключатель, в окне следует указать число. Например, если набираются группы для обучения в компьютерных классах и занятия не начинаются, пока не наберется 10 человек, но и большее число учащихся недопустимо, то следует выбрать вариант Exactly и поставить число 10.
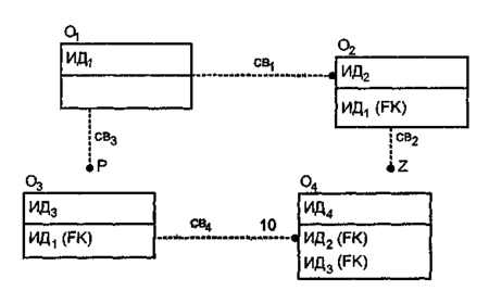
На рис. 2.54 приведены графические представления всех допустимых в IDEF1X типов мощности связи, на рис. 2.55 - примеры использования разной кардинальности связи.
Рис. 2.54. IDEF1X. Виды мощности связи:
cв1 - Zero, One or Many; св2 - Zero or One [Z];
св3 - One or Many [P]; св4 – Exactly
Рис. 2.55. Фрагмент ER-модели
(пример использования разной кардинальности связи)
Описание обобщенного объекта
В Design/IDEF нет специального графического значка для обозначения обобщенного объекта. Но возможность отображать обобщенные объекты есть. Для этого следует изобразить сначала родовую сущность. Для нее нужно указать все идентификаторы изображаемого объекта, общие атрибуты, присущие всем объектам класса, а также тот атрибут, по которому класс разбивается на подклассы (такой атрибут следует обозначить как дискриминатор). На рис. 2.56 показан вид экрана описания родовой сущности, а на рис. 2.57 - соответствующее ему графическое представление. Как видно из рис. 2.57, дискриминатор на схеме изображается окружностью с прилегающими к ней двумя параллельными линиями. При объявлении дискриминатора всегда первоначально появляется такой знак. Он означает полное разбиение класса на подклассы (т.е. каждый элемент класса обязательно относится к одному из выделенных подклассов). Если это не так, то нужно выделить значок дискриминатора, после чего воспользоваться переключателем «Полный-неполный дискриминатор» (шестая кнопка сверху в инструментальном меню) или позицией меню Create/Toggle Discriminator.
Рис. 2.56. Вид экрана описания родового объекта
Рис. 2.57. Графическое представление родового объекта
Далее необходимо изобразить сущности, соответствующие видовым объектам. При этом ключевые поля описывать не надо. В качестве атрибутов этих сущностей следует описывать те атрибуты, которые присущи именно этому подклассу (рис. 2.58). Затем нужно провести связи от значка дискриминатора к значкам видовых объектов, после чего схема примет вид, показанный на рис. 2.59. При этом ключи родового объекта автоматически мигрируют в видовые объекты, а значки видовых объектов станут иметь закругленные углы.
Рис. 2.58. Графическое представление видовых сущностей
(промежуточный этап)
Рис. 2.59. IDEF1X ERD. Пример изображения обобщенного объекта
Изображение обобщенного объекта может выглядеть по-разному (рис. 2.60). Если дискриминатор имеет вид окружности (рис. 2.60, а), подчеркнутой двойной линией, это означает, что подклассы в совокупности составляют полный класс. Если дискриминатор изображен в виде окружности (рис. 2.60, б), подчеркнутой одинарной линией, - значит, подклассы в совокупности не составляют полный класс. На рис. 2.60, в представлен вариант, показывающий возможность классификации сущностей по разным несоподчиненным признакам.
Рис. 2.60. Варианты изображения обобщенного объекта:
а - полный класс; б - неполный класс; в - классификация
по несоподчиненным признакам
На рис. 2.61 изображен пример обобщенного объекта, классифицированного по нескольким признакам.
Рис. 2.61. Пример изображения обобщенного объекта,
классифицированного по нескольким признакам
2.5.2. Методология построения ER-модели при использовании Design/IDEF
Построение ER-модели является центральным моментом проектирования автоматизированных информационных систем при использовании соответствующих технологий. Этот этап проектирования требует высокой квалификации исполнителей и оказывает существенное влияние на качество всех получаемых в результате проектных решений. Важность качественного ER-моделирования увеличивается еще и в связи с тем, что даже теоретически невозможно создать систему, позволяющую автоматически проверять правильность ER-модели в аспекте ее адекватности отображаемой предметной области.
В разд. 2.3.4 были изложены в общем виде рекомендации по построению ER-модели в зависимости от изобразительных средств и алгоритмов перехода от ER-модели к логической модели реляционной базы данных. Здесь эти рекомендации конкретизированы для системы Design/IDEF.
В Design/IDEF при преобразовании ER-модели в описание целевой базы данных каждому объекту ставится в соответствие таблица реляционной базы данных. Поэтому в отличие от базовой модели, в которой мы отображали все объекты предметной области, в Design/ IDEF нужно сначала определить не просто то, что будет храниться в базе данных, а с уточнением, что будет храниться в отдельной таблице, и с учетом этого строить модель. В качестве объектов ER-модели следует изображать только те сущности, которым будут соответствовать отдельные таблицы. Другой путь - сначала построить предварительную ER-модель, а потом ее преобразовать к варианту, который будет служить исходным для генерации схемы базы данных. Все атрибуты или сущности, соответствующие вычисляемым значениям, которые проектировщик не хочет хранить в базе данных, должны быть устранены из конечной ER-модели.
















