Диго С.М. Базы данных проектирование и использование (1084447), страница 23
Текст из файла (страница 23)
Если требуется провести индексацию по совокупности полей, т.е. создать составной индекс, то в Key Group Members нужно включить несколько полей (рис. 2.83).
Рис. 2.83. Создание составного индекса
В ERWin ключи (первичные и альтернативные) и индексирование можно задавать при описании логической модели, а можно - и при описании физической модели (см. разд. 3.4). При переключении между физической и логической моделью вновь введенные характеристики будут отображаться в обоих представлениях безотносительно к тому, в каком режиме они были введены.
Описание обобщенных объектов
В ERWin можно изображать обобщенные объекты. Для этого следует предварительно изобразить как родовой, так и видовые объекты. Далее нужно на панели элементов выбрать кнопку
после чего щелкнуть левой кнопкой мыши по родительской, а затем по видовой сущности. Для установления связи со следующим видовым объектом надо сначала щелкнуть левой кнопкой мыши на схеме по символу категории, а затем - по следующей видовой сущности.
На рис. 2.84 изображен фрагмент модели, на котором для сущности СОТРУДНИК выделены две категории: ШТАТНЫЕ и СОВМЕСТИТЕЛИ.
Рис. 2.84. Изображение обобщенного объекта
Обобщенный объект называют иерархией категорий. Различают полные (Complete sub-category) и неполные (Incomplete sub-category) категории. На панели элементов имеется только знак полной категории. Чтобы изменить знак категории, необходимо позиционироваться на нем, щелкнуть левой кнопкой мыши и в контекстном меню выбрать позицию Subtype Relationship. В появившемся окне (рис. 2.85) следует выбрать переключатель Incomplete.
Рис. 2.85. Редактор связи подтипов
Чтобы задать имя признака, по которому проведено деление класса на подклассы, соответствующий атрибут должен быть введен в описание родовой сущности. После этого во внутреннем окне Discriminator Attribute Choice окна редактирования связи подтипа следует позиционироваться на этот атрибут (рис. 2.86).
Рис. 2.86. Определение дискриминатора
После выполненных манипуляций фрагмент логической модели, отражающий обобщенный объект СОТРУДНИК, приобрел вид, изображенный на рис. 2.87.
Рис. 2.87. Изображение обобщенного объекта
с заданным именем дискриминатора
Задание связей между сущностями
Виды связей. Прежде чем задавать связь между сущностями, необходимо определить тип этой связи. В ERWin, как и в большинстве других систем, можно задавать только бинарные связи (связи между двумя сущностями). Могут быть заданы:
Для того чтобы задать связь, нужно выбрать соответствующую этой связи кнопку, после чего щелкнуть кнопкой мыши сначала на родительской, а потом - на дочерней сущности. При задании связи М:М направление связи значения не имеет.
Чтобы отредактировать свойства связи, следует, установив указатель мыши на линии связи, щелкнуть правой кнопкой мыши и в контекстном меню выбрать позицию Relationship Editor. В появившемся окне (рис. 2.88) следует выбрать подходящие для данной связи характеристики. Кроме выбора/изменения типа связи (идентифицирующая/неидентифицирующая) можно задать подходящее кардинальное число. Смысл каждого из возможных значений кардинальности понятен из их названий.
Рис. 2.88. Задание типа и кардинальности связи
Для обозначения типа связи в нотации ERWin/IDEF используются следующие обозначения: идентифицирующая связь изображается сплошной линией, неидентифицирующая - пунктирной. Множественный конец связи обозначается точкой, для единичного конца не используется никакого специального обозначения. Если при описании неидентифицирующей связи выбрана опция Null Allowed, то на соответствующем конце связи используется символ ромбика.
Для обозначения кардинального числа используются символы:
-
Р - один или много;
-
Z - нуль или один;
-
выбранное при описании связи число - Exactly.
По умолчанию символ, определяющий кардинальное число, не отображается на схеме. Для его отображения следует из контекстного меню включить соответствующую опцию (рис. 2.89).
Рис. 2.89. Опции отображения для связей
Примеры изображения связей. На рис. 2.90 отображено описание связи между объектами ПОДРАЗДЕЛЕНИЕ и СОТРУДНИК. В подразделении должен работать хотя бы один сотрудник; идентификатор сотрудника не зависит от идентификации подразделений; сотрудник обязательно приписан к какому-либо подразделению.
Если между объектами задана идентифицирующая связь, то блок Nulls является неактивным.
При соединении объектов идентифицирующей связью графическое представление целевой сущности автоматически изменяется (вместо прямоугольника используется фигура с закругленными углами; такая сущность называется зависимой по идентификации сущностью).
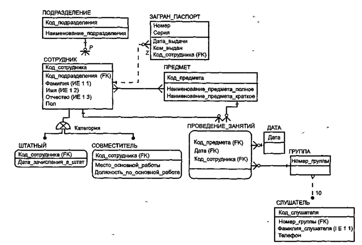
На рис. 2.91 изображен фрагмент ER-модели, включающий все допустимые типы связи и кардинальности. Связь между ГРУППОЙ и СЛУШАТЕЛЕМ означает, что занятия проводятся либо в группах численностью 10 человек, либо индивидуально. При задании связи между СОТРУДНИКОМ и ЗАГРАН_ПАСПОРТОМ предполагалось, что сотрудник может иметь только один загранпаспорт либо не иметь его вообще.
Рис. 2.90. Пример описания неидентифицирующей связи
Рис. 2.91. Фрагмент ER-модели. Виды связи
Задание имен связи. В ERWin, так же как и в нашей базовой модели, можно задавать, а можно и не задавать имена связи (Verb Phrase). Для того чтобы задать имя связи, необходимо войти в редактор связей (Relationship Editor) и на вкладке General в блоке Verb Phrase в окнах Parent-to-Child и Child-to-Parent задать имя связи в прямом или обратном направлении соответственно (рис. 2.92).
Рис. 2.92. Задание имен связи
Заданные при описании связи имена могут отображаться, а могут и не отображаться на экране. Для управления этим процессом можно воспользоваться позицией Display Options/Relationships (рис. 2.93).
Рис. 2.93. Опции отображения связи (выбрана позиция Verb Phrase)
На рис. 2.94 представлен фрагмент ER-модели с отображенными на ней именами связей.
Рис. 2.94. Отображение имени связи
Задание нескольких связей между парой сущностей. В ERWin возможно задание нескольких связей между парой объектов (рис. 2.95). По умолчанию в этом случае на схеме в подчиненной сущности появляется только один внешний ключ.
Рис. 2.95. Задание двух связей между сущностями (вариант по умолчанию)
Для того чтобы появились оба ключа, при описании связи на вкладке Rolename/RI Action (рис. 2.96) следует указать ролевые имена (Rolename).
Рис. 2.96. Задание ролевого имени связи
На рис. 2.97 представлен фрагмент модели после задания ролевых имен и с опциями отображения, отмеченными на рис. 2.98.
Рис. 2.97. Задание двух связей между сущностями
(с указанием ролевых имен)
Рис. 2.98. Опции просмотра сущности
Вид модели в нотации IE. Модель в нотации IDEF (рис. 2.99) в нотации IE имеет вид, представленный на рис. 2.100.
Идентифицирующая связь, так же как и в нотации IDEF1X, изображается в нотации IE сплошной линией, а неидентифицирующая -пунктирной.
Соответствие между условными обозначениями нотаций IDEF1X и IE отражено в табл. 2.4.
Уровни отображения логической модели. Модель можно отображать на экране с разной степенью детализации: только сущности (Entity), все атрибуты (Attribute), сущности и их первичные ключи (Primary Key), описания (Definition), иконки (Icon). Для выбора нужного уровня отображения можно воспользоваться контекстным меню (рис. 2.101).
Во всех предшествующих примерах при изображении модели использовался уровень Attribute. На рис. 2.102 показан вид модели при выборе уровня Entity.
При выборе уровня Definition внутри прямоугольника, отображающего сущность, пишется то определение, которое было в окне Definition при описании сущности (рис. 2.103).
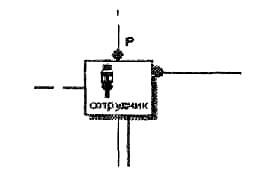
При использовании уровня иконок в прямоугольнике, соответствующем сущности, кроме названия сущности изображается специально подобранная иконка (рис. 2.104), что может повысить наглядность модели.
Рис. 2.99. ER-модель в нотации IDEF
Рис. 2.100. ER-модель в нотации IE
Таблица 2.4
Рис. 2.101. Выбор уровня отображения модели (Display Level)
Рис. 2.102. Уровень сущности
Рис. 2.103. Уровень описаний
Рис. 2.104. Уровень иконок
2.6.3. Особенности методологии
моделирования















