Лабораторный практикум (1084409), страница 2
Текст из файла (страница 2)
Измерить значения Uвых (Гн5, Гн6 – ┴) и записать в таблицу 3 бланка лабораторных работ.
-  
Исследовать форму выходного сигнала усилителя в зависимости от величины входного сигнала.
 
К выходным клеммам усилителя (Гн5, Гн6 – ┴) подсоединить осциллограф. Включить тумблер «сеть» и настроить осциллограф. Меняя величину входного напряжения, исследовать изменение формы выходного напряжения. Зарисовать на бланке (рис. 2 бланка) форму сигнала, наблюдаемого на экране осциллографа в линейном режиме работы усилителя (при отсутствии искажения формы выходного сигнала) и в нелинейном режиме (т.е. когда форма выходного сигнала искажается).
-  
Выключить стенд и приборы. Разобрать схему.
 
Порядок оформления
 По данным таблицы 1 на рис. 3 бланка построить 2 амплитудно-частотные характеристики усилителя, определить Δf для М = 
 .
 По данным таблицы 2 рассчитать коэффициент усиления первого каскада k1, второго каскада k2 и их произведение k = k1•k2 и сравнить с измеренным коэффициентом усиления усилителя k =
 .
По данным таблицы 3 на рис. 4 бланка построить 2 амплитудные характеристики усилителя. Выделить на них линейный участок.
На рис. 2 бланка зарисовать осциллограммы выходного сигнала усилителя в линейном и нелинейном режимах работы.
Литература
-  
Герасимов В.Г. и др. Основы промышленной электроники М.: - Высшая школа, 1986 г..
 -  
Забродин Ю.С. Промышленная электроника. М.: -Высшая школа, 1982 г..
 
Контрольные вопросы
-  
Какие элементы образуют усилительный каскад?
 -  
С какой целью применяются многокаскадные усилители?
 -  
Что такое коэффициент усиления?
 -  
Что такое амплитудная характеристика усилителя?
 -  
Что такое амплитудно-частотная характеристика?
 -  
Чему равен коэффициент усиления многокаскадного усилителя?
 -  
Как влияет ёмкость разделительного конденсатора на амплитудно-частотную характеристику?
 -  
Как влияет ёмкость конденсатора в цепи эмиттера на коэффициент усиления.
 -  
Что такое линейный и нелинейный режимы работы усилителя?
 -  
Что такое частотные и нелинейные искажения?
 
|   Студент  |    Группа  |    Выполнено  |  |||||
|   Курс  |    Сдано  |  ||||||
ЛАБОРАТОРНАЯ РАБОТА № 2
ИССЛЕДОВАНИЕ УСИЛИТЕЛЕЙ ниЗкой частоты с RC–связью
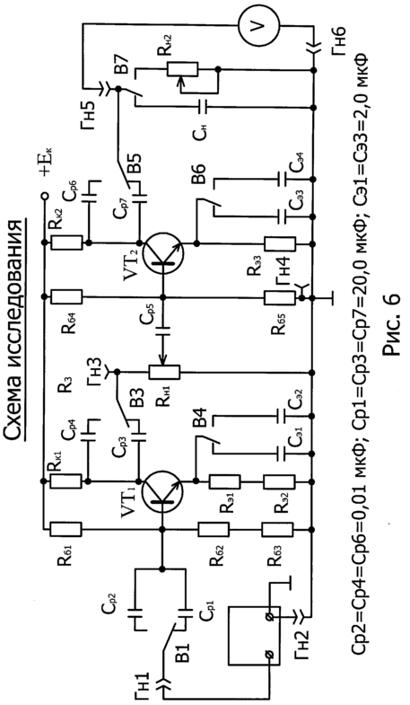
Принципиальная схема
 
 ОПЫТ 1
 Получение зависимость К=F(f)
Таблица 1
|   f, Гц  |    20  |    2•102  |    1•103  |    2•103  |    5•103  |    1•104  |    2•104  |    5•104  |    1•105  |    2•105  |  |
|   1  |    Ср4 = 20 мкФ  |  ||||||||||
|   2  |    Ср3 = 0,01мкФ  |  ||||||||||
 ОПЫТ 2
 Измерение выходного напряжения первого (Гн3, Гн4) и второго (Гн5, Гн6) каскадов
Таблица 2
Таблица 3
|   f=5кГц  |    Uвх1, мВ  |    1  |    5  |    10  |    15  |    20  |    25  |    30  |  
|   Uвых, В (х.х)  |  ||||||||
|   Uвых, В (Rн)  |  
Осциллограммы
Рис. 2
Амплитудно-частотная характеристика (по данным Таблицы 1)
Амплитудная характеристика (по данным Таблицы 3)
Рис. 4
|   Выводы по работе:  |  |
Лабораторная работа № 4
Исследование операционного усилителя
Цель работы: ознакомление с характеристиками операционного усилителя и применение его в качестве масштабного усилителя, избирательного усилителя и генератора.
Краткие теоретические сведения
Операционный усилитель (ОУ) — это усилитель с большим коэффициентом усиления (KU = 104...106) и входного сопротивления (Rвх = 104...109 Ом), имеющий непосредственные связями, применяемый в основном в качестве активного элемента в схемах с обратными связями. При достаточном коэффициенте усиления операционного усилителя по напряжению передаточная характеристика устройства вместе с цепями обратной связи может являться функцией только параметров цепей обратной связи, не зависящих от усилителя.
В настоящее время ОУ являются основой аналоговой техники и используются для преобразования электрических сигналов в широком диапазоне частот: от 0 до 105...107 Гц.
Современные ОУ выполняются в виде полупроводниковых интегральных микросхем. Принципиальные схемы интегральных ОУ содержат, как правило, несколько каскадов усиления напряжения, причём входной каскад всегда выполняется по дифференциальной схеме, а выходной – по схеме эмиттерного повторителя. Кроме того, схема содержит цепи согласования каскадов между собой и цепи защиты от перегрузок.
 
 ОУ имеет два входа – инвертирующий и неинвертирующий и один выход.
В данной работе исследуются ОУ на микросхеме К284УД1, цоколёвка и условное графическое изображение которой показаны на рис. 1.
Назначение выводов К284УД1:
1 – неинвертирующий вход; 13 – инвертирующий вход, 8 – выход; 10, 7 – «+» и «-» напряжения питания; 3, 11 – балансировка; 5 – частотная коррекция;, 15, 12 – «общий»; 2, 4, 14 – внешнее управление.
Основные электрические параметры микросхемы К284УД1:
|   KU  |    при f = 1000 Гц > 20000;  |  
|   Rвх  |    при f = 1000 Гц > 5 МОм;  |  
|   Rвых  |    при f = 1000 Гц < 200 Ом;  |  
На основе ОУ могут быть реализованы устройства, выполняющие самые различные операции, например, инвертирующий и неинвертирующий усилители, повторитель, избирательный усилитель, интегратор, дифференциатор, компаратор, генераторы импульсов различных форм и гармонических колебаний и многое другое. Выполнение ОУ указанных аналоговых операций осуществляется благодаря использованию различных внешних обратных связей (ОС), как положительных (ПОС), так и отрицательных (ООС).
В настоящей работе исследуются три схемы включения ОУ: инвертирующий усилитель, избирательный усилитель и автогенератор колебаний гармонической формы.
 
 На рис. 2 приведена принципиальная схема инвертирующего усилителя. Резисторы R1 и R2 передают часть выходного напряжения усилителя на его инвертирующий вход, образуя цепь отрицательной ОС по напряжению. Наличие цепи ООС приводит к уменьшению коэффициента усиления, но стабильность работы возрастает. Коэффициент усиления данного усилителя определяется по формуле KU = -R2/R1. Знак «-» говорит об инвертировании сигнала, KU не зависит от свойств ОУ и частоты сигнала, поэтому такой усилитель часто называют «масштабным».
Для создания на основе ОУ избирательного усилителя необходимо охватить его частотно-избирательной цепью ООС, коэффициент передачи которой β = Uос/Uвых в узкой полосе частот снижается практически до нуля.
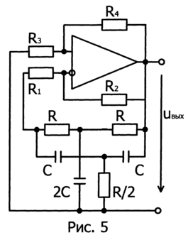
Широкое применение в таких усилителях низкой и средней частоты нашёл двойной Т-образный мост, схема и амплитудно-частотная характеристика (АЧХ) которого показаны на рис. 3.
 
 На очень низких частотах (f → 0), коэффициент передачи моста β → 1, так как сопротивления конденсаторов становятся очень большими и всё напряжение почти без потерь передаётся через «верхний» одинарный мост R-2C-R. На сравнительно высоких частотах сопротивления конденсаторов малы и всё напряжение передаётся через «нижний» одинарный мост C-R/2-C на выход, следовательно, и в этой области частот β → 1. На квазирезонансной частоте f0 =
 коэффициент передачи моста β → 0.
Схема избирательного усилителя с двойным Т-образным мостом в цепи ООС и его АЧХ приведены на рис. 4.
В данной схеме независящая от частоты цепь ООС R1-R2 определяет величину KUmax и стабилизирует работу усилителя. Цепь ООС с двойным Т-образным мостом обеспечивает избирательные свойства усилителя. При условии R1 « R обе цепи ОС практически независимы.
 
 Если частота входного сигнала близка к f0, то цепь ООС с двойным Т-образным мостом оказывается практически разорванной (β = 0), в схеме действует только ООС, созданная резисторами R1-R2, и коэффициент усиления достигает своего максимального значения KUmax = -R2/R1. На всех других частотах β цепи с мостом стремится к 1, поэтому в схеме действует глубокая ООС, что приводит к резкому уменьшению коэффициента усиления усилителя.
 
 Для создания генератора на основе ОУ необходимо существование положительной ОС (ПОС). В схеме генератора, приведённой на рис. 5, ПОС создаётся резисторами R3, R4.Поскольку данный автогенератор содержит частотно-избирательную цепь – двойной Т-образный мост, то условия самовозбуждения: баланс амплитуд kβ ≥ 1 и баланс фаз φус + φос = 0 (φус и φос – сдвиг фаз в усилителе и в цепи ОС соответственно) – будут выполняться только на одной – квазирезонансной – частоте f0.
Следовательно, возникающие колебания будут гармоническими.
Краткое описание применяемого оборудования
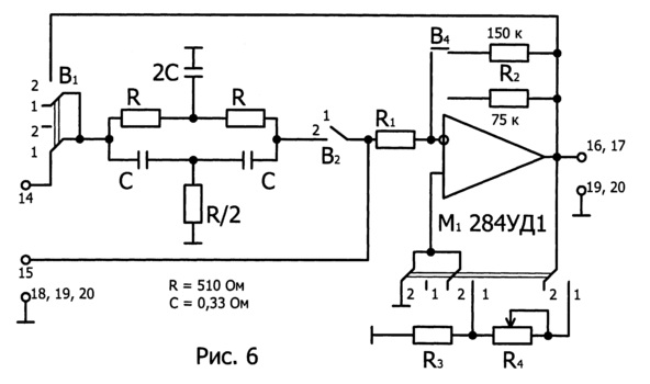
Лабораторная работа выполняется на лабораторном стенде, на передней панели которого изображена исследуемая схема (рис. 6).
 Исследуемая схема включает в себя операционный усилитель (ОУ) типа К284УД1, двойной Т-образный мост, выполненный на элементах R и С, а также резисторы R1 и R2 цепи ООС ОУ и резисторы R3 и R4 цепи ПОС ОУ. Переклю
 чения в различные режимы работы ОУ осуществляется переключателями В1, В2, В3, В4 и переменным резистором R4, помещённым на лицевую панель лабораторного стенда.
В3
В лабораторной работе используются следующие контрольно-измерительСтруктурная схема установки представлена на рис. 7.















