лаба 3 мис (1077155)
Текст из файла
М Г Т У им. Н.Э. Баумана.
Кафедра ЭВМ и С.
Исследование характеристик биполярных транзисторов.
Методические указания
к лабораторной работе по курсу «Микроэлектроника и схемотехника"
для студентов специальности 22.02 "Автоматизированные
системы обработки информации и управления".
Лабораторная работа №3
Исследование характеристик биполярных транзисторов.
МОСКВА 2003
ОГЛАВЛЕНИЕ
1. Теоретическая часть.
-
Принцип действия транзистора.
-
Модели биполярных транзисторов.
1.2.1. Т-образная модель биполярного транзистора для схемы ОБ.
1.2.2. Т-образная модель биполярного транзистора для схемы ОЭ.
1.2.3. Модель биполярного транзистора Эберса-Молла.
1.2.4. Модель биполярного транзистора Гуммеля-Пуна.
1.3. Н-параметра транзистора.
2. Задание. 10
Таблица 1 11
Приложение 1. Параметры биполярных транзисторов в EWB.
Приложение 2. Анализ схем по постоянному току в EWB.
П2.1. Построение ВАХ.
П2.2 Построение передаточных характеристик.
Список литературы.
Лабораторная работа №3.
Цель работы – исследование и построение вольтамперных (ВАХ) и определение h –параметров биполярных транзисторов.
Продолжительность работы – 2 академических часа.
-
Теоретическая часть.
Для расчета рабочей точки схемы на транзисторах необходимы ВАХ полупроводникового прибора. ВАХ можно взять из справочника по полупроводниковым приборам или построить их с помощью программы Electronics WorkBench. (EWB) Для определения рабочей точки необходимы две ВАХ – входная характеристика и выходная характеристика. Входная характеристика – зависимость тока базы
от напряжения база-эмиттер
при постоянном напряжении коллектор-эмиттер
и выходная характеристика – зависимость тока коллектора (
) от напряжения коллектор-эмиттер
при постоянном токе базы
.
-
Принцип действия транзистора.
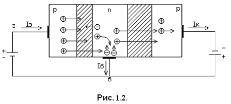
Транзистор имеет два взаимодействующих p-n перехода и три внешних вывода. В зависимости от типа проводимости центрального слоя различают p-n-p и n-p-n транзисторы. В данной работе будет использоваться p-n-p транзистор (рис. 1.1).
Переход, обычно смещенный в прямом направлении, называется эмиттерным, а соответствующий слой n – типа – эмиттером. Центральный слой называется базой. Второй p-n переход, смещенный в обратном направлении, называется коллектором.
В равновесном состоянии (напряжение смещения не подано) результирующие токи через переходы равны нулю. Приложим к эмиттерному переходу напряжение в прямом направлении. Высота потенциального барьера эмиттерного перехода понизится и возрастет диффузионный поток дырок из эмиттера в базу (потоком электронов из базы в эмиттер можно пренебречь т.к. он мал).
На коллекторный переход подается достаточно большое
отрицательное смещение, в результате чего потенциальный барьер у коллекторного перехода сильно возрастает. При этом диффузия дырок из коллектора в базу отсутствует. Ток коллектора образован потоком неосновных носителей заряда дырок из базовой области, pn и электронов из коллекторной области, np. (рис. 1.2).
У биполярного транзистора можно выделить четыре этапа переноса носителей заряда от эмиттера к коллектору:
-
инжекция электронов из эмиттера в базу;
-
диффузия и дрейф электронов в области базы;
-
рекомбинация электронов в области базы, в результате чего появляется ток базы;
-
экстракция электронов в области коллектора.
Если исключить инжекцию дырок в базу через эмиттерный переход (разомкнуть эмиттерную цепь, IЭ = 0), то через коллекторный p-n переход будет протекать только тепловой ток IKo . При IЭ > 0; дырки, инжектированные в базу из эмиттера, диффундируют по объему базы, и часть их достигает коллекторного перехода, электрическое поле которого является ускоряющим для дырок базовой области, и общий поток дырок через коллекторный переход возрастает.
Таким образом, величина тока протекающего через коллекторный переход зависит от величины тока протекающего через эмиттерный переход. Для того, чтобы большая часть инжектированных в базу дырок достигала коллекторного перехода, толщину базы W в транзисторе делают значительно меньше диффузионной длины свободного пробега дырок Lp, а площадь коллекторного перехода больше площади эмиттера. Однако часть дырок успевает рекомбинировать внутри базы, образуя ток базы:
Связь между приращениями эмиттерного и коллекторного токов характеризуется коэффициентом передачи тока:
Так выглядит в основных чертах механизм управления коллекторным током с помощью тока через эмиттерный переход. Но в транзисторе наблюдается и обратное явление : влияние коллекторного напряжения на напряжение эмиттерного перехода.
Это влияние называется обратной связью по напряжению и учитывается с помощью коэффициента обратной связи по напряжению
Обратная связь по напряжению возникает из – за эффекта модуляции толщины базы, причина которого состоит в том, что при увеличении коллекторного напряжения расширяется коллекторный переход, сосредоточенный в области базы, а следовательно уменьшается толщина базы.
Изменение толщины влияет на распределение дырок вдоль базы, вызывая увеличение концентрации дырок у эмиттерного перехода, что равносильно увеличению напряжения смещения на нем.
Эффект модуляции толщины базы приводит к увеличению выходной проводимости и изменению коэффициента передачи эмиттерного тока.
Различают три схемы включения транзистора с общей базой (ОБ), с общим эмиттером (ОЭ) и с общим коллектором (ОК). (рис. 1.3)
Характеристики и параметры для разных схем включения различны. Наибольшее распространение получили усилители с общим эмиттером и с общей базой.
При включении с ОБ входным параметром является ток эмиттера, а выходным ток коллектора.
где IKo - тепловой ток коллекторного перехода при IЭ = 0,
-
- коэффициент передачи по току схеме с ОБ.
Семейство коллекторных (входных) характеристик транзистора IK=f (UK) при IЭ=const представлены на рис. 1.4.
На характеристиках видны два резко различных режима работы транзистора : активный режим, соответствующий UK<0 и режим насыщения при UK>0 (второй квадрант). Активный режим описывается уравнением (1.3.1), из которого видно, что коллекторный ток не зависит от напряжения.
Семейство входных характеристик с ОБ описывается уравнением (2) представлено на рисунке 1.5.
IЭо - тепловой ток эмиттерного перехода при IK=0;
- коэффициенты передачи эмиттерного тока соответственно при нормальном и инверсном включении транзистора, т.е., когда эмиттерный переход смещен в обратном, а коллекторный в прямом направлении.
Семейство входных характеристик располагается довольно плотным “пучком” и смещается очень незначительно с ростом UK.
Для схемы с общим эмиттером (рис.1.3,б) входным параметром является ток базы. Выходное напряжение UKЭ складывается из напряжений на обоих p-n-переходах и, следовательно, при одном и том же токе будет больше, чем в схеме ОБ на величину UЭБ .
В связи с этим характеристики схемы с ОЭ отличаются от характеристик схемы с ОБ в следующем :
-
Кривые коллекторного семейства (рис. 1.6) не пересекают ось координат и полностью расположены в первом квадранте , сдвигаясь по оси напряжений на величину UЭБ .
-
Кривые выходных характеристик имеют гораздо больший наклон и заметно сгущаются при больших токах базы.
-
Ток IKo* при оборванной базе (IБ=0) на много больше тока IKo при оборванном эмиттере (IЭ=0) и зависит от выходного напряжения.
-
Входной ток IБ может иметь не только положительную, но и небольшую отрицательную величину (-IKo).
На рисунке 1.7 представлены входные характеристики транзистора по схеме с ОЭ.
В отличие от характеристик с ОБ, входные характеристики в схеме с ОЭ сдвинуты вниз на величину IKo. Кроме того, они более линейны, чем при включении с ОБ. ВС ростом коллекторного напряжения кривые сдвигаются в сторону больших напряжений.
Аналитическое выражение для входных вольт – амперных характеристик схемы ОЭ легко получить из уравнений (1) и (3).
Но
, где
- коэффициент передачи тока базы в схеме ОЭ, тогда:
Минимальное значение коллекторного тока
получается при
Характеристики
Тип файла документ
Документы такого типа открываются такими программами, как Microsoft Office Word на компьютерах Windows, Apple Pages на компьютерах Mac, Open Office - бесплатная альтернатива на различных платформах, в том числе Linux. Наиболее простым и современным решением будут Google документы, так как открываются онлайн без скачивания прямо в браузере на любой платформе. Существуют российские качественные аналоги, например от Яндекса.
Будьте внимательны на мобильных устройствах, так как там используются упрощённый функционал даже в официальном приложении от Microsoft, поэтому для просмотра скачивайте PDF-версию. А если нужно редактировать файл, то используйте оригинальный файл.
Файлы такого типа обычно разбиты на страницы, а текст может быть форматированным (жирный, курсив, выбор шрифта, таблицы и т.п.), а также в него можно добавлять изображения. Формат идеально подходит для рефератов, докладов и РПЗ курсовых проектов, которые необходимо распечатать. Кстати перед печатью также сохраняйте файл в PDF, так как принтер может начудить со шрифтами.
















