Ответы асоиу (1076662)
Текст из файла
Черненькая Ирина ИУ5-31
Вопрос №13: АИС как предприятие информационного типа: виды сырья и конечные продукты.
Атрибутом любого предприятия является технология преобразования исходного сырья в конечный продукт: технологии обработки, изменения состояния, изготовления, свойств, формы, сырья, материала или полуфабриката осуществляемых в процессе производства продукции.
Особенностью любого производства является длительный производственный процесс (непрерывный или дискретный), конечный продукт, обладающий потребительскими свойствами, обеспечивающими удовлетворение личных, общественных или производственных потребностей, и наличие технологии получения конечного продукта из исходного сырья.
Рассмотрим простую блок-схему простой АИС:
ТОИ АИС – технология обработки информации
Из нее видно, что АИС получает в качестве сырья сведения, а после прохождения технологии обработки получают конечный продукт – информацию.
Сведения – часть знаний, критерий истинности которых не одинаков у различных участников познавательного процесса.
Информация – переработанные сведения, пригодные для удовлетворения информационных потребностей пользователя.
Из вышесказанного вытекает, что АИС является предприятием информационного типа, со своим видом сырья и конечным продуктом.
______________
Черненькая Ирина ИУ5-31
Вопрос №14: Технология обработки информации. Определение, виды преобразований в информационной системе.
Обработка информации – (в информатике) любое преобразование информации из одного вида в другой, производимое по строгим формальным правилам.
Технологический процесс обработки информации - совокупность взаимосвязанных ручных и машинных операций по обработке информации на всех этапах ее прохождения с целью получения результатов обработки в форме, удобной для восприятия.
Существует 3 вида элементарных преобразования информации:
- Изменение места положения (М)
- Изменение формы (Ф)
- Изменение содержания (С)
А так же существуют их различные комбинации: МUФ, МUC, СUФ, MUФUС.
______________
Черненькая Ирина ИУ5-31
Вопрос №15: Декомпозиция КСА (комплексы, обеспечения, устройства (добавить собственное)). Структурный граф АИС. Множество альтернатив выбора.
Комплексы:
АПК – аппаратно-программный комплекс
ИАК – информационно-алгоритмический комплекс
КЧФ – комплекс человеческого фактора
АСК – архитектурно-строительный комплекс
САК – служебно-административный комплекс
ЭМК – экспериментально-моделирующий комплекс
ИТК – инструментально-технологический комплекс
УПК – учебно-подготовительный комплекс
Обеспечения:
ТО – техническое обеспечение
ПО – программное обеспечение
МО – математическое обеспечение
АО – алгоритмическое обеспечение
ИО – информационное обеспечение
ОО – организационное обеспечение
КО – кадровое обеспечение
ЭО – эргономическое обеспечение
ПсО – психологическое обеспечение
СО – строительное обеспечение
ИтО –инженерно-техническое обеспечение
РО – руководительское обеспечение
СтО – служебно-техническое обеспечение
МеО – методическое обеспечение
ТеО – техническое обеспечение
ИтК – инструментальное обеспечение
МтО – методическое обеспечение
ИуО – инструментальное обеспечение
МуО – методическое обеспечение
Устройства:
ЭВМ – электронно-вычислительные машины
СУТ – системы управления телеобработки
СУБД – системы управления базами данных
СУВП – системы управления вычислительными процессами
СУЗ – системы управления защитой
СПО – специальное программное обеспечение
СеО – сетевое обеспечение
УтО – устройства отображения
БП – библиотека программ
Элементы:
ПЭВМ – персональные электронно-вычислительные машины
БЭВМ – большие электронно-вычислительные машины
Мс – мосты
Мр – маршрутизаторы
ТБ – табло
ИС – информационная схема
Множество выбора альтернатив – это множество элементов, из которых разработчики выбирают конкретные для создаваемой системы.
Черненькая Ирина ИУ5-31
Вопрос №16:«Функциональная схема АИС
Функциональная схема – упорядоченное множество функций, реализуемых в системе, и связи между ними.
Функциональная схема АИС
Обозначения:
- эллиптическая связь
- транспортная связь
П = {П1,…,П12}
П1 – ввод сведений в виде сообщений на оконечных пунктах абонентов
П2 – ввод принятых сообщений в систему на оконечных пунктах абонентов
П3 – передача сообщений посредствам системы или сети связей
П4 – приём сообщений на вычислительном центре
П5 – загрузка сообщений в БД, их накопление, обновление
П6 – решение задач (функциональных или технологических)
П7 – редактирование и форматирование: приведение входных сообщений к виду, удобному для восприятия человеком
П8 – доставка информации как конечного продукта в виде соответствующих сообщений на рабочие места пользователей системы
П9 – контроль над функционированием системы по определённым параметрам
П10 – управление системой – перевод её из текущего состояния в требуемое
П11 – защита системы от внешних воздействий и сохранность информации в ней, включая исключение возможного уничтожения и искажения информации, а так же исключение несанкционированного доступа к ней
П12 – восполнение вырабатываемых ресурсов системы
Функции П4-П7 – основные производственные, а функции П9-П12 – обеспечивающие.
Черненькая Ирина ИУ5-31
Вопрос №17: Декомпозиция основной производственной функции АИС. Функциональный граф АИС
Декомпозиция основной производственной функции АИС
Обозначения:
П = {П1,…,П12}
П1 – ввод сведений в виде сообщений на оконечных пунктах абонентов
П2 – ввод принятых сообщений в систему на оконечных пунктах абонентов
П3 – передача сообщений посредствам системы или сети связей
П4 – приём сообщений на вычислительном центре
П5 – загрузка сообщений в БД, их накопление, обновление
П6 – решение задач (функциональных или технологических)
П7 – редактирование и форматирование: приведение входных сообщений к виду, удобному для восприятия человеком
П8 – доставка информации как конечного продукта в виде соответствующих сообщений на рабочие места пользователей системы
П9 – контроль над функционированием системы по определённым параметрам
П10 – управление системой – перевод её из текущего состояния в требуемое
П11 – защита системы от внешних воздействий и сохранность информации в ней, включая исключение возможного уничтожения и искажения информации, а так же исключение несанкционированного доступа к ней
П12 – восполнение вырабатываемых ресурсов системы
Ф21 – принять сообщение;
Ф22 – зарегистрировать;
Ф23 – упорядочить;
Ф24 – набрать на клавиатуре;
З221 – произвести запись в регистрационном журнале
З222 – квитировать
О2221 – заполнить шаблон квитанций
О2222 – вручить абоненту
Черненькая Ирина ИУ5-31
Вопрос №18: Функционально-структурный граф АИС.
Функционально-структурный граф АИС – графовая модель АИС как объекта управления. При этом следует отметить, что функционально-структурный граф будет строится путем объединения функционального графа АИС и структурного графа КСА АИС.
К
аждой вершине функционального графа на уровне операций необходимо подвесить структурный граф.
где 1 – Структурный граф КСА АИС, а именно:
______________
Черненькая Ирина ИУ5-31
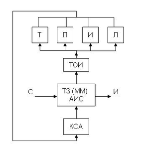
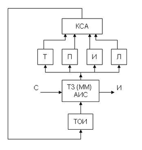
Вопрос №19: Технократический и технологический подходы к созданию АИС: преимущества и недостатки
Технократический подход Технологический подход
Обозначения:
ММ – морфологическая модель;
Т – технология;
П – персонал;
И – информация;
Л – люди.
Технократический подход:
-
плюсы: такой подход позволяет создать систему в кратчайшие сроки с минимальной стоимостью
-
минусы: созданная система не может обладать максимальной эффективностью
Технократический подход используется в системах общего применения ( например, ГАС «Контур» и ГАС «Выборы»)
Технологический подход:
-
плюсы: имеется возможность создать систему с максимальной эффективностью
-
минус: время создания системы увеличивается и растёт стоимость системы
Такой подход используется для специализированных систем (например, орбитальная станция)
_____________
Черненькая Ирина ИУ5-31
Вопрос №20: Жизненный цикл простой системы. Краткая характеристика стадий
Жизненный цикл системы – логически упорядоченная последовательность отдельных стадий от момента возникновения необходимости создания системы до момента уничтожения.
Жизненный цикл простой системы.
Обозначения:
- система физически и морально выработала свои ресурсы
- исходный пункт, момент
З, И - стадия заказа, идеи
НИОКР – научно-исследовательские и опытно-конструкторские разработки
ТЭО – технико-экономическое обоснование
ТПр – техническое приложение
ТЗ – разработка технического задания
ЭП – стадия эскизного проектирования (анализ вариантов создания продукта)
ТП – техническое проектирование (результат – технический проект)
РП – рабочее проектирование
МН – монтаж и отладка
И – испытания:
-
автономные (отдельных узлов системы)
-
системные (всё объединяется и доказывается работоспособность системы)
-
испытания главного конструктора
-
государственные (создаётся государственная комиссия, и она решает: пригодна ли система для эксплуатации)
ОЭ – опытная эксплуатация
ПЭ – промышленная эксплуатация
М - модернизация
Каждая стадия заканчивается докладом, который одобряется заказчиком.
Рассматриваемая схема – теоретическая модель в том смысле, что для реальных систем допустимо совмещение нескольких стадий в одну.
Характеристики
Тип файла документ
Документы такого типа открываются такими программами, как Microsoft Office Word на компьютерах Windows, Apple Pages на компьютерах Mac, Open Office - бесплатная альтернатива на различных платформах, в том числе Linux. Наиболее простым и современным решением будут Google документы, так как открываются онлайн без скачивания прямо в браузере на любой платформе. Существуют российские качественные аналоги, например от Яндекса.
Будьте внимательны на мобильных устройствах, так как там используются упрощённый функционал даже в официальном приложении от Microsoft, поэтому для просмотра скачивайте PDF-версию. А если нужно редактировать файл, то используйте оригинальный файл.
Файлы такого типа обычно разбиты на страницы, а текст может быть форматированным (жирный, курсив, выбор шрифта, таблицы и т.п.), а также в него можно добавлять изображения. Формат идеально подходит для рефератов, докладов и РПЗ курсовых проектов, которые необходимо распечатать. Кстати перед печатью также сохраняйте файл в PDF, так как принтер может начудить со шрифтами.
















