Электротехника Лекции (1065050), страница 14
Текст из файла (страница 14)
Решение:
-
S0=S3, имеем В3=В0, тогда поток Ф3=В3S3=В0 S0
-
По кривой намагничивания определим напряженность Н3
-
В4=Ф3 / S4 и по кривой намагничивания определим Н4
-
Напряженность поля в зазоре Н0=В0/m0
-
Из уравнения 1.12 определим напряженность Н2 и по кривой намагничивания находим В2 и поток Ф2=В2S2
-
Из уравнения 1.10 определяется поток Ф1=Ф3 – Ф2
-
Находим индукцию В1=Ф1/ S1 и далее Н1 – по кривой намагничивания
2.Решение обратной задачи.
2.1 Неразветвленная магнитная цепь (рис. 1.8)
Рис. 1.8
Задано значение МДС w×I, требуется определить магнитный поток Ф. Если известно, что магнитная цепь устройства в рабочих режимах не насыщена и можно считать магнитную проницаемость ферромагнитных участков 2.1.1. Задаются рядом значений потока Ф (Ф’, Ф’’ и т.д.), по которым к
аждый раз определяется МДС wI (wI’, wI’’ и т.д. ), т.е. несколько раз решается прямая задача.
2.1.2. Строится вспомогательная магнитная характеристика Ф(wI) рис. 1.13.
2.1.3. Используя построенную характеристику, по заданному значению МДС wIзадан. определяем искомое значение потока Фиск.
Примечание: учитывая, что для расчета нужна только часть характеристики в окрестности Фиск, рекомендуется вначале найти приближенное значение Фиск с помощью уравнения
(т. к. Н0 >> H1 , Н2 и Н3),
из которого определяется напряженность поля в зазоре Н0 и далее – В0 = m0S0 и приближенное значение потока Фиск=В0S0 , и далее выполняются 2.1.1 – 2.1.3 пункты расчета.
2.2. Разветвленная несимметричная магнитная цепь (рис. 1.14).
По заданному значению МДС w×I определить магнитные потоки Ф1 , Ф3 , Ф2 .
Магнитные сопротивления отдельных участков магнитопровода в общем случае нелинейные из–за нелинейной зависимости между магнитными потоками и током намагничивающей обмотки Ф(I).
Рис. 1.14
При решении задачи удобнее использовать схему замещения (рис. 1.15) магнитной цепи (рис. 1.14), подобную схеме нелинейной электрической цепи постоянного тока с той разницей, что ЭДС заменена на МДС w×I, токи в ветвях электрической цепи – потоками Ф1, Ф2 , Ф3 в ветвях магнитной цепи, нелинейные сопротивления R(I) – магнитными сопротивлениями RM(Ф).
Выделим ветвь с МДС w×I в активный двухполюсник. Второй двухполюсник, в составе которого две параллельные ветви с нелинейными магнитными сопротивлениями RM1 и RM3 – пассивный (рис 1.16).
Задача решается графоаналитическим методом.
Рис. 1.15
Вебер-амперная характеристика активного двухполюсника строится в соответствии с уравнением второго закона Кирхгофа для магнитной цепи:
Рис. 1.16
Для ее построения задаемся рядом значений потока Ф2 , определяем ряд значений индукции
Чтобы получить вебер-амперную характеристику пассивного двухполюсника, нужно сначала построить характеристики Ф1(UabM) и Ф3(UabM) по описанной выше методике с использованием зависимостей:
Так как ветви с потоками Ф1 , Ф3 соединены между собой параллельно и
, то для построения характеристики пассивного двухполюсника Ф1(UabM)+ Ф3(UabM) складываем ординаты характеристик ветвей при одних и тех же значениях UabM.
Поскольку двухполюсники соединены последовательно (рис. 1.16), то точка пересечения их вебер – амперных характеристик определит общий для обоих магнитный поток Ф2 и магнитное напряжение UabM.
Располагая значением UabM и вебер – амперными характеристиками Ф1(UabM) и Ф3(UabM) определяем по рис. 1.17 значения потоков Ф1 и Ф3.
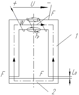
6.4.Расчет силы притяжения электромагнита.
Электромагниты в технических устройствах применяются для подъема г
рузов, переключения контактов реле магнитных пускателей, вентилей гидравлических систем, растормаживания механических тормозов и т. д.
На рис. 1.18 представлена схема магнитной цепи электромагнита.
I
Подвижная часть (якорь – 2, рис. 1.18) магнитопровода электромагнита отделена от его неподвижной части 1 рис. 1.18 воздушным зазором. При подключении намагничивающей обмотки к источнику электрической энергии возбуждается магнитное поле, возникает электромагнитная сила, действующая на якорь, и он, преодолевая силу тяжести, действие пружин и т. п., притягивается к неподвижной части магнитопровода.
Расчет силы притяжения электромагнита часто проводится приближенно, исходя из следующих соображений:
1. Ток I в обмотке имеет установившееся значение.
2. Сердечник 1 и якорь 2 не насыщены.
3. Потоком рассеяния Фр и выпучиванием магнитного поля в зазорах пренебрегают.
4. При изменении воздушного зазора на dl0 магнитная индукция В0 остается постоянной.
В таком случае можно считать, что механическая работа по перемещению якоря в направлении действия сил F на расстояние dl0 равна изменению энергии магнитного поля в воздушных зазорах, вследствие уменьшения их объемов.
С учетом двух воздушных зазоров имеем:
энергия магнитного поля в двух зазорах длиной dl0, где
– плотность электромагнитной энергии (энергия в единице объема зазора), S0 – площадь одного воздушного зазора. Приравняв dWмех и dWэм, получим расчетную формулу силы притягивания электромагнита
6.5.Об индуктивности намагничивающей обмотки.
Если катушка не имеет ферромагнитного сердечника, то зависимость потокосцепления y от тока катушки I линейная и индуктивность катушки
. Здесь индуктивность, как коэффициент пропорциональности между потокосцеплением и током катушки, является линейным параметром катушки. То же замечание относится и к намагничивающим обмоткам с ненасыщенным магнитопроводом (
).
Если поток Ф сцепляется со всеми w витками катушки (обмотки), то потокосцепление
, где
, тогда индуктивность
Здесь
– магнитное сопротивление на пути магнитного потока.
Абсолютная магнитная проницаемость ненасыщенных ферромагнитных материалов mа >> m0 – магнитной проницаемости вакуума (4p×10-7 Гн/м). Поэтому размещение намагничивающей обмотки на ферромагнитном магнитопроводе резко увеличивает индуктивность катушки.
Физически последнее утверждение объясняется способностью ферромагнетиков усиливать внешнее магнитное поле, созданное током обмотки, за счет ориентации по направлению поля собственных областей самопроизвольного намагничивания. Эта ориентация выражена тем четче, чем больше ток обмотки. Когда все области самопроизвольного намагничивания ориентируются в направлении внешнего поля, наступает магнитное насыщение магнитопровода, его магнитная проницаемость и индуктивность обмотки резко снижаются, магнитопровод перестает выполнять функцию локализации магнитного поля.
В общем случае, когда приходится считаться с тем что
, используется понятие дифференциальной индуктивности
(индуктивность L становится нелинейным параметром обмотки).
Индуктивность, как элемент схемы замещения реальной электрической цепи, дает возможность учитывать при расчетах явление самоидукции (при переменных токах катушки) и явление накопления энергии в магнитном поле катушки.
Глава 7
Электрические измерения и приборы
В современных условиях контроль за технологическими процессами, потреблением электрической энергии, режимом работы электрооборудования, измерением неэлектрических величин осуществляется с помощью электроизмерительных приборов. Эти приборы измеряют ток, напряжение, мощность, cos(j) , частоту, электрическую энергию и т.д.
Различают электроизмерительные приборы непосредственной оценки и приборы сравнения.
7.1. Системы электроизмерительных приборов непосредственной оценки.
Электрические измерения существенно упрощаются при использовании приборов непосредственной оценки (прямого отсчета), показывающих численное значение измеряемой величины по их отсчетному устройству (по положению стрелки на шкале или по цифровому отсчетному устройству). Электроизмерительный прибор этого типа независимо от назначения и принципа действия включает в себя измерительную цепь, измерительный механизм и отсчетное устройство.
Измерительная цепь служит для преобразования измеряемой электрической величины в величину, непосредственно воздействующую на измерительный механизм. Измерительный механизм преобразует электрическую величину в угол поворота подвижной части отсчетного устройства, служащего для визуального представления значений измеряемой величины в зависимости от угла поворота подвижной части.
В простейшем приборе, например в амперметре, катушка его включается последовательно в ветвь электрической цепи, где необходимо измерить ток. В более сложных приборах измерительные цепи содержат кроме катушек конденсаторы, резисторы и т.п.















