montazh_v_korpus2 (1063192)
Текст из файла
Установка кристаллов в корпуса
Методы:
-
монтаж с использованием эвтектических сплавов
-
монтаж приклеиванием
-
монтаж с использованием пайки стеклом
-
монтаж с использованием клеев и компаундов
Пайка эвтектическими сплавами
В отличие от контактно-реактивной пайки эвтектический сплав образуется не в результате контактного плавления соединяемых материалов, а вводится в качестве припоя между соединяемыми поверхностями кристалла и корпуса.
Пайкой эвтектическими сплавами присоединяют полупроводниковые кристаллы к корпусам. Золочение контактирующих поверхностей каких-либо ощутимых результатов не дает. В качестве эвтектических используют сплавы золото - германий или золото — кремний,
Подготовленные к пайке детали нагревают в нейтральной атмосфере (осушенном и очищенном азоте) до температуры, несколько превышающей температуру плавления эвтектического сплава. Эвтектические сплавы золото — германий и золото — кремний содержат (по массе): первый 12 % германия и 88 % золота, а второй - 6 % кремния и 94 % золота. Температура плавления эвтектик золото - германий и золото - кремний, соответственно равная 356 и 370 °С, ниже температуры плавления каждого из этих материалов. Эвтектические сплавы являются смесью, а не химическим соединением.
а, б - захват и укладка прокладки, в, г - захват и укладка кристалла на прокладку и их пайка; 1 - прокладки, 2 -инструмент (вакуумный пинцет), 3 -корпус, 4 - нагреватель, 5 - устройство прижима корпуса к нагревателю, б –кристаллы
Достоинства:
-невысокая температура плавления
-хорошая жидкотекучесть
-хорошее смачивание
-отсутствие механических напряжений в паяном соединении
Монтаж с использованием клеев
Монтаж кристаллов приклеиванием обычно применяют при изготовлении полупроводниковых приборов и ИМС общего назначения, так как он довольно прост, экономичен, не требует сложного технологического оборудования и позволяет получать соединения из различных материалов, обладающие заданными характеристиками.
Достоинства:
-простота
-экономичность
-не требует дорого оборудования
В качестве клеев используют пластмассы - эпоксидные смолы, которые обеспечивают достаточную механическую прочность и надежность соединений и имеют низкую температуру отверждения, что исключает ухудшение параметров полупроводниковых приборов и ИМС вследствие перегрева кристаллов.
В зависимости от свойств пластмассы подразделяют на диэлектрические, теплопроводящие и оптические. Пластмассы без наполнителей являются диэлектриками. Если добавить в пластмассу серебряный порошок в количестве от 60 до 80 % по массе, она становится электропроводной и одновременно значительно возрастает ее теплопроводность, так как серебро является отличным проводником электрического тока и теплоты.
При монтаже кристаллов клей наносят либо на их обратную сторону, либо на корпус автоматически небольшими каплями или штемпелем. Иногда применяют таблетки из пластмассы.
Для" монтажа кристаллов оптоэлектронных приборов (фотодиодов, фототранзисторов, цифровых индикаторов и др.) требуются пластмассы, не содержащие наполнителей, обладающие высокой прозрачностью в диапазоне длин волн 300—700 нм, не изменяющейся в течение длительного времени эксплуатации, малой вязкостью (400-3000 сП) и отверждающиеся при 90— 125 °С в течение 4-24 ч.
Приведем для примера несколько марок клеев, используемых при монтаже кристаллов в корпуса. Так, клеиУП-5-201 и УП-5-201Э созданы на основе эпоксидной смолы, модифицированы циклоалифатическими соединениями и соответственно являются токопроводящими и изолирующими. Клей ЭЧЭ-С изготавливается из эпоксидной смолы с серебряным наполнителем и является токопроводящим. Клей УП-5-207М аналогичен по составу клею УП-5-201Э и предназначен для соединения позолоченных контактных площадок корпусов и кристаллов.
Пайка стеклом
Монтаж кристаллов пайкой стеклом применяют при массовом производстве маломощных однокристальных полупроводниковых приборов, в которых не требуется электрический контакт между нижней поверхностью кристалла и корпусом. Стекло в виде пасты обычно наносят методом трафаретной печати или напылением на место монтажа в корпуса,, размягчают нагревая и укладывают кристалл, охлаждая затем, корпус до
комнатной температуры.
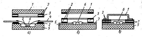
Корпуса ИМС, в которых пайкой стеклом выполняется монтаж кристалла, присоединение выводов и- герметизация (д), изоляция проводящих слоев и герметизация (б), изоляция токоведущих дорожек и герметизация (в):
1. - крышка, 2 - стеклянный припой, 3 - рамка, 4 - вывод, 5 - основание, 6 - кристалл, 7 - слой металлизации
Характеристики
Тип файла документ
Документы такого типа открываются такими программами, как Microsoft Office Word на компьютерах Windows, Apple Pages на компьютерах Mac, Open Office - бесплатная альтернатива на различных платформах, в том числе Linux. Наиболее простым и современным решением будут Google документы, так как открываются онлайн без скачивания прямо в браузере на любой платформе. Существуют российские качественные аналоги, например от Яндекса.
Будьте внимательны на мобильных устройствах, так как там используются упрощённый функционал даже в официальном приложении от Microsoft, поэтому для просмотра скачивайте PDF-версию. А если нужно редактировать файл, то используйте оригинальный файл.
Файлы такого типа обычно разбиты на страницы, а текст может быть форматированным (жирный, курсив, выбор шрифта, таблицы и т.п.), а также в него можно добавлять изображения. Формат идеально подходит для рефератов, докладов и РПЗ курсовых проектов, которые необходимо распечатать. Кстати перед печатью также сохраняйте файл в PDF, так как принтер может начудить со шрифтами.
















