montazh_v_korpus1 (1063190)
Текст из файла
Установка кристаллов в корпуса
Методы:
-
монтаж с использованием эвтектических сплавов
-
монтаж приклеиванием
-
монтаж с использованием пайки стеклом
-
монтаж с использованием клеев и компаундов
Пайка эвтектическими сплавами
Пайкой эвтектическими сплавами присоединяют полупроводниковые кристаллы к корпусам. Золочение контактирующих поверхностей каких-либо ощутимых результатов не дает. В качестве эвтектических используют сплавы золото - германий или золото — кремний, диаграммы состояния, которых показаны на рисунке 1, а, б.
Рисунок 1. Диаграммы состояния сплавов;
a - золото-германий, б- золото-кремний
Подготовленные к пайке детали нагревают в нейтральной атмосфере (осушенном и очищенном азоте) до температуры, несколько превышающей температуру плавления эвтектического сплава.
Состав сплавов:
Au-Ge Au-88% Ge-12% Tпл = 356 С
Au-Si Au-94% Si-6$ Tпл = 370 С
Схема процесса
а - захват эвтектической прокладки
б - укладка продкалдки
в - захват кристалла
г - укладка кристалла
1 - прокладка
2 - вакуумный пинцет
3 - корпус
4 - нагреватель
5 - устройство прижима
Достоинства:
-
невысокая температура плавления
-
хорошая жидкотекучесть
-
хорошее смачивание
-
отсутствие механических напряжений в паяном соединении
Монтаж с использованием клеев
Монтаж кристаллов приклеиванием обычно применяют при изготовлении полупроводниковых приборов и ИМС общего назначения, так как он довольно прост, экономичен, не требует сложного технологического оборудования и позволяет получать соединения из различных материалов, обладающие заданными характеристиками.
Достоинства:
-
простота
-
экономичность
-
не требует дорого оборудования
В качестве клеев используют пластмассы - эпоксидные смолы, которые обеспечивают достаточную механическую прочность и надежность соединений и имеют низкую температуру отверждения, что исключает ухудшение параметров полупроводниковых приборов и ИМС вследствие перегрева кристаллов.
В зависимости от свойств пластмассы подразделяют на диэлектрические, теплопроводящие и оптические. Пластмассы без наполнителей являются диэлектриками. Если добавить в пластмассу серебряный порошок в количестве от 60 до 80 % по массе, она становится электропроводной и одновременно значительно возрастает ее теплопроводность, так как серебро является отличным проводником электрического тока и теплоты.
Приведем для примера несколько марок клеев, используемых при монтаже кристаллов в корпуса. Так, клеиУП-5-201 и УП-5-201Э созданы на основе эпоксидной смолы, модифицированы циклоалифатическими соединениями и соответственно являются токопроводящими и изолирующими. Клей ЭЧЭ-С изготавливается из эпоксидной смолы с серебряным наполнителем и является токопроводящим. Клей УП-5-207М аналогичен по составу клею УП-5-201Э и предназначен для соединения позолоченных контактных площадок корпусов и кристаллов.
Пайка стеклом
Монтаж кристаллов пайкой стеклом применяют при массовом производстве маломощных однокристальных полупроводниковых приборов, в которых не требуется электрический контакт между нижней поверхностью кристалла и корпусом. Стекло в виде пасты обычно наносят методом трафаретной печати или напылением на место монтажа в корпуса,, размягчают нагревая и укладывают кристалл, охлаждая затем, корпус до
комнатной температуры.
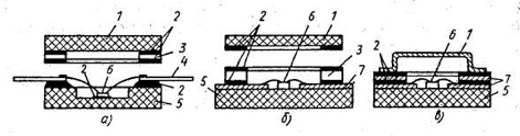
1 - крышка
2 - стеклянный припой
3 - рамка
4 - вывод
5 - основание
6 - кристалл
7 - слой металлизации
Характеристики
Тип файла документ
Документы такого типа открываются такими программами, как Microsoft Office Word на компьютерах Windows, Apple Pages на компьютерах Mac, Open Office - бесплатная альтернатива на различных платформах, в том числе Linux. Наиболее простым и современным решением будут Google документы, так как открываются онлайн без скачивания прямо в браузере на любой платформе. Существуют российские качественные аналоги, например от Яндекса.
Будьте внимательны на мобильных устройствах, так как там используются упрощённый функционал даже в официальном приложении от Microsoft, поэтому для просмотра скачивайте PDF-версию. А если нужно редактировать файл, то используйте оригинальный файл.
Файлы такого типа обычно разбиты на страницы, а текст может быть форматированным (жирный, курсив, выбор шрифта, таблицы и т.п.), а также в него можно добавлять изображения. Формат идеально подходит для рефератов, докладов и РПЗ курсовых проектов, которые необходимо распечатать. Кстати перед печатью также сохраняйте файл в PDF, так как принтер может начудить со шрифтами.
















