Повышение эффективности автомобильных дорог лесного комплекса (1024696), страница 6
Текст из файла (страница 6)
где
- количество ДТП на участке, шт.;
- интенсивность движения, авт/сут.;
- длина участка дороги, км;
- период, за который рассматриваются ДТП, лет.
6. Испытание дорожных ограждений. Установка дорожных ограждений на опасных участках автомобильных дорог является одним из самых действенных способов повышения пассивной безопасности. Необходимо отметить, что СНиП 3.06.03-85 «Правила производства и приёмка работ. Автомобильные дороги» не рассматривают методов сравнения соответствия выполненных участков дорожных ограждений типовому проекту и прочностных испытаний. Это несоответствие приводит к частым отступлениям в выполнении дорожных ограждений даже на дорогах высоких категорий.
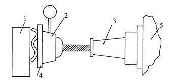
Предлагается следующий метод проведения испытаний: испытание ограждения статической нагрузкой, равнозначной по воздействию расчётной динамической нагрузке. Предлагаемая методика испытания дорожных ограждений заключается в следующем: параллельно ограждению на расстоянии 0,5…0,7 м от него устанавливается тяжёлый грузовой полностью загруженный автопоезд или дорожная машина (бульдозер, автогрейдер, скрепер и т.д.). Величину нагрузки фиксируется по показаниям манометра (рис. 5.3). Усилие, передающееся дорожному ограждению при наезде автомобиля под углом
, может быть определено лишь ориентировочно (рис. 5.4). Предполагается, что автопоезд, наехавший на ограждение, будет скользить вдоль него передним колесом и одновременно поворачиваться вокруг точки контакта, пока не расположится вплотную к ограждению. Усилие, возникающее при наезде, определяем по ускорению поперечного перемещения автопоезда в направлении, перпендикулярном ограждению
, (5.12)
где
– перпендикулярная ограждению составляющая скорости наезжавшего автопоезда;
– расстояние от точки, соответствующей центру тяжести автопоезда, до ограждения в момент удара;
– расстояние от центра тяжести автопоезда до передней оси;
– угол наезда автопоезда на ограждение.
При расчетных значениях v=80 км/ч,
=20º для легкового автомобиля по справочникам значение можно принять равным 1,5 м.
| Рис. 5.3 - Схема испытания дорожного ограждения статической нагрузкой: 1 – испытуемое ограждение; 2 – манометр; 3 – гидравлический домкрат; 4 – деревянные прокладки; 5 – рама тяжёлого автомобиля | Рис. 5.4 - Схема наезда автомобиля на дорожное ограждение |
Ускорение поперечного перемещения
, то есть ударная нагрузка, нормальная ограждению, при наезде легкового автомобиля, достигает более чем пятикратного веса. Учитывая деформацию стальной ленты ограждения при наезде, можно принять значение ударной силы несколько меньшей, чем полученной расчетом. В качестве расчётной статической нагрузки, эквивалентной динамической от наезда легкового автомобиля на ограждение может быть принята нагрузка, равная 8200 кгс.
7. Определение скорости движения на участках дорог, требующих ремонта.
Средняя скорость движения с учетом минимальной скорости на дефектных отрезках дороги
где
- максимальная скорость на исправных отрезках дороги;
- средняя скорость в пределах зон влияния,
;
- минимальная скорость на дефектных отрезках;
- вес отрезков соответственно зон влияния дефектных и находящихся в исправном состоянии.
Частные коэффициенты дефектности определяются в следующей последовательности:
а. Устанавливаем величину снижения скорости
.
б. Рассчитываем общую протяженность зон влияния дефектных участков дороги
, (5.14)
где
- протяженность зоны влияния дефектного участка дороги;
- число дефектных участков на обследуемой дороге.
в. Вычисляем «вес» зон влияния дефектной части обследуемой дороги
где
- общая длина обследуемого участка дороги, км;
г. Определяем общую протяженность дефектной части обследуемой дороги
д. Вычисляем «вес» дефектной части дороги
. (5.17)
е. Определяем «исправную» часть обследуемой дороги
ж. Устанавливаем «вес» исправной части дороги
. (5.19)
Частный коэффициент дефектности искусственных сооружений определяем по величине просадки проезжей части моста (путепровод) в районе переходной плиты. При этом:
а. Замеряем величины просадки
, их длины и определяем соотношения этих значений
.
б. Для каждого значения
определяем длину зоны влияния просадки.
в. Вычисляем суммарную длину всех зон влияния дефектных участков
на перегоне.
г. Находим отношение
к общей длине дороги
, обследуемого участка дороги
.
д. Среднее значение
определяем по формуле
.
9. Экспресс-методика определения коэффициента сцепления. При разработке вопросов организации движения, в частности, назначении безопасных скоростей для конкретных дорожных условий предлагается использовать следующую экспресс-методику определения коэффициента сцепления:
Общее количество измерений определяется формулой:
где
- количество серий опытов, определяемое типом покрытия и состоянием поверхности проезжей части (шероховатая, гладкая, сухая, мокрая, покрытая слоем льда или снега), m=8;
- повторность измерений в i-й серии для каждой заданной величины проскальзывания;
- число опытов, определяемое формой кривой функциональной зависимости коэффициента сцепления и величины проскальзывания (=10);
- число градаций скорости (=4);
- число градаций показателя шероховатости (для шероховатых поверхностей в сухом или мокром состоянии,
=3, при наличии на покрытии уплотненного снега или льда,
=1, для гладких поверхностей,
=1). Повторность измерений
находим по зависимости
, где
- функция доверительной вероятности с учетом заданной надежности полученных результатов;
- среднее квадратичное отклонение, которое устанавливается с помощью предварительных измерений;
- точность измерения (=0,01). При дорожных исследованиях надежность принимают равной 0,95, тогда
=1,96.
Величину проскальзывания измерительного колеса определяем
где
- число оборотов контрольного колеса в пределах опытного участка;
- число оборотов измерительного колеса прицепа на участке измерения.
Коэффициент сцепления определяем формулой:
где
- свободный радиус колеса, м;
- величина нагрузки от колеса прицепа на опорную поверхность, кг;
- коэффициент сопротивления качению колеса;
- тормозной момент, определяемый по тарировочному графику.
В шестом разделе разработан управляющий алгоритм координированного управления дорожным движением на участках автомобильных дорог лесного комплекса.
Невозможно требовать установку дорогостоящего оборудования на индивидуальных автомобилях в целях осуществления управления дорожным движением и поэтому используются только системы с установкой технических средств на дорогах. Параметры транспортного потока, такие как интенсивность движения, скорость и занятость измеряются с помощью детекторов транспорта, расположенных на дороге или рядом с ней. Эта информация обрабатывается и используется для управления знаками, расположенными вдоль дороги. Таким образом обеспечивается плавность движения транспортного потока, выдается водителям информация о направлениях движения и достигается также вторичный эффект в виде снижения числа дорожно-транспортных происшествий.
Программное обеспечение систем управления сетью участков дорог включает мониторные программы для ЭВМ, работающих в системах управления в реальном масштабе времени. Система управления состоит из: а) управляющего вычислительного комплекса (УВК); б) линий связи и блоков управления передачей информации; в) местных контроллеров; г) детекторов транспорта; д) мнемосхемы для операторов системы. УВК выполняет сбор информации о параметрах транспортных потоков, определение стратегии управления.
Алгоритм программы управления дорожным движением:
П1. Подпрограмма считывания информации с выходов детекторов транспорта. ЭВМ определяет число импульсов на выходе детекторов транспорта, их длительность. Определение длительности импульсов выполняется путем периодического сканирования выхода детектора.
П2. Подпрограмма усреднения. Информация, полученная с помощью подпрограммы считывания, сглаживается и преобразуется в требуемые параметры транспортного потока, такие, как интенсивность движения, занятость, скорость, плотность, степень затора и т. д.
П3. Подпрограмма определения района координации. Сеть делится на некоторое количество подрайонов. Это позволяет использовать тот факт, что в каждом из районов имеются отличия в интенсивности движения. Подобные подрайоны, в случае если имеются их естественные границы, могут быть фиксированными. Однако в дорожной сети с высокими плотностями движения выделяются подрайоны в реальном масштабе времени в соответствии с фактической транспортной ситуацией. Для этой цели дорожная сеть разбивается на элементарные участки. В соответствии с транспортной ситуацией эти участки объединяют в подрайоны в той или иной комбинации.















