Повышение эффективности автомобильных дорог лесного комплекса (1024696), страница 3
Текст из файла (страница 3)
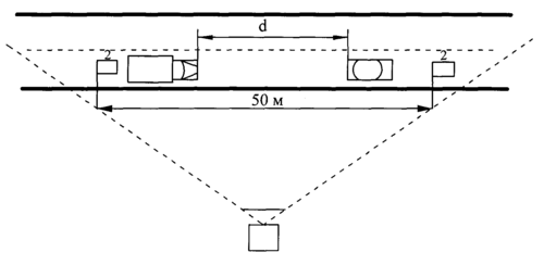
На исследуемых участках дорог, хорошо заметными вешками ограничивалась зона в 50 метров. Видеокамеру устанавливали таким образом, чтобы в кадр попадала вся 50-метровая зона. Схема проведения видеосъёмки представлена на рисунке 2.1.
Рис. 2.1 Схема проведения видеосъёмки: 1 – видеокамера, 2 - вешки
Первоначально намечалось использовать для фиксации транспортного потока видеозапись, которая дает значительное упрощение эксперимента. На видеопленке фиксировалось движение групп автомобилей от момента въезда на 50-метровый измерительный участок головного автомобиля до момента выезда с участка последнего автомобиля.
Уровень доверительной вероятности
=3,291. Абсолютная погрешность измерения, ∆=0,1 м. Для того, чтобы иметь численное значение среднеквадратического отклонения дистанции, были проведены предварительные исследования. Было получено 17 значений дистанции, соответствующих скорости 12 м/с. Наблюдениями охватывались легковые автомобили. Ряд полученных значений имеет следующий вид: 16,16,17,17,17,18,18,18, 19, 20, 21, 22, 23, 23, 26.
Среднее квадратическое отклонение рассчитывается по формуле
где n=17 – количество замеров дистанции, соответствующей определенной скорости; i – номер замера;
- численное значение дистанции в определенном замере;
- среднее значение дистанции по 17 результатам замеров.
Численное значение
имеет величину =2,95 м. Определяем показатель точности
. Поскольку
применяем формулу
где n – количество замеров дистанции на определенной скорости;
=3,291 – показатель надежности при уровне доверительной вероятности
=0,999;
- коэффициенты.
Дальнейшая обработка результатов заключалась в группировании данных по выбранным группам автомобилей: легковые, грузовые категории
, грузовые категории
, автобусы, автопоезда категории
, автопоезда категории
. Для повышения точности результатов, пары автомобилей, скорость которых между собой различалась на 0,5 м/с и более в расчет не принимались.
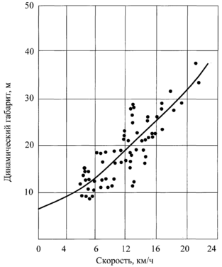
После проведения разделения данных по выбранным группам, строилось поле экспериментальных точек, полученное по каждой группе (рис. 2.2). Затем осуществлялся расчет уравнения регрессии, отражающего зависимость между дистанцией между автомобилями и скоростью движения.
В соответствии с теоретическим анализом нами было выбрано уравнение квадратной параболы. Коэффициенты этого уравнения рассчитаны на основании экспериментальных точек на ЭВМ по программе, основанной на методе наименьших квадратов. В результате такой статистической обработки были получены регрессионные уравнения зависимости динамического габарита от скорости для указанных групп автомобилей. Эти уравнения имеют следующий вид:
для легковых автомобилей
, (2.6)
для грузовых автомобилей категории
, (2.7)
Вначале наблюдается уменьшение значений коэффициентов с того уровня, который определяется только габаритами автомобиля. Затем коэффициент постепенно увеличивается и при достаточно большой скорости стремится к постоянной величине, которая определяется отношением коэффициента при квадрате скорости уравнения динамического габарита. Причем для каждой более тяжелой категории наблюдается смещение минимума коэффициента приведения в сторону большего значения скоростей.
Наблюдается четкая закономерность при сравнении коэффициентов приведения, полученных теоретическим расчетом и экспериментально (таблица 2.2). При скоростях менее 40…45 км/ч значения фактических коэффициентов приведения меньше теоретических на соответствующих скоростях движения. Однако на более высоких скоростях картина меняется, и значения фактических коэффициентов приведения всех категорий автомобилей превышает теоретические значения. Это явление объясняется различиями в характере изменения динамических габаритов в зависимости от скорости для разных категорий автомобилей.
Таблица 2.2 – Расчетные и фактические коэффициенты приведения
| Категория автомобиля | ||||||||||
| Грузовой N2 | Грузовой N1 | Автопоезд N2 | Автопоезд N3 | Автобус М3 | ||||||
| 20 | 1,4 | 1,3 | 1,5 | 1,4 | 1,9 | 1,8 | 2,2 | 2,2 | 1,7 | 1,6 |
| 30 | 1,3 | 1,3 | 1,4 | 1,4 | 1,8 | 1,8 | 2,0 | 2,0 | 1,6 | 1,6 |
| 40 | 1,3 | 1,3 | 1,4 | 1,4 | 1,7 | 1,7 | 1,8 | 2,0 | 1,5 | 1,6 |
| 50 | 1,4 | 1,4 | 1,4 | 1,5 | 1,6 | 1,7 | 1,7 | 2,0 | 1,5 | 1,6 |
| 60 | 1,4 | 1,4 | 1,4 | 1,5 | 1,6 | 1,7 | 1,7 | 2,0 | 1,4 | 1,6 |
| 70 | 1,4 | 1,5 | 1,4 | 1,5 | 1,6 | 1,6 | 1,7 | 2,0 | 1,4 | 1,6 |
| 80 | 1,5 | 1,5 | 1,5 | 1,6 | 1,6 | 1,7 | 1,6 | 2,0 | 1,41,6 | 1,6 |
Одна из главных трудностей проведения натурных наблюдений – это случайный процесс формирования смешанного транспортного потока и практическая невозможность наблюдать поток из одних марок ЗИЛ, МАЗ и т.д. В связи с этим, в натурных экспериментах приходилось обращаться к выборке соответствующих пар автомобилей из потока.
В третьем разделе усовершенствован способ повышения безопасности движения на сложных участках магистральных дорог.
Для снижения количества дорожно-транспортных происшествий и сокращения времени движения автомобилей на участках дорог с необеспеченной видимостью в плане и профиле разработано устройство по предупреждению водителей о режимах движения на участках с необеспеченной видимостью. В устройстве предусмотрено два варианта включений: при наличии автомобиля на встречной полосе в зоне отсутствия видимости табло подает информацию в виде знака «рекомендуемая скорость»; при отсутствии автомобиля на встречной полосе в зоне отсутствия видимости табло подает информацию в виде знака «рекомендуемая скорость».
Смена информации производится автоматически от соответствующих датчиков. Расстояние между автомобилями (дистанция) устанавливается в зависимости от принятой скорости движения. Анализ различных вариантов дорожной ситуации, имеющих место на участках дорог с необеспеченной видимостью, показывает, что наиболее неблагоприятным будет следующий (рис. 3.1): по одной из полос первым движется тихоходный автомобиль, за ним с временным интервалом 3 с – быстроходный, водитель которого намерен совершить обгон; по встречной полосе по истечению 3 с от момента прохода тихоходным автомобилем датчика А движется быстроходный.















