Белов - БЖД (1006305), страница 57
Текст из файла (страница 57)
Ионообменную очистку применяют для обессоливания и очистки сточных вод от ионов металлов и других примесей. Очистку осуществляют ионитами–синтетическими ионообменными смолами, изготовленными в виде гранул размером 0,2...2 мм. Иониты изготовляют из нерастворимых в воде полимерных веществ, имеющих на своей поверхности подвижный ион (катион или анион), который при определенных условиях вступает в реакцию обмена с ионами того же знака, содержащимися в сточной воде.
Различают сильно- и слабокислотные катиониты (в Н+ или Na+- форме) и сильно- и слабоосновные аниониты (в ОН-- или солевой форме), а также иониты смешанного действия.
Рис. 6.21. Технологическая схема ионообменной очистки сточных вод:
а – одноступенчатая очистка; б – очистка с двухступенчатым анионированием; в – очистка с промежуточной дегазацией и двухступенчатым анионированием; К– катионитовый фильтр; А–анионитовый фильтр; Д–декарбонизатор. ПБ–промежуточный бак
Ионообменную очистку реализуют последовательным фильтрованием сточной воды через катиониты и аниониты. При контакте сточной воды с катионитом в водородной форме имеет место обмен катионов растворенных в воде солей на Н+ – ионы катионита в соответствии с уравнением реакции
n[K]H+Men+↔[K]nMe+hH+
где К –«скелет» (радикал) катионита; Me –извлекаемый из сточной воды катион металла; n–заряд катиона. При этом имеет место увеличение кислотности сточной воды.
При контакте сточной воды с анионитом в гидроксильной форме происходит обмен анионов кислот на OH'-ионы анионита в соответствии с уравнением реакции
m[Ap]OH+Am-↔[An]mA+mOH
где Аn–«скелет» (радикал) анионита; А–извлекаемый из сточной воды анион; т –заряд аниона.
В зависимости от вида и концентрации примесей в сточной воде, требуемой эффективности очистки используют различные схемы ионообменных установок. Для очистки сточных вод от анионов сильных кислот применяют технологическую схему одноступенчатого Н-кати-онирования и ОН-анионирования с использованием сильнокислотного катионита и слабоосновного анионита (рис. 6.21, a). Для более глубокой очистки сточных вод, в том числе от солей, применяют одно-или двухступенчатое Н-катионирование на сильнокислотном катионите с последующим двухступенчатым ОН-анионированием на слабо-, а затем на сильноосновном анионите (рис. 6.21, б).
При содержании в сточной воде большого количества диоксида углерода и его солей происходит быстрое истощение емкости сильноосновного анионита Для уменьшения истощения сточную воду после катионитового фильтра дегазируют в специальных дегазаторах с насадкой из колец Рашига или в других аппаратах (рис 621, в)
Рис. 6. 22. Технологическая схема установки
электрохимического окисления циансодержащих сточных вод
При необходимости обеспечивать значение рН ≈ 6,7 и очистки сточной воды от анионов слабых кислот вместо анионитовых фильтров второй ступени используют фильтр смешанного действия, загружаемый смесью сильнокислотного катионита и сильноосновного анионита
Электрохимическая очистка, в частности, электрохимическое окисление осуществляется электролизом и реализуется двумя путями окислением веществ путем передачи электронов непосредственно на поверхности анода или через вещество–переносчика, а также в результате взаимодействия с сильными окислителями, образовавшимися в процессе электролиза
Наличие в сточной воде достаточного количества хлорид-ионов обусловливает появление в ней при электролизе активного хлора (С12, НОС1, С12O, С1O , СlOз), который является сильнейшим окислителем и способен вызывать глубокую деструкцию многих органических веществ, содержащихся в сточных водах
Электрохимическое окисление применяют для очистки сточных вод гальванических процессов, содержащих простые цианиды (КС1, NaCI) или комплексные цианиды цинка, меди, железа и других металлов Электрохимическое окисление осуществляют в электролизерах (обычно прямоугольной формы) непрерывного или периодического действия. На аноде происходит окисление цианидов в малотоксичные и нетоксичные продукты (цианаты, карбонаты, диоксид углерода, азот), а на катоде –разряд ионов водорода с образованием газообразного водорода и разряд ионов меди, цинка, кадмия, образующихся при диссоциации комплексных анионов с содержанием CN-группы.
На рис. 6. 22. показана технологическая схема установки для электрохимического окисления сточных вод. В ее состав входят сборный резервуар 1, бак 2 для приготовления концентрированного раствора NaCI, электролизер 3 с источником постоянного напряжения 7. Очищенная от цианидов сточная вода выходит по трубопроводу 4, а при необходимости ее доочистки по трубопроводу 5 вновь направляется в сборный резервуар 7. Для интенсификации процесса окисления в электролизер 3 по трубопроводу 6 подают сжатый воздух.
Рис. 6.23. Технологическая схема эвапо-рационной установки
1–трубопровод подачи исходной сточной воды; 2– теплообменник; 3–эвапорационная колонна; 4– трубопровод загрязненного пара; 5–трубопровод подачи растворителя; 6–колонна с насадками из колец Рашига для очистки отработанного пара; 7–вентилятор; 8– трубопровод повторно используемого очищенного пара; 9 – трубопровод отвода загрязненного летучими примесями растворителя; 10–трубопровод отвода очищенной сточной воды; 11–трубопровод подачи свежего пара
Гиперфильтрация (обратный осмос) реализуется разделением растворов путем фильтрования их через мембраны, поры которых размером около 1 нм пропускают молекулы воды, задерживая гидратированные ионы солей или молекулы недиссоциированных соединений По сравнению с другими методами очистки гиперфильтрация требует малых энергозатрат установки для очистки конструктивно просты и компактны, легко автоматизируются, фильтрат имеет высокую степень чистоты и может быть использован в оборотных системах водоснабжения, а сконцентрированные примеси сточных вод легко утилизируются или уничтожаются.
Перенос воды и растворенного вещества через мембрану оценивается уравнениями Q = k1(Pp-∆p); F=k2∆c, где Q – расход воды через мембрану, м3/с, k1, k2 –коэффициенты проницаемости соответственно воды и растворенного вещества через конкретную мембрану; рр – рабочее давление на входе в мембрану, Па; ∆р – разность осмотических давлений раствора на входе в мембрану, Па, ∆с – разность концентраций растворенного в воде вещества на входе в мембрану и выходе из нее, кг/м3; F– масса растворенного вещества, переносимого через мембрану, кг.
Для гиперфильтрации используют ацетатцеллюлозные, полиамидные и тому подобные полимерные мембраны с ресурсом работы 1. 2 г Селективность мембран по отношению к ионам различных веществ характеризуется следующим рядом Al3+ > Zn2+ > Cd2+ > Mg2+ > Ca2+ > Ba2+ > SO2- > Na+ > F- > K+ > Cl- > Br- > I- > NO3- > H+.
Эвапорация реализуется обработкой паром сточной воды с содержанием летучих органических веществ, которые переходят в паровую фазу и вместе с паром удаляются из сточной воды. Процесс эвапорации осуществляют в испарительных установках (рис. 6. 23), в которых при протекании через эвапорационную колонну с насадками из колец Рашига навстречу потоку острого пара сточная вода нагревается до температуры 100° С. При этом содержащиеся в сточной воде летучие примеси переходят в паровую фазу и распределяются между двумя фазами (паром и водой) в соответствии с уравнением Сп/св = у, где Сп и св, – концентрации примеси в паре и сточной воде, кг/м3; у – коэффициент распределения. Для аммиака, этиламина, диэтиламина, анилина и фенола, содержащихся в сточной воде, коэффициент распределения соответственно равен 13, 20, 43; 5,5 и 2.
Концентрация примеси в сточной воде на выходе из эвапорацион-ной колонны
Св=Со(qY-1)(qyex-1)
где Co –концентрация примеси в исходной сточной воде, кг/м3; q – удельный расход пара, кг/кг; х = [рσН(qу–1)]/(Ьуу), здесь bqy – эмпирическая постоянная насадки; b–плотность орошения колонны водой, м3/м2; р –эмпирическая постоянная, м/с; ст –удельная площадь поверхности насадки, м^м2; Н–высота слоя насадки, м.
Выпаривание, испарение и кристаллизацию используют для очистки небольших объемов сточной воды с большим содержанием летучих веществ.
Биологическая очистка. Ее применяют для выделения тонкодисперсных и растворенных органических веществ. Она основана на способности микроорганизмов использовать для питания содержащиеся в сточных водах органические вещества (кислоты, спирты, белки, углеводы и т. п.). Процесс реализуется в две стадии, протекающие одновременно, но с различной скоростью: адсорбция из сточных вод тонкодисперсных и растворенных примесей органических веществ и разрушение адсорбированных веществ внутри клетки микроорганизмов при протекающих в них биохимических процессах (окислении или восстановлении). Обе стадии реализуются как в аэробных, так и в анаэробных условиях в зависимости от видов и свойств микроорганизмов. Биологическую очистку осуществляют в природных и искусственных условиях.
Сточные воды в природных условиях очищают на полях фильтрации, полях орошения и в биологических прудах [6.5]. Очистку и бытовых, и производственных сточных вод на полях фильтрации и полях орошения в настоящее время используют очень редко в связи с малой пропускной способностью единицы площади полей и непостоянством состава производственных сточных вод, а также из-за возможности попадания на поля токсичных для их микрофлоры примесей.
Биологические пруды используют для очистки и доочистки сточных вод суточным расходом не более 6000 м3. Применяют пруды с естественной и искусственной аэрацией.
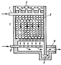
Биологические фильтры широко используют для очистки и бытовых, и производственных сточных вод. В качестве фильтровального материала для загрузки биофильтров применяют шлак, щебень, керамзит, пластмассу, гравий и т. п. Существуют биофильтры с естественной подачей воздуха; их применяют для очистки сточных вод суточным расходом не более 1000 м3 Для очистки производственных сточных вод больших расходов и сильно концентрированных используют биофильтры с принудительной подачей воздуха (рис 6 24)
Рис. 6. 24. Схема биофильтра с принудительной подачей воздуха
1–трубопровод подачи исходной сточной воды; 2–водораспределительные устройства; 3– фильтровальная загрузка; 4–трубопровод отвода очищенной сточной воды; 5–гидравлический затвор; 6 – трубопровод подвода сжатого воздуха; 7 – корпус фильтра
Нормальный ход процесса биологической очистки сточных вод устанавливается после образования на загрузочном материале биофильтра биологической пленки, микроорганизмы которой адаптировались к органическим примесям сточных вод. Период адаптации обычно составляет 2...4 недели, хотя в отдельных случаях он может достигать нескольких месяцев. Для оценки состава сточных вод в процессе биологической очистки используют биологическую потребность воды в кислороде (БПК) –количество кислорода, необходимое для окисления всех органических примесей, содержащихся в единице объема сточной воды.
Объем загрузочного материала V= (La–l)/m, где La и Lt,–БПК исходной и очищенной сточной воды, кг/м3; М–окислительная мощность биофильтра –масса кислорода, которая может быть получена в сутки с единицы объема загрузочного материала биофильтра, кг/(м3сут)
Аэротенки, используемые для очистки больших расходов сточных вод, позволяют эффективно регулировать скорость и полноту протекающих в них биохимических процессов, что особенно важно для очистки промышленных сточных вод нестабильного состава. Окислительная мощность аэротенков составляет 0,5...1,5 кг/м3 в сутки. В зависимости от состава примесей сточных вод и требуемой эффективности очистки применяют аэротенки с дифференцируемой подачей воздуха, аэротенки-смесители с дифференцируемой подачей сточной воды и аэротенки с регенераторами активного ила.















