Белов - БЖД (1006305), страница 56
Текст из файла (страница 56)
Рис. 6.16. Расчетная схема горизонтального отстойника.
Рис . 6.17. Схема открытого гидроциклона
где К – коэффициент, зависящий от условий входа воды в гидроциклон; для гидроциклонов с D)=0,125...0,6 м и α =30° K=0,524; ∆р– перепад давлений воды в гидроциклоне, Па; p – плотность очищаемой сточной воды, кг/м .
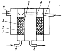
На рис. 6.18 представлена схема напорного гидроциклона, обеспечивающего очистку сточной воды и от твердых частиц, и от маслопродуктов. Сточная вода через установленный тангенциально по отношению к корпусу гидроциклона входной трубопровод 1 поступает в гидроциклон. Вследствие закручивания потока сточной воды твердые частицы отбрасываются к стенкам гидроциклона и стекают в шламосборник 7, откуда они периодически удаляются. Сточная вода с содержащимися в ней маслопродуктами движется вверх. При этом вследствие меньшей плотности маслопродуктов они концентрируются в ядре закрученного потока, который поступает в приемную камеру 3, и через трубопровод 5 маслопродукты выводятся из гидроциклона для последующей утилизации. Сточная вода, очищенная от твердых частиц и маслопродуктов, скапливается в камере 2, откуда через трубопровод 6 отводится для дальнейшей очистки. Трубопровод 4 с регулируемым проходным сечением предназначен для выпуска воздуха, концентрирующегося в ядре закрученного потока очищаемой сточной воды.
Рис. 6.18. Схема комбинированного гидроциклона
Такие гидроциклоны используют для очистки сточных вод прокатных цехов с концентрацией твердых частиц и маслопродуктов соответственно 0,13...0,16 и 0,01...0,015 кг/м3 и эффективностью их очистки около 0,7 и 0,5. При расходе очищаемой сточной воды 5 м3/ч перепад давлений в гидроциклоне составляет 0,1 МПа.
Фильтрование применяют для очистки сточных вод от тонкодисперсных примесей с малой их концентрацией.
Рис . 6.19. Схема зернистого фильтра
Его используют как на начальной стадии очистки сточных вод, так и после некоторых методов физико-химической или биологической очистки. Для очистки сточных вод фильтрованием применяют в основном два типа фильтров: зернистые, в которых очищаемую сточную воду пропускают через насадки несвязанных пористых материалов, и микрофильтры, фильтроэлементы которых изготовляют из связанных пористых материалов (сеток, натуральных и синтетических тканей, спеченных металлических порошков и т. п.).
Для очистки больших расходов сточных вод от мелкодисперсных твердых примесей применяют зернистые фильтры (рис. 6.19). Сточная вода по трубопроводу 4 поступает в корпус 1 фильтра и проходит через фильтровальную загрузку 3 из частиц мраморной крошки, шунгизита и т. п., расположенную между пористыми перегородками 2 и 5. Очищенная от твердых частиц сточная вода скапливается в объеме, ограниченном пористой перегородкой 5, и выводится из фильтра через трубопровод 8. По мере осаждения твердых частиц в фильтровальном материале перепад давлений на фильтре увеличивается и при достижении предельного значения перекрывается входной трубопровод 4и по трубопроводу 9 подается сжатый воздух. Он вытесняет из фильтровального слоя 3 воду и твердые частицы в желоб 6, которые затем по трубопроводу 7 выводятся из фильтра. Достоинством конструкции фильтра является развитая поверхность фильтрования, а также простота конструкции и высокая эффективность.
В настоящее время для очистки сточных вод от маслопродуктов широко используют фильтры с фильтровальным материалом из частиц пенополиуретана. Пенополиуретановые частицы, обладая большой маслопоглощающей способностью, обеспечивают эффективность очистки до 0,97...0,99 при скорости фильтрования до 0,01 м/с. При этом насадка из пенополиуретана легко регенерируется при механическом выжимании маслопродуктов.
На рис. 6.20 представлена схема фильтра-сепаратора с фильтровальной загрузкой из частиц пенополиуретана, предназначенного для очистки сточных вод от маслопродуктов и твердых частиц. Сточную воду по трубопроводу 5 подают на нижнюю опорную решетку 4. Затем вода проходит через фильтровальную загрузку в роторе 2, верхнюю решетку 4 и очищенная от примесей переливается в приемный кольцевой карман 6 и выводится из корпуса 1. При концентрации маслопродуктов и твердых частиц до 0,1 кг/м3 эффективность очистки составляет соответственно 0,92 и 0,9; а время непрерывной эксплуатации фильтра 16...24 ч. Достоинствами данной конструкции являются простота и большая эффективность регенерации фильтра. При включении электродвигателя 7 вращается ротор 2 с фильтровальной загрузкой. В результате частицы пенополиуретана под действием центробежных сил отбрасываются к внутренним стенкам ротора, выжимая из него маслопродукты, которые поступают в карманы 3 и направляются на регенерацию. Время полной регенерации фильтра 0,1 ч.
Рис. 6.20. Схема фильтра-сепаратора
Физико-химические методы очистки. Данные методы используют для очистки от растворенных примесей, а в некоторых случаях и от взвешенных веществ. Многие методы физико-химической очистки требуют предварительного глубокого выделения из сточной воды взвешенных веществ, для чего широко используют процесс коагуляции.
В настоящее время в связи с использованием оборотных систем водоснабжения существенно увеличивается применение физико-химических методов очистки сточных вод, основными из которых являются флотация, экстракция, нейтрализация, сорбция, ионообменная и электрохимическая очистка, гиперфильтрация, эвапорация, выпаривание, испарение и кристаллизация.
Флотация предназначена для интенсификации процесса всплывания маслопродуктов при обволакивании их частиц пузырьками газа, подаваемого в сточную воду. В основе этого процесса имеет место молекулярное слипание частиц масла и пузырьков тонкодиспергированного в воде газа. Образование агрегатов «частица – пузырьки газа» зависит от интенсивности их столкновения друг с другом, химического взаимодействия содержащихся в воде веществ, избыточного давления газа в сточной воде и т. п.
В зависимости от способа образования пузырьков газа различают следующие виды флотации: напорную, пневматическую, пенную, химическую, вибрационную, биологическую, электрофлотацию и др.
В настояще время на станциях очистки широко используют электрофлотацию, так как протекающие при этом электрохимические процессы обеспечивают дополнительное обеззараживание сточных вод. Кроме того, применение для электрофлотации алюминиевых или стальных электродов обусловливает переход ионов алюминия или железа в раствор, что способствует коагулированию мельчайших частиц механических примесей сточной воды.
Образование дисперсной газовой фазы в процессе электрофлотации происходит вследствие электролиза воды. Основной составляющей электролизных газов является водород; при этом выделяется незначительное количество кислорода, хлора, оксидов углерода и азота.
При расчете электрофлотатора определяют расход газа, необходимого для обеспечения заданной эффективности очистки, qr=100Q(Co-Cк)6M, где Co и Ск–концентрации маслопродуктов в исходной и очищенной сточной воде, кг/м3; М–удельная адсорбция маслопродуктов газовой фазой, л/кг. Затем находят силу тока для получения требуемого количества электролизного газа I= qr/αr, где αr– выход газа по току; αr = 0,0076 дм3 / (л-мин).
Расход водорода (дм/мин) в смеси электролизного газа
QH2=22,4qrαH(αrMH2)
где αH – электрохимический эквивалент водорода, αH = 0,627 мг/(А-мин); Mн2 – молекулярная масса водорода.
Задают расход воздуха, подаваемого под границу раздела «сточная вода – воздух рабочей зоны» в камере флотации, исходя из соотношения q≥50qн2 и определяют суммарный расход газовоздушной смеси, выходящей через открытую поверхность флотатора qсм=qr+qв. Выбирают удельный расход газовоздушной смеси через поверхность ценообразования ω = 300...600 дм3/(м - мин) [6.5] и определяют площадь поверхности пенообразования f=qсм/ω.
Определяют объемную плотность тока (А/м3), обеспечивающую необходимую величину газонаполнения. j=(φ+0,261Kcp+0,1)/(0,022-0,011Kф),
где φ –степень газонаполнения сточной воды в процессе флотации; φ == 1...5 дм3/м3; Кф = 0,3...1,2 –коэффициент формы флотационной камеры.
Находят объем и площадь поперечного сечения флотационной камеры V=I/j; F=(Kф3V)2 и затем ее основные размеры.
Экстракция сточных вод основана на перераспределении примесей сточных вод в смеси двух взаимнонерастворимых жидкостей (сточной воды и экстрагента). Количественно интенсивность перераспределения оценивается коэффициентом экстракции Kф=Cэ/Cв, где Сэ и Св – концентрации примеси в экстрагенте и сточной воде по окончании процесса экстракции. В частности, при очистке сточных вод от фенола с использованием в качестве экстрагента бензола или бутилацетата Кз составляет соответственно 2,4 и 8...12. Для интенсификации процесса экстракции перемешивание смеси сточных вод с экстрагентом осуществляют в экстракционных колоннах, заполненных насадками из колец Рашига.
Нейтрализация сточных вод предназначена для выделения из них кислот, щелочей, а также солей металлов на основе кислот и щелочей. Процесс нейтрализации основан на объединении ионов водорода и гидроксильной группы в молекулу воды, в результате чего сточная вода приобретает значение рН ≈ 6,7 (нейтральная среда). Нейтрализацию кислот и их солей осуществляют щелочами или солями сильных щелочей: едким натром, едким кали, известью, известняком, доломитом, мрамором, мелом, магнезитом, содой, отходами щелочей и т. п. Наиболее дешевым и доступным реагентом для нейтрализации кислых сточных вод является гидроокись кальция (гашеная известь). Для нейтрализации сточных вод с содержанием щелочей и их солей (сточные воды целлюлозно-бумажных и текстильных заводов) можно использовать серную, соляную, азотную, фосфорную и другие кислоты.
Теоретический расход щелочей (кислот) для нейтрализации содержащихся в сточных водах кислот (щелочей) определяют в соответствии с уравнениями реакций нейтрализации по формуле q = сМэ/Мк где с – концентрация кислоты (щелочи) или их солей в сточной воде; Мэ и Мкк – молекулярные массы щелочи (кислоты) и кислоты (щелочи) или их солей.
На практике используют три способа нейтрализации сточных вод:
– фильтрационный–путем фильтрования сточной воды через насадки кусковых или зернистых материалов;
– водно-реагентный –добавлением в сточную воду реагента в виде раствора или сухого вещества (извести, соды или шлака); нейтрализующим раствором может быть и щелочная сточная вода;
– полусухой –перемешиванием высококонцентрированных сточных вод (например, отработанного гальванического раствора) с сухим реагентом (известью, шлаком) с последующим образованием нейтральной тестообразной массы.
Сорбцию применяют для очистки сточных вод от растворимых примесей. В качестве сорбентов используют любые мелкодисперсные материалы (золу, торф, опилки, шлаки, глину); наиболее эффективный сорбент – активированный уголь. Расход сорбента т = Q(Сo–Ск)/д, где Q–расход сточной воды, м3с; Со и Ск–концентрации примесей в исходной и очищенной сточной воде, кг/м3; а–удельная сорбция, характеризующая количество примесей, поглощаемых единицей массы сорбента, кг/с.















