Белов - БЖД (1006305), страница 51
Текст из файла (страница 51)
Концентрация свинца в бензине, г/л . . 0,15 0,20 0,25 0,50
Концентрация свинца в воздухе, мкг/м 0,40 0,50 0.55 1,00
Исключить поступление высокотоксичных соединений свинца в атмосферу можно заменой этилированного бензина неэтилированным.
Выхлопные газы ГТДУ содержат такие токсичные компоненты, как оксид углерода, оксиды азота, углеводороды, сажу, альдегиды и др. Содержание токсичных составляющих в продуктах сгорания существенно зависит от режима работы двигателя. Высокие концентрации оксида углерода и углеводородов характерны для ГТДУ на пониженных режимах (при холостом ходе, рулении, приближении к аэропорту, заходе на посадку), тогда как содержание оксидов азота существенно возрастает при работе на режимах, близких к номинальному (взлете, наборе высоты, полетном режиме).
Суммарный выброс токсичных веществ в атмосферу самолетами с ГТДУ непрерывно растет, что обусловлено повышением расхода топлива до 20...30 т/ч и неуклонным ростом числа эксплуатируемых самолетов. Отмечается влияние ГТДУ на озоновый слой и накопление углекислого газа в атмосфере.
Наибольшее влияние на условия обитания выбросы ГТДУ оказывают в аэропортах и зонах, примыкающих к испытательным станциям. Сравнительные данные о выбросах вредных веществ в аэропортах показывают, что поступления от ГТДУ в приземный слой атмосферы составляют, %: оксид углерода – 55, оксиды азота – 77, углеводороды – 93 и аэрозоль – 97. Остальные выбросы выделяют наземные транспортные средства с ДВС.
Загрязнение воздушной среды транспортом с ракетными двигательными установками происходит главным образом при их работе перед стартом, при взлете, при наземных испытаниях в процессе их производства или после ремонта, при хранении и транспортировании топлива. Состав продуктов сгорания при работе таких двигателей определяется составом компонентов топлива, температурой сгорания, процессами диссоциации и рекомбинации молекул. Количество продуктов сгорания зависит от мощности (тяги) двигательных установок. При сгорании твердого топлива из камеры сгорания выбрасываются пары воды, диоксид углерода, хлор, пары соляной кислоты, оксид углерода, оксид азота, а также твердые частицы Аl2О3 со средним размером 0,1 мкм (иногда до 10 мкм).
В условиях запуска у пусковой системы образуется облако продуктов сгорания, водяного пара от системы шумоглушения, песка и пыли. Объем продуктов сгорания можно определить по времени (обычно 20 с) работы установки на стартовой площадке и в приземном слое. После запуска высокотемпературное облако поднимается на высоту до 3 км и перемещается под действием ветра на расстояние 30...60 км, оно может рассеяться, но может стать причиной кислотных дождей.
При старте ракетные двигатели неблагоприятно воздействуют не только на приземный слой атмосферы, но и на космическое пространство, разрушая озоновый слой Земли. Масштабы разрушения озонового слоя определяются числом запусков ракетных систем и интенсивностью полетов сверхзвуковых самолетов. По прогнозам фирмы «Аэроспейс», в XXI в. для транспортирования грузов на орбиту будет осуществляться до 10 запусков ракет в сутки, при этом выброс продуктов сгорания каждой ракеты будет превышать 1,5 т/с.
В связи с развитием авиации и ракетной техники, а также интенсивным использованием авиационных и ракетных двигателей в других отраслях народного хозяйства существенно возрос общий выброс вредных примесей в атмосферу. Однако на долю этих двигателей приходится пока не более 5 % токсичных веществ, поступающих в атмосферу от транспортных средств всех типов.
6.2. СРЕДСТВА ЗАЩИТЫ АТМОСФЕРЫ
Требования к выбросам в атмосферу. Средства защиты атмосферы должны ограничивать наличие вредных веществ в воздухе среды обитания человека на уровне не выше ПДК. Во всех случаях должно соблюдаться условие
C+Cф ≥ ПДК (6.2)
по каждому вредному веществу (Сф –фоновая концентрация), а при наличии нескольких вредных веществ однонаправленного действия – условие (3.1). Соблюдение этих требований достигается локализацией вредных веществ в месте их образования, отводом из помещения или от оборудования и рассеиванием в атмосфере. Если при этом концентрации вредных веществ в атмосфере превышают ПДК, то применяют очистку выбросов от вредных веществ в аппаратах очистки, установленных в выпускной системе. Наиболее распространены вентиляционные, технологические и транспортные выпускные системы.
На практике реализуются следующие варианты защиты атмосферного воздуха:
– вывод токсичных веществ из помещений общеобменной вентиляцией;
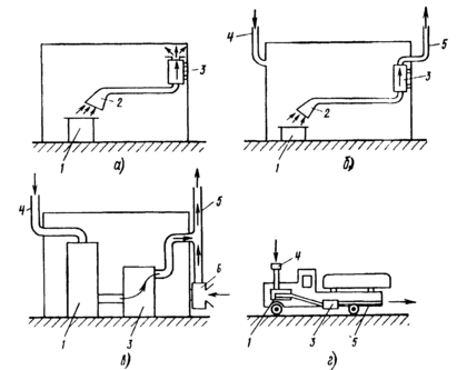
– локализация токсичных веществ в зоне их образования местной вентиляцией, очистка загрязненного воздуха в специальных аппаратах и его возврат в производственное или бытовое помещение, если воздух после очистки в аппарате соответствует нормативным требованиям к приточному воздуху (рис. 6.2, а);
– локализация токсичных веществ в зоне их образования местной вентиляцией, очистка загрязненного воздуха в специальных аппаратах, выброс и рассеивание в атмосфере (рис. 6.2, б);
– очистка технологических газовых выбросов в специальных аппаратах, выброс и рассеивание в атмосфере; в ряде случаев перед выбросом отходящие газы разбавляют атмосферным воздухом (рис. 6.2,в);
– очистка отработавших газов энергоустановок, например двигателей внутреннего сгорания в специальных агрегатах, и выброс в атмосферу или производственную зону (рудники, карьеры, складские помещения и т. п.) (рис. 6.2, г).
Для соблюдения ПДК вредных веществ в атмосферном воздухе населенных мест устанавливают предельно допустимый выброс (ПДВ) вредных веществ из систем вытяжной вентиляции, различных технологических и энергетических установок. Предельно допустимые выбросы ГТДУ самолетов гражданской авиации определены ГОСТ 17.2.2.04–86, выбросы автомобилей с ДВС–ГОСТ 17.2.2.03–87 и рядом других.
В соответствии с требованиями ГОСТ 17.2.3.02–78 для каждого проектируемого и действующего промышленного предприятия устанавливается ПДВ вредных веществ в атмосферу при условии, что выбросы вредных веществ от данного источника в совокупности с другими источниками (с учетом перспективы их развития) не создадут приземную концентрацию, превышающую ПДК.
Рис. 6.2. Схемы использования средств защиты атмосферы:
1–источник токсичных веществ; 2–устройство для локализации токсичных веществ (местный отсос); 3–аппарат очистки; 4–устройство для забора воздуха из атмосферы; 5–труба для рассеивания выбросов; 6 –- устройство (воздуходувка) для подачи воздуха на разбавление выбросов
Рассеивание выбросов в атмосфере. Технологические газы и вентиляционный воздух после выхода из труб или вентиляционных устройств, подчиняется законам турбулентной диффузии. На рис. 6.3 показано распределение концентрации вредных веществ в атмосфере под факелом организованного высокого источника выброса. По мере удаления от трубы в направлении распространения промышленных выбросов можно условно выделить три зоны загрязнения атмосферы: переброса факела выбросов Б, характеризующаяся относительно невысоким содержанием вредных веществ в приземном слое атмосферы; задымления В с максимальным содержанием вредных веществ и постепенного снижения уровня загрязнения Г. Зона задымления наиболее опасна для населения и должна быть исключена из селитебной застройки. Размеры этой зоны в зависимости от метеорологических условий находятся в пределах 10...49 высот трубы.
Максимальная концентрация примесей в приземной зоне прямо пропорциональна производительности источника и обратно пропорциональна квадрату его высоты над землей. Подъем горячих струй
Рис. 6.3. Распределение концентрации вредных веществ в атмосфере у земной поверхности от организованного высокого источника выбросов:
А–зона неорганизованного загрязнения; Б–зона переброса факела; В–зона задымления; Г– зона постепенного снижения уровня загрязнения
почти полностью обусловлен подъемной силой газов, имеющих более высокую температуру, чем окружающий воздух. Повышение температуры и момента количества движения выбрасываемых газов приводит к увеличению подъемной силы и снижению их приземной концентрации.
Распространение газообразных примесей и пылевых частиц диаметром менее 10 мкм, имеющих незначительную скорость осаждения, подчиняется общим закономерностям. Для более крупных частиц эта закономерность нарушается, так как скорость их осаждения под действием силы тяжести возрастает. Поскольку при очистке от пыли крупные частицы улавливаются, как правило, легче, чем мелкие, в выбросах остаются очень мелкие частицы; их рассеивание в атмосфере рассчитывают так же, как и газовые выбросы.
В зависимости от расположения и организации выбросов источники загрязнения воздушного пространства подразделяют на затененные и незатененные, линейные и точечные. Точечные источники используют тогда, когда удаляемые загрязнения сосредоточены в одном месте. К ним относят выбросные трубы, шахты, крышные вентиляторы и другие источники. Выделяющиеся из них вредные вещества при рассеивании не накладываются одно на другое на расстоянии двух высот здания (с заветренной стороны). Линейные источники имеют значительную протяженность в направлении, перпендикулярном к ветру. Это аэрационные фонари, открытые окна, близко расположенные вытяжные шахты и крышные вентиляторы.
Незатененные, или высокие источники свободно расположены в недеформированном потоке ветра. К ним относят высокие трубы, а также точечные источники, удаляющие загрязнения на высоту, превышающую 2,5 Нзд. Затененные, или низкие источники расположены в зоне подпора или аэродинамической тени, образующейся на здании или за ним (в результате обдувания его ветром) на высоте h≤2,5Нзд.
Основньм документом, регламентирующим расчет рассеивания и определения приземных концентраций выбросов промышленных предприятий, является «Методика расчета концентраций в атмосферном воздухе вредных веществ, содержащихся в выбросах предприятий. ОНД–86». Эта методика позволяет решать задачи по определению ПДВ при рассеивании через одиночную незатененную трубу, при выбросе через низкую затененную трубу и при выбросе через фонарь из условия обеспечения ПДК в приземном слое воздуха.
При определении ПДВ примеси от расчетного источника необходимо учитывать ее концентрацию Сф в атмосфере, обусловленную выбросами от других источников. Для случая рассеивания нагретых выбросов через одиночную незатененную трубу
где Н– высота трубы; Q – объем расходуемой газовоздушной смеси, выбрасываемой через трубу; ΔТ–разность между температурой выбрасываемой газовоздушной смеси и температурой окружающего атмосферного воздуха, равной средней температуре самого жаркого месяца в 13 ч; А –коэффициент, зависящий от температурного градиента атмосферы и определяющий условия вертикального и горизонтального рассеивания вредностей; kF–коэффициент, учитывающий скорость оседания взвешенных частиц выброса в атмосфере; т и п – безразмерные коэффициенты, учитывающие условия выхода газовоздушной смеси из устья трубы.
Оборудование для очистки выбросов. В тех случаях, когда реальные выбросы превышают ПДВ, необходимо в системе выброса использовать аппараты для очистки газов от примесей.
Аппараты очистки вентиляционных и технологических выбросов в атмосферу делятся на: пылеуловители (сухие, электрические, фильтры, мокрые); туманоуловители (низкоскоростные и высокоскоростные); аппараты для улавливания паров и газов (абсорбционные, хемосорбционные, адсорбционные и нейтрализаторы); аппараты многоступенчатой очистки (уловители пыли и газов, уловители туманов и твердых примесей, многоступенчатые пылеуловители). Их работа характеризуется рядом параметров. Основными из них являются эффективность очистки, гидравлическое сопротивление и потребляемая мощность.
Эффективность очистки
где Свх и Свых–массовые концентрации примесей в газе до и после аппарата.
В ряде случаев для пылей используется понятие фракционной эффективности очистки
ŋi=(Cвxi-Свыхi)/Cвхi
где Свх/ и Сдых/–массовые концентрации /-и фракции пыли до и после пылеуловителя.















