Белов - БЖД (1006305), страница 47
Текст из файла (страница 47)
показатель адиабаты; π* – критическое отношение давления, равное
Для подбора предохранительного клапана или мембраны необходимо по заданному массовому расходу, который определяется как максимальный аварийный расход среды, определить площадь проходного сечения клапана.
Важной характеристикой предохранительного устройства является время истечения. При истечении газа из сосуда или аппарата ограниченной постоянной емкости через сбросное отверстие постоянного сечения реализуется звуковой режим истечения, если давление Pi ≥ Р"/π*, где Р" –давление в среде, в которую происходит истечение. В этом случае время истечения
Здесь нулевым индексом отмечены параметры в начальный момент времени.
Если истечение происходит в дозвуковой области, то время истечения
Здесь нулевым индексом отмечены параметры в начальный момент времени.
Значение коэффициента расхода предохранительного устройства зависит от конструктивных особенностей предохранительного устройства и указывается в паспорте на него. Если таковые данные отсутствуют, то обычно полагают А=ξ где ξ–коэффициент сопротивления предохранительного клапана.
Мембранные предохранительные устройства могут устанавливаться:
– вместо рычажно-грузовых и пружинных предохранительных клапанов, когда эти клапаны в рабочих условиях конкретной среды не могут быть применены вследствие их инерционности или других причин;
– перед предохранительными клапанами в случаях, когда предохранительные клапаны не могут надежно работать вследствие вредного воздействия рабочей среды (коррозия, эрозия, полимеризация, кристаллизация, прикипание, примерзание) или возможных утечек через закрытый клапан взрыво- и пожароопасных, токсичных, экологически вредных веществ и т. п.;
– параллельно с предохранительными клапанами для увеличения пропускной способности систем сброса давления;
– на выходной стороне предохранительных клапанов для предотвращения вредного воздействия рабочих сред со стороны сбросной системы и для исключения влияния колебаний противодавления со стороны этой системы на точность срабатывания предохранительных клапанов.
Предохранительные мембраны должны быть маркированы, при этом маркировка не должна оказывать влияния на точность срабатывания мембраны.
Содержание маркировки:
– наименование или товарный знак изготовителя;
– номер партии мембран;
– тип мембран;
– условный диаметр;
– рабочий диаметр;
– материал;
– минимальное и максимальное давление срабатывания мембран в партии при заданной температуре и при температуре 20 °С.
Порядок и сроки проверки исправности действия предохранительных устройств в зависимости от условий технологического процесса должны быть указаны в инструкции по эксплуатации предохранительных устройств, утвержденных владельцем сосуда в установленном порядке.
5.2. ЗАЩИТА ОТ МЕХАНИЧЕСКОГО ТРАВМИРОВАНИЯ
К средствам защиты от механического травмирования относятся предохранительные тормозные, оградительные устройства, средства автоматического контроля и сигнализации, знаки безопасности, системы дистанционного управления. Системы дистанционного управления и автоматические сигнализаторы на опасную концентрацию паров, газов, пылей применяют чаще всего во взрывоопасных производствах и производствах с выделением в воздух рабочей зоны токсичных веществ.
Предохранительные защитные средства предназначены для автоматического отключения агрегатов и машин при отклонении какого-либо параметра, характеризующего режим работы оборудования, за пределы допустимых значений. Таким образом, при аварийных режимах (увеличении давления, температуры, рабочих скоростей, силы тока, крутящих моментов и т. п.) исключается возможность взрывов, поломок, воспламенений. В соответствии с ГОСТ 12.4.125–83 предохранительные устройства по характеру действия бывают блокировочными и ограничительными.
Блокировочные устройства по принципу действия подразделяют на механические, электронные, электрические, электромагнитные, пневматические, гидравлические, оптические, магнитные и комбинированные.
Ограничительные устройства по конструктивному исполнению подразделяют на муфты, штифты, клапаны, шпонки, мембраны, пружины, сильфоны и шайбы.
Блокировочные устройства препятствуют проникновению человека в опасную зону либо во время пребывания его в этой зоне устраняют опасный фактор.
Особенно большое значение этим видам средств защиты придается на рабочих местах агрегатов и машин, не имеющих ограждений, а также там, где работа может вестись при снятом или открытом ограждении.
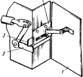
Механическая блокировка представляет собой систему, обеспечивающую связь между ограждением и тормозным (пусковым) устройством. При снятом ограждении агрегат невозможно растормозить, а следовательно, и пустить его в ход (рис.5.6).
Электрическую блокировку применяют на электроустановках с напряжением от 500 В и выше, а также на различных видах технологического оборудования с электроприводом. Она обеспечивает включение оборудования только при наличии ограждения. Электромагнитную (радиочастотную) блокировку применяют для предотвращения попадания человека в опасную зону. Если это происходит, высокочастотный генератор подает импульс тока к электромагнитному усилителю и поляризованному реле. Контакты электромагнитного реле обесточивают схему магнитного пускателя, что обеспечивает электромагнитное торможение привода за десятые доли секунды. Аналогично работает магнитная блокировка, использующая постоянное магнитное поле.
Оптическая блокировка находит применение в кузнечно-прессовых и механических цехах машиностроительных заводов. Световой луч, попадающий на фотоэлемент, обеспечивает постоянное протекание тока в обмотке блокировочного электромагнита. Если в момент нажатия педали в рабочей (опасной) зоне штампа окажется рука рабочего, падение светового тока на фотоэлемент прекращается, обмотки блокировочного магнита обесточиваются, его якорь под действием пружины выдвигается и включение пресса педалью становится невозможным.
Э
Р и с. 5.6. Схема механической блокировки:
7–ограждение; 2–рычаг; тормоза; 3–запорная планка; 4–направляющая
лектронную (радиационную) блокировку применяют для защиты опасных зон на прессах, гильотинных ножницах и других видах технологического оборудования, применяемого в машиностроении (рис. 5.7).И
Рис. 5.7. Электронная (радиационная) блокировка
Р и с . 5.8. Схема пневматической блокировки:
1–реле давления; 2–запорное устройство; 3– электромагнит
злучение, направленное от источника 5, улавливается трубками Гейгера 1. Они воздействуют на тиратронную лампу 2, от которой приводится в действие контрольное реле 3. Контакты реле либо включают, либо разрывают цепь управления, либо воздействуют на пусковое устройство. Контрольное реле 4 работает при нарушении системы блокировки, когда трубки Гейгера не работают в течение 20 с. Преимуществом блокировки с радиационными датчиками является то, что они позволяют производить бесконтактный контроль, так как не связаны с контролируемой средой. В ряде случаев при работе с агрессивными или взрывоопасными средами в оборудовании, находящемся под большим давлением или имеющем высокую температуру, блокировка с применением радиационных датчиков является единственным средством для обеспечения требуемых условий безопасности.Пневматическая схема блокировки широко применяется в агрегатах, где рабочие тела находятся под повышенным давлением: турбинах, компрессорах, воздуходувках и т. д. Ее основным преимуществом является малая инерционность. На рис. 5.8 приведена принципиальная схема пневматической блокировки. Аналогична по принципу действия гидравлическая блокировка.
Примерами ограничительных устройств являются элементы механизмов и машин, рассчитанные на разрушение (или несрабатывание) при перегрузках. К слабым звеньям таких устройств относятся: срезные штифты и шпонки, соединяющие вал с маховиком, шестерней или шкивом; фрикционные муфты, не передающие движения при больших крутящих моментах; плавкие предохранители в электроустановках; разрывные мембраны в установках с повышенным давлением и т. п. Слабые звенья делятся на две основные группы: звенья с автоматическим восстановлением кинематической цепи после того, как контролируемый параметр пришел в норму (например, муфты трения), и звенья с восстановлением кинематической цепи путем замены слабого звена (например, штифты и шпонки). Срабатывание слабого звена приводит к останову машины на аварийных режимах.
Тормозные устройства подразделяют: по конструктивному исполнению –на колодочные, дисковые, конические и клиновые; по способу срабатывания – на ручные, автоматические и полуавтоматические; по принципу действия –на механические, электромагнитные, пневматические, гидравлические и комбинированные; по назначению –на рабочие, резервные, стояночные и экстренного торможения.
Оградительные устройства – класс средств защиты, препятствующих попаданию человека в опасную зону. Оградительные устройства применяют для изоляции систем привода машин и агрегатов, зоны
Рис 59 Конструкции стационарных ограждений станков:
а–полное ограждение; б–частичное ограждение режущего инструмента; в–частичное ограждение зоны резания; 1–поворотная ось экрана; 2–рамка, 3–прозрачный экран
обработки заготовок на станках, прессах, штампах, оголенных токове-дущих частей, зон интенсивных излучений (тепловых, электромагнитных, ионизирующих), зон выделения вредных веществ, загрязняющих воздушную среду и т. п. Ограждают также рабочие зоны, расположенные на высоте (леса и т. п.).
Конструктивные решения оградительных устройств весьма разнообразны. Они зависят от вида оборудования, расположения человека в рабочей зоне, специфики опасных и вредных факторов, сопровождающих технологический процесс. В соответствии с ГОСТ 12.4.125–83, классифицирующим средства защиты от механического травмирования, оградительные устройства подразделяют: по конструктивному исполнению –на кожухи, дверцы, щиты, козырьки, планки, барьеры и экраны; по способу изготовления–на сплошные, несплошные (перфорированные, сетчатые, решетчатые) и комбинированные; по способу установки–на стационарные и передвижные. Примерами полного стационарного ограждения служат ограждения распределительных устройств электрооборудования, кожуха галтовочных барабанов, корпуса электродвигателей, насосов и т. п.; частичного– ограждения фрез или рабочей зоны станка (рис. 5.9).
Возможно применение подвижного (съемного) ограждения. Оно представляет собой устройство, сблокированное с рабочими органами механизма или машины, вследствие чего закрывает доступ в рабочую зону при наступлении опасного момента. Особенно широкое распространение получили такие ограничительные устройства в станкостроении (например, в станках с ЧПУ ОФЗ–36).
Переносные ограждения являются временными. Их используют при ремонтных и наладочных работах для защиты от случайных прикосновений к токоведущим частям, а также от механических травм и ожогов. Кроме того, их применяют на постоянных рабочих местах сварщиков для защиты окружающих от воздействия электрической дуги и ультрафиолетовых излучений (сварочные посты). Выполняются они чаще всего в виде щитов высотой 1,7 м.















