Тяговый привод колесных пар тепловоза
§16. Тяговый привод колесных пар тепловоза
Тяговый привод колесных пар предназначен для передачи вращающего момента от тягового электродвигателя или гидравлической передачи (в зависимости от типа передачи) к движущим осям локомотива и является одним из основных узлов тележки тепловоза. Различают индивидуальный и групповой тяговые приводы. В первом случае вращающий момент передается на каждую ось тепловоза автономным (индивидуальным) приводом, во втором — распределяется на две и более колесные пары, механически связанные между собой.
Индивидуальный тяговый привод получил наибольшее распространение в мировом локомотивостроении благодаря простоте и надежности конструкции. В нашей стране практически все магистральные тепловозы с электрическими передачами и электровозы оборудованы индивидуальным тяговым приводом. При этом типе привода каждая колесная пара тепловоза приводится в движение от отдельного тягового электродвигателя. Следовательно, при индивидуальном тяговом приводе число тяговых электродвигателей равно количеству колесных пар тепловоза.
Групповой тяговый привод нашел широкое применение в конструкциях экипажной части тепловозов с гидродинамическими передачами. В этом случае вращающий момент передается и распределяется по колесным парам тепловоза от выходного вала гидропередачи с помощью системы карданных валов и осевых редукторов или так называемого спарникового механизма.
Как уже отмечалось ранее, в ряде стран мира, например, во Франции серийно строились тепловозы с электрической передачей и электровозы с групповым приводом колесных пар. В нашей стране в середине 70-х годов прошлого века на Людиновском тепловозостроительном заводе (ныне ОАО «Людиновотепловоз») также был построен опытный тепловоз ТЭМ12 мощностью 880 кВт (1200 л.с.}, который имел групповой привод колесных пар. На четырехосном тепловозе ТЭМ12 были установлены два тяговых электродвигателя (ТЭД) типа ЭД-121, по одному на каждую тележку. Якори обоих двигателей были соединены между собой и с колесными парами тепловоза посредством карданных валов и осевых редукторов по схеме, похожей на тяговый привод колесных пар тепловоза ТГМ6 с гидравлической передачей.
Тележку с одним электродвигателем принято называть мономоторной, т.е. одномоторной. Она имеет сложную конструкцию и, следовательно, низкую надежность тягового привода, что и объясняет их ограниченное применение в практике тепловозостроения.
Рассмотрим более подробно разновидности конструкций индивидуальных и групповых тяговых приводов колесных пар тепловозов.
ИНДИВИДУАЛЬНЫЙ ТЯГОВЫЙ ПРИВОД
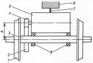
При индивидуальном приводе вращающий момент от тягового двигателя к колесной паре передается с помощью одноступенчатого тягового редуктора, состоящего из цилиндрической зубчатой пары: ведущей шестерни 4 на валу тягового электродвигателя 5 и ведомого зубчатого колеса 2 — на оси колесной пары 3 (рис. 1), т.е. фактически основным звеном индивидуального тягового привода является одноступенчатый тяговый редуктор. Передаточное число i тягового редуктора (отношение чисел зубьев ведомого зубчатого колеса к ведущей шестерни) зависит от назначения тепловоза: у грузовых и маневровых оно больше (обычно i = 4,41 - 75/17), у пассажирских — меньше (например, у тепловоза ТЭП70 i = 3,12 = 78/25).
Рекомендуемые материалы

Рис. 1. Схема опорно-осевого подвешивания тяговых электродвигателей тепловозов:
1 — бандаж колеса; 2 — зубчатое колесо; 3 — ось колесной пары; 4 — ведущая шестерня; 5 — ТЭД; 6 — рама тележки; 7 — пружинный комплект; 8 — МОП
У читателя может возникнуть вопрос, а нельзя ли якорь тягового электродвигателя напрессовать непосредственно на ось колесной пары, а его статор разместить на раме тележки? В этом случае отпадает необходимость в тяговом редукторе, что значительно упростит и удешевит конструкцию ходовой части тепловоза и повысит его надежность. В принципе напрашивается положительный ответ и, кстати, такая конструкция тягового привода колесных пар была реализована на первых трамваях. Однако возникает целый ряд серьезных проблем, решение которых применительно к условиям работы железнодорожного транспорта не представляется возможным.
Во-первых, мощность тягового электродвигателя, которая зависит от его размеров и частоты вращения якоря, будет ограничена допустимой (по условиям безопасности движения) величиной просвета между головкой рельса и нижней частью корпуса двигателя и скоростью движения тепловоза. Во-вторых, во время движения тепловоза узлы тяговых электродвигателей будут испытывать серьезное динамическое воздействие от ударов на стыках рельсов и при прохождении тепловозом неровностей пути, что может быстро привести к их поломке и, соответственно, к порче локомотива в пути следования и срыву перевозочного процесса на железной дороге.
В-третьих, увеличится так называемая неподрессоренная масса колесных пар и возрастет нагрузка от колесной пары на рельсы, что отрицательно скажется на надежности верхнего строения пути. По действующим на сети дорог России стандартам предельная величина нагрузки от колесной пары подвижного состава на рельсы не должна превышать величину 230 кН (23 тс).
По этим и ряду другим причинам тяговые двигатели размещают на тележках тепловоза так, чтобы оси их якорей были параллельны осям колесных пар, а вращающий момент передавался посредством двух зубчатых колес тягового редуктора, что позволяет подрессоривать массу двигателей. Таким образом, одноступенчатый тяговый редуктор является связующим звеном между необрессоренной колесной парой и другими (подрессоренными) узлами колесно-моторного блока локомотива.
На отечественных тепловозах нашли применение два способа подвешивания тяговых электродвигателей: опорно-осевое и опорно-рамное.
При опорно-осевом подвешивании часть нагрузки от веса тягового электродвигателя (примерно половина его веса) передается на ось колесной пары, а другая часть через упругие опоры (комплект пружин) — на раму тележки. При таком способе подвешивания необрессоренная масса одного колесно-моторного блока грузового тепловоза, например 2ТЭ10В, которая жестко передается от колесной пары на рельсы, составляет около 4250 кг.
Опорно-осевое подвешивание тяговых электродвигателей получило наибольшее распространение на грузовых, маневровых и промышленных тепловозах с электрическими передачами. Тяговый электродвигатель 5 (см. рис. 1) одной стороной станины жестко опирается на ось колесной пары 3 через два подшипника скольжения 8, называемых моторно-осевыми, а другой стороной — через пружинный комплект 7 на подрессоренную раму тележки 6 (упругая опора). Вращающий момент от шестерни 4 тягового электродвигателя передается на зубчатое колесо 2, напрессованное на ось колесной пары. Такая компоновка двигателя и колесной пары обеспечивает постоянство межцентрового расстояния зубчатой передачи «А» при опорно-осевом подвешивании и дает возможность реализации силы тяги более 40 кН на каждой оси грузового тепловоза, что очень важно для вождения тяжеловесных поездов.
Основным недостатком опорно-осевого подвешивания тяговых электродвигателей является повышенное динамическое воздействие на путь, так как примерно половина веса двигателя (15 — 25 кН) жестко опирается на ось колесной пары. Износ моторно-осевых подшипников приводит к перекосу остова двигателя и усложняет условия работы тягового двигателя. Удары на стыках рельсов и при прохождении тепловозом неровностей пути также отрицательно сказываются на надежности самих ТЭД.
Опорно-рамное подвешивание тяговых электродвигателей применено на отечественных пассажирских тепловозах ТЭП60, ТЭП70, ТЭП80, ТЭП70БС, а также на грузовых тепловозах серии 2ТЭ121 и опытном 2ТЭ70. Такой тип подвешивания тяговых двигателей отличается от опорно-осевого тем, что вес ТЭД полностью передается на раму тележки, т.е. тяговый электродвигатель, а в ряде случаев и зубчатый редуктор подрессорены. В результате снижается динамическое воздействие локомотива на путь, увеличиваются надежность и сроки службы тяговых двигателей, уменьшаются ремонтные и эксплуатационные расходы.

Рис, 2. Схема опорно-рамного подвешивания тяговых электродвигателей тепловозов:
1 — бандаж колеса; 2 — зубчатое колесо; 3 — ось колесной пары; 4 — ведущая шестерня; 5 — ТЭД; 6 — рама тележки; 7 — пружинный комплект; 8 — МОП; 9 — пальцы (валики); 10 — полый вал; 11 — упругие элементы
При такой конструкции тягового привода ведомое зубчатое колесо 2 (рис, 2) напрессовано не на ось колесной пары, как при опорно-осевом подвешивании, а на полый вал 10, который охватывает ось колесной пары с зазором 35 мм. Полый вал соединен с колесными центрами упругой связью, которая выполнена в виде нескольких металлических пальцев 9 и резиновых втулок 11, запрессованных в колесные центры. Тяговый электродвигатель 5 тремя кронштейнами с пружинными комплектами опирается на раму тележки. Моторно-осевые подшипники 8 в этом случае охватывают полый вал 10.
Передача вращающего момента от электродвигателя на ось колесной пары происходит через зубчатые колеса 2, 4 (редуктор), полый вал 10, металлические пальцы 9, резиновые втулки 11 и колесные центры. Наличие резиновых втулок 11 позволяет обеспечивать постоянство межцентрового расстояния «А» (см. рис. 2) при вертикальных перемещениях колесной пары, неизбежно возникающих при прохождении тепловозом неровностей пути.
На отечественных тепловозах получили распространение две принципиально разные системы опорно-рамного подвешивания ТЭД: с передачей вращающего момента на оба колеса колесной пары через полый вал и упругую связь (тяговые муфты) и одностороннего привода с помощью карданного полого вала и тяговых муфт, связывающих венец упругого зубчатого колеса с полым валом и этот карданный вал с одним из колес пары.
Первая система тягового привода применена на пассажирских тепловозах ТЭП60 и первых семи локомотивах серии ТЭП70 и, в основном, соответствует принципиальной схеме опорно-рамного подвешивания ТЭД, приведенной на рис. 2. В отличие от этой схемы привода, привод обоих колес колесных пар тепловоза ТЭП60 осуществляется с помощью шарнирно-поводковых муфт, получивших также название «привод системы «Альстом», в честь известной французской фирмы «Альстом», впервые в практике мирового локомотивостроения применившей подобную конструкцию на своих тепловозах и электровозах, построенных для железных дорог Франции. Прежде всего, это грузопассажирские тепловозы серий ВВ69000, СС70000, СС72000 и электровозы ВВ16500, СС6500, СС10000, СС10400, СС21000 и др.
Более совершенной конструкцией является односторонний привод колесных пар тепловоза. В этом случае вращающий момент от ступицы зубчатого колеса тягового редуктора передается на полый вал через упругую связь — шарнирно-поводковую муфту (муфту «Альстом»). Подобная система привода колесных пар локомотива, которая получила название «тяговый привод третьего класса», применена на серийном тепловозе серии ТЭП70.

Рис. 3. Опорно-рамный тяговый привод колесной пары тепловоза ТЭП70:
1 —ось колесной пары; 2 — колесный центр; 3, 16 — пальцы (валики); 4, 13 — фланцы полого вала; 5 — ТЭД; 6 — полый вал; 7 — неподвижная опора; 8 — опорный подшипник; 9 — упругое зубчатое колесо; 10 — фланец зубчатого колеса; 11 — бандаж колеса; 12 — резинометаллический шарнир; 14 — букса; 15 — бандажное кольцо
Шестерня тягового редуктора напрессована на вал якоря ТЭД тепловоза ТЭП70. Ступица упругого зубчатого колеса 9 редуктора (рис. 3) вращается на роликовых опорных подшипниках 8, размещенных на неподвижной опоре, которая, в свою очередь, жестко (шестью болтами) соединена с корпусом ТЭД.
Ступица колеса 9 имеет четыре прилива, выполненных в форме фланцев 10, в которых на металлических валиках 13 укреплены головки поводков (на рис. 3 поводки не показаны) с резинометаллическими шарнирами 12. Другая сторона (головка) поводка соединена с фланцем полого вала (на рис. 3 это правый фланец). Необходимо отметить, что все эти поводки, валики и резинометаллические шарниры собственно и составляют конструкцию шарнирно-поводковой муфты (муфты «Альстом»), обеспечивающую линейные и угловые перемещения полого вала относительно оси колесной пары за счет деформации резиновых элементов тяговых муфт.
Полый вал 6 (см. рис. 3), как и в приводе колесных пар тепловозов ТЭП60, охватывает ось колесной пары с определенным зазором. Далее через полый вал 6 вращающий момент передается к другой тяговой (также шарнирно-поводковой) муфте, которая размещена с наружной стороны колесного центра колеса, дальнего по отношению к тяговому редуктору. Эта тяговая муфта поводками соединяет полый вал с пальцами 3 и 16, запрессованными в колесном центре левого колеса. От этого колеса вращающий момент через ось колесной пары поступает к другому, ближнему к тяговому редуктору, колесу.
Таким образом, в системе опорно-рамного подвешивания ТЭД тепловоза ТЭП70 и тяговые двигатели, и тяговые редукторы являются подрессоренными узлами, так как крепятся на раме тележки через пружинные комплекты, а вращающий момент передается на ось колесной пары посредством тяговых муфт.
Применение на тепловозах ТЭП70 одностороннего привода третьего класса, по сравнению с приводом тепловоза ТЭП60, позволило снизить массу каждого колесно-моторного блока примерно на 2 т (а тяговых осей шесть!), значительно уменьшить динамическое воздействие на рельсовую колею при движении локомотивов и в целом повысить надежность работы колесно-моторных блоков тепловозов. Накопленный опыт эксплуатации тепловозов ТЭП70 с приводом третьего класса подтвердил высокую надежность шарнирно-поводковых муфт и тягового привода в целом.
Актуальной проблемой отечественного тепловозостроения остается создание надежной конструкции опорно-рамного подвешивания ТЭД для грузовых тепловозов. Главная трудность использования на грузовых тепловозах опорно-рамного привода — неизбежное увеличение межцентрового расстояния между шестерней и зубчатым колесом тягового редуктора (размер «А» на рис. 2) и, как следствие, габаритов и веса колесно-моторного блока, а также повышение нагрузки от колесной пары на рельсы.
Как отмечалось ранее, в процессе трогания с места и разгона тяжеловесных грузовых составов тепловозы должны иметь возможность реализовывать большие значения силы тяги (порядка 60 — 75 кН на ось). Выполнение данного условия возможно применением на каждой секции тепловоза силовой установки мощностью не менее 3000 кВт, а также тягового редуктора с повышенным (порядка 4,41) передаточным числом i. Напомним читателю, что на пассажирском тепловозе ТЭП60 применяют тяговый редуктор с i = 3,12 - 72/31. Это означает, что пассажирский тепловоз ТЭП60 с опорно-рамным приводом развивает силу тяги при трогании и разгоне в 1,9 раза меньше, чем секция грузового тепловоза 2ТЭ116, имеющая ту же мощность 2200 кВт, но оборудованная опорно-осевым приводом с i = 4,41.
В 1977 г. на Ворошиловградском тепловозостроительном заводе (ныне ОАО ХК «Лугансктепловоз») был построен первый опытный грузовой тепловоз 2ТЭ121 мощностью 2×2950 кВт с опорно-рамным приводом колесных пар.
Нагрузка от колесных пар тепловоза 2ТЭ121 получилась 245 кН, а диаметр колес увеличен до 1250 мм. Всего до 1987 г. было построено 34 тепловоза этой серии, которые проходили опытную эксплуатацию на Северной дороге и были приписаны к депо Печора.
На тепловозах 2ТЭ121 применена достаточно оригинальная конструкция опорно-рамного подвешивания ТЭД. Вращающий момент от якоря ТЭД передается не шестерне тягового редуктора, а через зубчатую муфту торсионному валу, расположенному внутри полого вала якоря ТЭД. Затем от торсионного вала вращающий момент передается через резинокордную муфту ведущей шестерне тягового редуктора, далее — венцу упругого зубчатого колеса, его ступице и, наконец, оси колесной пары тепловоза.
В процессе эксплуатации тепловозов 2ТЭ121 выявился ряд конструкционных недостатков, а также низкая надежность узлов тягового привода колесных пар, подшипников коленчатого вала дизеля, тормозной системы и ряда других узлов. Так, только за первые два года эксплуатации опытной партии тепловозов 2ТЭ121 учеными МИИТа было зафиксировано 579 отказов резинокордной тяговой муфты привода колесных пар локомотива. В целом количество неплановых ремонтов тепловозов 2ТЭ121 достигло величины 211,3 на 1 млн. км пробе-га. Также был отмечен серьезный перерасход тепловозами этой серии дизельного топлива по сравнению с грузовыми тепловозами 2ТЭ116. Повышенные нагрузки от колесных пар тепловоза 2ТЭ121 на рельсы также негативно отразились на техническом состоянии верхнего строения пути. По этим и ряду других причин тепловозы 2ТЭ121 не выдержали эксплуатационные испытания, поэтому их модернизация и производство были прекращены.
В последние годы на предприятии «Коломенский завод», входящем в состав объединения «Трансмашхолдинг», построен опытный образец грузового двухсекционного тепловоза нового поколения серии 2ТЭ70 мощностью 2×3000 кВт, предназначенного для вождения поездов со скоростями до 110 км/ч. Двенадцатиосный тепловоз 2ТЭ70 может реализовывать значение силы тяги на расчетном (длительном) режиме работы 608 кН (2×304 кН), а при трогании с места — до 75 кН на каждой оси. Он имеет приемлемую нагрузку от колесной пары на рельсы, равную 2П = 230,5 кН. Локомотив оборудован односторонней системой тягового привода колесных пар, схожей с конструкцией тягового привода третьего класса пассажирских тепловозов ТЭП70, ТЭП80 и ТЭП70БС.
Важную роль в конструкции индивидуального тягового привода, особенно при опорно-осевом подвешивании тяговых электродвигателей, играют моторно-осевые подшипники (МОП). Они могут быть двух типов — скольжения и качения. Читателю хорошо известны преимущества подшипников качения, особенно роликовых по сравнению с подшипниками скольжения. Например, применение подшипников качения в буксах локомотивов и вагонов позволяет примерно в восемь раз снизить затраты мощности дизеля на преодоление сил сопротивления от трения в буксовых подшипниках при трогании с места и разгоне поезда по сравнению с вагонами, оборудованными буксами с подшипниками скольжения.
Тем не менее, на всех сериях отечественных локомотивов применяются подшипники скольжения. Основные достоинства их заключаются в простоте конструкции, возможности замены вкладышей без расформирования колесной пары и сравнительно незначительной толщине, что имеет существенное значение при ограниченном расстоянии между центрами зубчатого колеса и шестерни (размер «А» на рис. 1 и 2).
Попытки применения на опытных тепловозах 2ТЭ10Л и электровозах конструкций приводов с цилиндрическими роликовыми МОП показали их недостаточную надежность из-за перекосов и защемления роликов в эксплуатации, что поставило под угрозу безопасность движения поездов. Дополнительно возникли серьезные затруднения при ремонте МОП, так как при смене роликов приходилось разбирать колесную пару, а после ее формирования проводить полное освидетельствование со всеми видами работ (см. «Локомотив» № 7, 2007 г.). В этой связи опытные колесно-моторные блоки с роликовыми моторно-осевыми подшипниками были изъяты из эксплуатации.
Применяемые на тепловозах моторно-осевые подшипники скольжения имеют по два разъемных вкладыша, изготовленные из бронзы ОЦС 4-4-17. Верхний вкладыш 3 (рис. 4} вставляется в расточку корпуса 1 тягового электродвигателя, нижний 4 — в шапку 5, притягиваемую к корпусу болтами 15. Нижний вкладыш имеет прямоугольное окно 14размером 180×60мм для подвода смазки (осевого масла) к шейке оси 2. Положение обоих вкладышей фиксируется шпонкой 16. Вкладыши МОП одного тягового электродвигателя взаимозаменяемые.

Рис. 4. Моторно-осевой подшипник с польстером:
1 — корпус ТЭД; 2 — ось колесной пары; 3 — верхний вкладыш; 4— нижний вкладыш; 5 — шапка МОП; 6 — масляная ванна; 7 — направляющее устройство; 8 — крышка; 9 — пружина; 10 — стержень поплавка; 11 — пробка; 12 —коробка; 13 — пакет фитилей; 14 —окно; 15 —болт; 16 — шпонка.
Конструкции МОП различают по системам их смазки. Так, на тепловозах старой постройки ТЭЗ и 2ТЭ10Л, оборудованных тяговыми электродвигателями ЭДТ-200Б и ЭД-107 (соответственно), шейки смазывают с помощью набивки из шерстяной пряжи.
На грузовых тепловозах более поздних годов выпуска — 2ТЭ10В, ЗТЭ10М, 2ТЭ116 и др., на которых установлены тяговые электродвигатели ЭД-118А, применена более простая и относительно совершенная польстерная (фитильная) система смазки МОП. Принцип работы этой системы основан на капиллярной подаче масла из ванны к подушке (польстеру), прижатой пружиной к смазываемой части оси колесной пары. Корпус направляющего устройства 7 установлен и закреплен болтами на дне масляной ванны шапки 5 подшипника. В направляющих плоскостях устройства 7 перемещается коробка 12, в которой закреплен пакет фитилей 13. Этот пакет состоит из двух войлочных пластин с хлопчатобумажными фитилями между ними. Пружина 9, закрепленная на направляющем устройстве, прижимает к шейке 2 оси колесной пары коробку с фитилями усилием 40 — 70 Н.
Моторно-осевые подшипники смазывают осевой смазкой марки Л, 3 и С в зависимости от времени года. Уровень смазки в масляной ванне контролируется по стержню 10 поплавка при открытии крышки 8 или щупом. Пробка 11, расположенная в самой низкой части корпуса, служит для слива масла и конденсата.
К недостаткам фитильной подачи масла следует отнести замасливание (уплотнение) трущихся частей польстера, а также неудобство контроля зазора на «масло» в подшипнике в эксплуатационных условиях, что отрицательно сказывается на надежности экипажной части тепловозов.
Как отмечалось ранее (см. «Локомотив» № 8, 2007 г.), для повышения надежности колесно-моторных блоков грузовых тепловозов 2ТЭ10У и 2ТЭ116 начиная с 1986 г. стали устанавливать модифицированные тяговые электродвигатели постоянного тока ЭД-118Б с принудительной смазкой МОП.
Дополнительно к польстерной (фитильной) системе смазки, как на двигателях ЭД-118А, в средней части оси колесной пары каждого колесно-моторного блока с ЭД-118Б установлен маслосборник вместимостью 35 л. На крышке маслосборника смонтирован шестеренчатый масляный насос, имеющий механический привод от оси колесной пары посредством пары зубчатых колес (редуктора).
МОП двигателя ЭД-118Б состоят из двух вкладышей — нижнего и верхнего. В отличие от МОП двигателей ЭД-118А, нижний вкладыш ЭД-118Б совместно с корпусом МОП составляют единый осевой подшипник скольжения, который включает в себя две польстерные камеры (по одной для каждого МОП) и крепится к корпусу.
При движении тепловоза шестеренчатый масляный насос подает масло из маслосборника по каналам в польстерные камеры, откуда самотеком через окна во вкладышах масло проникает в зазор между осью колесной пары и вкладышами МОП. В результате создается так называемый масляный клин, обеспечивающий жидкостное трение.
Отработанное масло по каналам сливается в маслосборник. Таким образом, круг циркуляции смазки образован каналами, соединяющими оба МОП с маслосборником, масляным насосом, маслосборником и польстерным устройством.
Так как производительность масляного насоса зависит, в первую очередь, от частоты вращения колесной пары (скорости движения), принудительная система смазки обеспечивает надежную работу МОП двигателей ЭД-118Б лишь при достижении скорости движения тепловоза примерно 25 км/ч. В период разгона и работе тепловоза при меньших скоростях подача смазки к вкладышам МОП осуществляется польстерной системой смазки так же, как и на двигателях ЭД-118А.
Необходимо заметить, что вкладыши МОП двигателей ЭД-118Б выполнены биметаллическими с заливкой баббитом марки Б83 толщиной 2,5 мм. Такая конструкция вкладышей позволяет уменьшить вероятность задиров шеек осей колесных пар тепловоза, что наблюдалось при эксплуатации бронзовых вкладышей двигателей ЭД-118А. В целом интенсивность износа биметаллических вкладышей с принудительной системой смазки стала в два раза ниже, чем при польстерной смазке МОП.
Нужно отметить, что колесно-моторные блоки с тяговыми электродвигателями ЭД-118А и ЭД-118Б взаимозаменяемы.
Тяговый редуктор тепловоза предназначен для преобразования величины вращающего момента при его передаче от якоря ТЭД к оси колесной пары.
Тяговые редукторы тепловоза работают исключительно в неблагоприятных условиях: большие статические и динамические нагрузки, вибрации, непосредственная близость таких источников тепловой энергии, как ТЭД и тормозные колодки, возможность попадания в зацепление воды, снега и пыли (в том числе металлических частиц), сложность визуального и технического контроля даже на стоянках поезда и др.
Как отмечалось выше, на тепловозах применяют односторонний тяговый редуктор, который состоит из ведущей шестерни (малого зубчатого колеса), зубчатого колеса и кожуха. Последний защищает зубчатые колеса редуктора от атмосферных осадков, пыли и грязи, а также служит емкостью для смазки зубчатого зацепления.
Шестерня тягового редуктора изготовлена из стали 20Х2Н4А. Она напрессовывается на конический хвостовик вала якоря ТЭД тепловым способом, с предварительным нагревом до температуры 170 °С. Прочность посадки шестерни обеспечивается натягом 1,3 — 1,45 мм. Для предотвращения сползания шестерни с конического хвостовика вала в процессе эксплуатации она дополнительно закреплена гайкой и законтрена отгибочной шайбой.

Рис. 5. Упругое зубчатое колесо тягового редуктора грузовых тепловозов:
1 —гайка; 2, 3, 5, 6, 14, 16 —втулки; 4 —зубчатый венец колеса; 7 —ограничительное кольцо; 8 — ролик; 9 — болт; 10 — отражательное кольцо; 11 — шайба; 12 — полукольцо; 13, 20 — пальцы; 15, 21, 22 — амортизаторы; 17 — тарелка; 18 — ступица колеса; 19 — пружинное кольцо; 23, 24 — упругие элементы
Зубчатое колесо (рис. 5) состоит из ступицы 18, напрессованной на ось колесной пары, зубчатого венца 4, который соединен со ступицей при помощи двух тарелок 17, и упругих элементов 23 и 24. Упругая связь зубчатого венца 4 со ступицей, состоящая из шестнадцати упругих элементов, равномерно расположенных по окружности колеса при работе редуктора, позволяет венцу занимать такое положение, при котором обеспечивается оптимальное зацепление двух зубчатых колес, т.е. наиболее полное прилегание по длине зубьев шестерни и колеса. Такие зубчатые колеса называют упругими и самоустанавливающимися.
Зубчатый венец 4 изготавливают из стали 45ХН. Рабочая поверхность зубьев подвергается закалке, чем обеспечиваются их заданная твердость и износостойкость.
ГРУППОВОЙ ТЯГОВЫЙ ПРИВОД.
Как отмечалось ранее, групповой привод колесных пар применяется на всех отечественных тепловозах с гидродинамическими передачами. Вращающий момент от выходного вала гидропередачи к колесным парам тепловоза при таком типе привода может быть передан либо с помощью спарникового механизма, аналогичному паровозному, либо карданным приводом, состоящим из шарниров (карданов), карданных валов и осевых редукторов.
Спарниковый механизм нашел применение в тяговом приводе промышленных тепловозов, построенных на Муромском тепловозостроительном заводе (ныне ОАО «Муромтепловоз»), — ТГМ1, ТГМ23В, ТГМ23Д и др. Он состоит из отборного вала и системы спарников, связывающих его с движущимися осями. На каждую сторону тепловоза устанавливают по три сочлененных между собой спарника: переднего, заднего и среднего. Соединение колесных пар с рычагами осуществляется с помощью шарнирных валиков (пальцев) и стальных втулок, которые запрессованы в головки дышел. На рис. 6 показан тепловоз ТГМ23В со спарниковым приводом колесных пар.
Такой тип группового тягового привода отличается простотой устройства и обслуживания, надежностью и низкой стоимостью изготовления. Однако необходимость соединения всех осей рычажной передачей не позволяет использовать такой тяговый привод на тележечных локомотивах. К недостаткам этого типа привода также нужно отнести повышенное динамическое воздействие экипажа на путь, особенно при высоких скоростях движения, из-за неуравновешанности рычажного механизма. Тем не менее, применение такого типа привода на безтележечных тепловозах Муромского тепловозостроительного завода, имеющих максимальную скорость движения 30 км/ч и мощность около 300 кВт, экономически оправдано.
Карданный привод применяется в конструкциях тепловозов тележечного типа с гидравлическими передачами, выпускаемых Людиновским (ТГ22, ТГМ6, ТГМ4 и др.) и Камбарским (ТГМ40 и ТУ7) тепловозостроительными заводами. Вращающий момент от дизеля (рис. 7) передается к гидропередаче ГДП через эластичную муфту 1, затем от выходного вала гидропередачи распределяется на две тележки: сначала через раздаточные карданные валы 5 к средним осевым редукторам 3 колесных пар, далее промежуточными карданными валами 4 —к крайним осевым редукторам 2 и на привод колесных пар.

Вместе с этой лекцией читают "24 Поражения нервной системы при коревой вакцинации".
Рис. 6. Тепловоз ТГМ23В со спарниковым механизмом

Рис. 7. Схема группового привода колесных пар тепловозов ТГМ6Д и ТГМ8:
1 — упругая муфта; 2, 3 — осевые редукторы; 4, 5 — карданные валы
Необходимо отметить, что применение группового тягового привода, по сравнению с индивидуальным, позволяет значительно (до 30 %) повысить величину коэффициента сцепления. Другими словами, экипаж с групповым приводом обладает меньшей склонностью к боксованию, т.е. более высокими тяговыми свойствами, что очень важно при выполнении маневровой и грузовой работы локомотивов.
Итак, мы рассмотрели основные вопросы, связанные со способами передачи вращающего момента от тягового электродвигателя или гидропередачи к колесным парам тепловоза. Следующие, не менее важные вопросы, это о том, как передать силу тяги от ведущих колесных пар к рамам тележек и раме тепловоза, о силовом взаимодействии экипажа локомотива и пути, а также об условиях устойчивого и безопасного движения в рельсовой колее.





















