Оборудование для механизации стрижки овец
31. Оборудование для механизации стрижки овец. Стригальные цехи. устройство
и рабочий процесс электростригальных машинок.
Для комплексной механизации производственных процессов на стригальных пунктах и в выносных цехах выпускаются комплекты технологического оборудования КТО-24, КТО-48 и ВСЦ-24/200. Для комплексной механизации поточного способа стрижки овец предназначен комплект оборудования КПС-250.
В состав комплектов входят электростригальные агрегаты ЭСА-1Д (с одной машинкой) и ЭСА-12Г (с двенадцатью машинками). Агрегат ЭСА-12Г применяется для стригальных пунктов на 12, 24, 36, 48 и 60 рабочих мест. Стригальные пункты на 24, 36, 48 и 60 рабочих мест оборудуют путем сдваивания электрических силовых сетей агрегатов ЭСА-12Г через распределительные щитки без каких-либо дополнительных переделок. Агрегаты питаются электроэнергией от сети переменного тока 220/380 В. В местах, не имеющих электроэнергии, агрегаты могут комплектоваться передвижными электростанциями.
Агрегат ЭСА-12Г состоит из 12 машинок МСО-77Б для стрижки овец, 12 гибких валов ВГ-10 с броней и арматурой, 12 подвесных электродвигателей АОЛ-0,12-2с, силовой и осветительной сети с распределительным ящиком. Агрегат укомплектован точильным аппаратом ТА-1 или ДАС-350.
В состав комплекта КТО-24 входят транспортер шерсти (рун) ТШ-0,5А, гидравлический пресс ПГШ-1,0Б, стол СКШ-200А для классировки шерсти, точильный однодисковый аппарат ТА-1, доводочный аппарат ДАС-350 с суппортом; 24 машинки МСО-77Б для стрижки овец, 24 гибких вала ВГ-10, 24 электродвигателя для привода машинок, весы ВЦП-25, весы РП-500Г-13М.
Пресс стрижки и первичной обработки шерсти с использованием комплекта КТО-24 организуют так. Оборудование комплекта размещают внутри стригального пункта. перед стрижкой отару овец загоняют в загоны, примыкающие к помещению стригального пункта. В этих загонах подвальщики ловят овец и подают их к рабочим местам стригалей. У каждого из 24 стригалей имеется набор жетонов с указанием номера рабочего места. После стрижки машинкой каждой овцы стригаль укладывает руно на весы и по номуру жетона учетчик записывает в ведомость массу руна отдельно каждому стригалю.
Взвешенное руно поступает на стол для классировки шерсти, где опытный классировщик отделяет сечку и кизячную шерсть, перестриг, посторонние примеси и определяет массу и класс шерсти. С классировочного стола шерсть попадает в бокс соответствующего класса, откуда прессовщики берут ее для прессования в кипы. Готовую упакованную кипу взвешивают на весах, маркируют и затем грузят в транспортное средство.
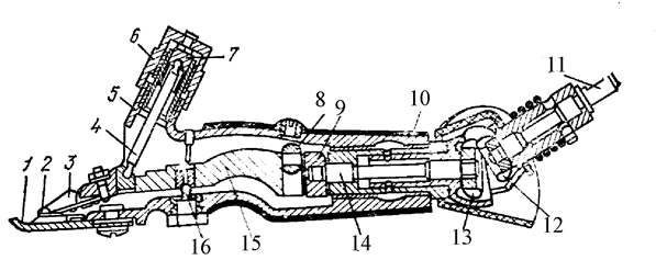
Машинка МСО-77Б (рис. 1) включает в себя режущий аппарат, нажимной, эксцентриковый и шарнирный механизмы и корпус.
Рекомендуемые материалы
Режущий аппарат предназначен для срезания шерсти и состоит из ножа 2 и гребенки 1. При работе машинки зубья гребенки входят в шерсть, расчесывая и поддерживая ее при срезании. Гребенка имеет два отверстия для крепления к державке точильного аппарата и криволинейный паз на поверхности для уменьшения площади её соприкосновения с ножом. Нож, совершая возвратно-поступательное движение, срезает шерсть, попадающую между зубьями гребенки. Тонкие стенки и коробчатая форма делают нож эластичным, что улучшает прилегание его рабочей поверхности к поверхности гребенки.
Нажимной механизм, прижимающий нож к гребенке, обеспечивает минимальный зазор между их рабочими поверхностями. Этот механизм смонтирован в приливе корпуса машинки.
Эксцентриковый механизм через систему передач преобразует вращательное движение вала электродвигателя в колебательное движение ножа.
Вместе с этой лекцией читают "Устойчивость и развитие в культуре".

Рис. 1 Машинка для стрижки овец МСО-77Б:
1 – гребенка; 2 – нож; 3 – нажимная лапка; 4 – упорный стержень; 5 – прилив корпуса; 6 – нажимная гайка; 7 – нажимной патрон; 8 – ролик; 9 – эксцентрик (кривошип); 10 – корпус; 11 – передаточный вал; 12 – ведущая шестерня; 13 – ведомая шестерня; 14 - вал эксцентрика; 15 – рычаг; 16 – центр вращения.
Шарнирный механизм позволяет работать машинке при различных положениях эксцентрикового и передаточного валов, что улучшает условия эксплуатации гибкого вала. механизм защищен кожухами.
Корпус соединяет все механизмы и одновременно является рукояткой. В нем имеются три резьбовых отверстия: верхнее – смотровое для смазки ролика эксцентрика, нижнее – для крепления центра колебаний рычага и боковое – для смазки валика эксцентрика.
Высокочастотная стригальная машинка МСУ-200 состоит из стригальной головки, электродвигателя и шнура питания. Стригальная головка включает в себя корпус, передаточный и нажимной механизмы и режущий аппарат. Передаточный механизм имеет установленные на общем валу эксцентрик и шестерню редуктора, которая приводится во вращение от вала ротора электродвигателя. корпус стригальной головки машинки изготовлен из алюминия и имеет арматуру в виде стальной втулки с буртами и накатной по наружному диаметру. Машинка входит в комплект агрегата ЭСА-12/200, для ее работы используется преобразователь тока И-75-В.





















