Редукционно-охладительные установки
Лекция 11
Редукционно-охладительные установки
Редукционно - охладительные установки (РОУ) снижают температуру и давление пара до значений, которые необходимы потребителю.
Редукционные установки (РУ) могут применяться только с целью снижения давления пара.
Охладительные установки (ОУ) предназначены для охлаждения пара до заданного значения температуры.
Условное обозначение РОУ
РОУ способен производить 60 тонн пара в час, при этом давление острого пара составляет 4.0 МПа, давление редуцированного пара - 1.5 МПа, поддерживаемая температура свежего пара равна 450 °С, температура редуцированного пара - 300°С:
| РОУ 60 | 4.0 – 450 |
| 1.2 – 300 |
Рекомендуемые материалы
ОУ имеетпроизводительность 30 тонн пара в час, имеет давление острого пара, равное 3.15 МПа, температуру свежего пара 420 °С, охлажденный пар имеет температуру 300°С:
| ОУ 30 | 3.15 – 420 |
| 3.15 – 300 |
РУ имеет производительность 40 т/ч, значение давления острого пара составляет 1.4 МПа, значения давления редуцированного пара равны 0.6 МПа, свежий пар имеет температуру 350°С:
| РУ 40 | 1.4 | 350 |
| 0.6 |
БРОУ - быстродействующие редукционно-охладительние установки
Принцип работы редукционно-охладительных установок
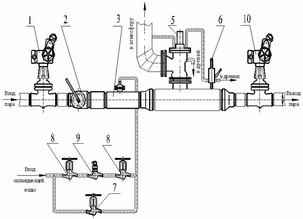
Первая ступень по снижению давления (дросселирования) пара происходит в регулирующем клапане (поз. 1), куда острый пар поступает через запорную задвижку рис. 1 (поз. 1) по паропроводу.
При больших перепадах давлений, с целью уменьшения шума во время работы, Установки обязательно имеют дополнительные ступени дросселирования для того, чтобы при резких перепадах давления уменьшать шум в процессе работы.
В зависимости от величины давления острого и редуцированного пара как дополнительные ступени дросселирования могут быть установлены один либо несколько узлов глушителей шума, которые имеют дроссельную рис. 1 (поз.3) и/или дроссельно-охладительную решетку в зависимости от значения давления пара: острого и редуцированного.
Шумоглушители - необязательный элемент РОУ и используются лишь при очень больших перепадах давления и не являются необходимым элементом РОУ.
Температура острого пара снижается путем впрыскивания в паровой поток охлаждающей воды через специальную трубку, расположенную в дросcельно-охладительной решетке узла глушителя шумов, либо через специальное сопло вода впрыскивается в охладитель пара рис.1 (поз.3).
Охлаждающая вода отбирает тепло у пара и начинает испаряться, пар при этом охлаждается до заданных температурных параметров. При выходе из охладителя пар имеет определенную заданную температуру, которая зависит от соотношения израсходованных объемов острого пара и впрыснутой охлаждающей воды и от их изначальной температуры. Рабочие параметры охладителей пара определяют размеры охладителей и число сопел.
Электронные регуляторы воздействуют на регулирующие паровой (поз.2) и водяной (поз.9) клапаны и способны автоматически поддерживать заданные давление и температуру редуцированного пара.
К тому же с целью регулировки температуры пара в наличии имеется вентиль игольчатый, управляемый с помощью ручного привода (поз.7).
Для того чтобы полностью перекрыть (открыть) поток охлаждающей воды для РОУ и ОУ конструктивно предусматриваются вентили запорные (поз.8).
Импульсно-предохранительное устройство, состоящее из предохранительного (поз.5) и импульсного (поз.6) клапанов,
имеется в каждой установке с целью предотвращения повышения давления выше заданного значения.
Количество таких импульсно-предохранительных устройств находится в зависимости от того, какова производительность установки и каковы параметры пара.

Рис.1. Схема редукционно-охладительной установки
1 — задвижка, 2 — клапан для регулировки (пар), 3 — охладитель пара или узел глушителя шума с дроссельно-охладительной решеткой, 5 — клапан предохранительный, 6 — клапан импульсный, 7 — вентиль игольчатый, 8 — вентиль запорный, 9 — клапан для регулировки (вода), 10 — задвижка.

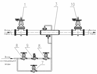
Рис. 2 Схема редукционной установки
1 — задвижка, 2 — клапан регулирующий (пар), 4 — узел шумоглушителя с дроссельной решеткой, 5 — клапан предохранительный, 6 — клапан импульсный

Рис.3. Схема охладительной установки
1 — задвижка, 3 — охладитель пара, 7 — вентиль игольчатый, 8 — вентиль запорный, 9 — клапан регулирующий (вода), 10 — задвижка.
При проведении проектирования трубопроводов после РОУ учитывается то, что предохранительные клапаны рассчитываются на использование при минимальном давлении 0.25 МПа (2.5 кгс/см²), в установках, имеющих номинальное давление редуцированного пара 0.12 МПа (1.2 кгс/см²), предусмотрена возможность повышения давления до 0.25 МПа (2.5 кгс/см²).
Согласно функциональному назначению, в редукционных установках происходит прохождение пара через расчетное количество ступеней дросселирования до достижения необходимых потребителю параметров давления пара, имеющего незначительное понижение температуры: регулирующий клапан, а также узлы глушителей шумов.
В установках охладительного типа температура пара снижается аналогично РОУ. Охладители пара ОУ в отличие от охладительных установок пара РОУ имеют иную конструкцию впрыскивающих устройств, то есть сопел, которые иначе расположены и имеют другие размеры, именно это позволяет обеспечивать оптимальность скорости пара и перемешивания его с впрыскиваемой водой. Причем при этом конструктивно невозможно, чтобы вода попала на стенку трубы.
Техничекие требования
1. Установки должны быть изготовлены соответственно требованиям ТУ 3113-001-79315310-2006 и ПБ 10-573-03 «Правила устройства и безопасной эксплуатации трубопроводов пара и горячей воды»
2. Установки, которые предназначаются для постоянного применения на нужды потребителя, должны устойчиво работать, обеспечивая производительность в следующем рабочем диапазоне: 40 - 100% от номинальной производительности.
3. Редуцированный пар по своим заданным температурным параметрам не может быть меньше показателя, который выше температуры насыщения на 20°С (293К).
4. Предохранительные клапаны по своей пропускной способности равны сумме пропускных способностей открытых на полную возможность парового регулирующего клапана и водяного.
5. Трубопроводы по норме монтируются с уклоном в сторону движения пара, при этом обеспечивается уклон не менее 1:500.
6. При монтаже трубопроводов, которые подводят острый пар, отводят редуцированный пар, а также выхлопного трубопровода, учитывается необходимость ограничения нагрузок массы трубопроводов вместе с их тепловым расширением, которые может выдержать арматура.
Информация в лекции "23 Акцизы" поможет Вам.
7. Вода, которая применяется с целью охлаждения пара, по своим параметрам, согласно правилам Госгортехнадзора, соответствует нормам питательной воды, используемой для котлов с повышенным давлением.
8. Установка термодатчиков, которые определяют температуру охлажденного пара, может производиться на расстоянии 5 - 6 метров от того места, где вводится охлаждающая вода.
9. Импульсно-предохранительное устройство может быть установлено по нормам в любом месте трубопровода редуцированного пара, при этом расстояние от ближайшего элемента, будь то регулирующий клапан, глушитель шума или охладитель пара, должно составлять не менее 1,5 метра.
10. Эксплуатация установок на иных, чем указанные в свидетельстве об изготовлении, средах и параметрах, категорически запрещена.
Шумоглушитель РОУ
При больших перепадах давлений, с целью уменьшения шума во время работы,
установки снабжаются дополнительными ступенями дросселирования.
В зависимости от величины давления острого и редуцированного пара в качестве дополнительных
ступеней дросселирования устанавливаются один или несколько узлов шумоглушителей
с дроссельной и дроссельно-охладительной решетками.






















