Закономерности процессов восстановления
Тема 1.6. Закономерности процессов восстановления (закономерности третьего вида)
Вопросы темы:
1. Характеристики закономерностей третьего вида
2. Практическое применение параметра потока отказов
3. Случаи изменения параметра потоков отказов
4. Классификация случайных процессов при технической эксплуатации автомобилей
1.6.1. Характеристики закономерностей третьего вида
Ранее были рассмотрены два вида закономерностей: изменение параметров технического состояния автомобилей по времени или пробегу и вариации параметров технического состояния. Для рациональной организации производства необходимо, кроме того, знать, сколько автомобилей с отказами данного вида будет поступать в зону ремонта в течение смены (недели, месяца), будет ли их количество постоянным или переменным и от каких факторов оно зависит, т. е. речь идет не только о надежности конкретного автомобиля, но и группы автомобилей, например, автомобилей данной модели, колонны, АТП, При отсутствии этих сведений нельзя рационально организовать производство, т. е. определить необходимое число рабочих, размеры производственных площадей, расход запасных частей и материалов. Взаимосвязи между показателями надежности автомобилей и суммарным потоком отказов для группы автомобилей изучают с помощью закономерностей

Рекомендуемые материалы
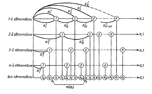
Рис. 2.15. Схема формирования потока отказов
третьего вида, которые характеризуют процесс восстановления — возникновения и устранения неисправностей изделий во времени. Предположим, что фиксируются моменты появления одинаковых отказов в группе из п автомобилей (рис. 2.15). Очевидно, что наработки на отказы, во-первых, случайны для каждого автомобиля и вписываются соответствующей функцией F(x) или f(x) Во-вторых, эти наработки независимы у разных автомобилей. В-третьих, при устранении отказа в зоне ремонта безразлично, от какого автомобиля поступает отказ и какой он по счету. К важнейшим характеристикам закономерностей третьего вида относятся средняя наработка до k-гo отказа, средняя наработка между отказами для n автомобилей, коэффициент полноты восстановления ресурса, ведущая функция потока отказов Ω(х) и параметр потока отказов ω (x)
Средняя наработка до k-го отказа
…+
(2.19)
где
; — средняя наработка до первого отказа;
— средняя наработка между первым и вторым отказом;
— средняя наработка между вторым и третьим и т.д.
Средняя наработка между отказами для п автомобилей получается из (2.19). Между, первым и вторым отказами
, между (k— 1)-м и k-m.
(2.20)
Коэффициент полноты восстановления ресурса характеризует возможность сокращения ресурса после ремонта, т.е. качество произведенного ремонта. После первого ремонта (между первым и вторым отказами) этот коэффициент
, после k-гo отказа
При этом
0≤
≤1.

Вероятное количество отказов, например, к пробегу
определяется как Ω(х) =
(x1), так как при х<
возникают только первые отказы, то для момента х2 общее количество отказов определяется суммированием вероятностей первого
и второго
отказов. Поэтому Ω(
)=
+
а в общем виде
Ω(x)=
(2.21)
Параметр потока отказов ω(x) — это плотность вероятности возникновения отказа восстанавливаемого изделия, определяемая для данного момента времени или пробега:
ω(x)=
=
(2.22)
где
— плотность вероятности возникновения k-го отказа.
Иными словами, ω(x) — это относительное число отказов, приходящееся на единицу времени или пробега одного изделия.
1.6.2. Практическое применение параметра потока отказов
Пример. Наработка до первой замены накладок сцепления х1=58 тыс. км, среднее квадратическое отклонение
== 10 тыс. км, коэффициент восстановления ресурса η=0,6. Определить возможное число замен при пробеге автомобиля 150 тыс. км.
Для расчетов используем формулу (2.23), последовательно определяя
и т. д.:
= Ф
;
= Ф
= 0,995
= 0,69
;

Ввиду того что
, мало, последующие расчеты для
и других можно не производить. Таким образом, к пробегу 150 тыс. км возможное число замен данной детали составит:
Ω(150)
Для практического использования важны некоторые приближенные оценки ведущей функции параметра потока отказов
F(x)
(2.25)
Из этой формулы следует, что на начальном участке работы, где преобладают первые отказы, т. е.
F(x)

Ведущая функция параметра потока отказов стареющих элементов для любого момента времени или для пробега удовлетворяет следующему неравенству.
(2.26)
Для рассмотренного выше примера с заменой накладок сцепления, используя формулу (2.26), получим следующую оценку ведущей функции параметра потока отказов при пробеге автомобиля x=150 тыс. км: 3,3
4,3. Таким образом, к пробегу х в среднем по формуле 2.26 возможно от 3,3 до 4,3 отказов сцепления.
Для любого закона распределения наработка на отказ, имеющая конечную дисперсию D =
2, ведущая функция параметра потока отказов при достаточно большом значении х определяется по следующей формуле:
(2.27)
При расчете гарантированных запасов необходима интервальная оценка ведущей функции параметра потока отказов (для достаточно больших значений x)
(2.28)
где za — нормированное отклонение для нормального закона распределения при условии, что число отказов (замен) с вероятностью 1 — α будет заключено в данных пределах.
Пример. Определить для условий предыдущего примера (
= 58 тыс. км;
= 0,6;
= 10 тыс. км) с достоверностью 1— α = 0,9 необходимое число накладок сцепления на пробег автомобиля 150 тыс. км.Так как условия задачи требуют обеспечения накладками с вероятностью 90%, то необходимо определить верхнюю границу потребности в накладках за 150 тыс. км пробега. Прежде всего определим нормированное отклонение при 1— а = 0,9 Ф(z). Из табл. 2.9 имеем za= 1,25. Верхняя граница потребности в деталях составит Q (150)= 5,04. Следовательно, с вероятностью 90 % можно полагать, что за 150 тыс. км пробега потребуется не более 5 комплектов накладок сцепления. Средний же расход составит около 3,8 комплектов.
Таким образом, используя значения параметра потока отказов, можно определить конкретный расход деталей за любой заданный период и планировать работу системы снабжения.
1.6.3. Случаи изменения параметра потоков отказов
В общем случае параметр потока отказов непостоянен во времени, т. е.
(t, х)
const. Наблюдаются три основных случая поведения параметра по наработке.
Первый случай (рис. 2.17, а, l) — полное восстановление ресурса после каждого отказа, т. е.
=

При этом происходит стабилизация параметра потока отказов на уровне 
Второй случай (рис. 2.17, а, 2) неполное, но постоянное восстановление ресурса после первого отказа, т. е. 1>
const. Для этого случая также характерна стабилизация параметра потока отказов, но на более высоком уровне:
const
Третий случай (рис. 2.17, а, 3)— последовательное снижение полноты восстановления ресурса, т. е.
η≠const; 1> 
В этом случае и параметр потока отказов непрерывно увеличивается, что приводит к постоянному повышению нагрузки на ремонтные подразделения предприятия. Однако при расчетах для этого случая можно принимать ω = const как среднюю для отдельных периодов 4, 5 и 6, на которые разбивается весь пробег или время работы автомобиля. Подобный подход возможен также при анализе изменения параметра потока отказов в течение года (рис. 2.17, б). Этот параметр может приниматься практически постоянным для зимнего (со3), осенне-весеннего (со0, сов) и летнего (сол). периодов.
1.6.4. Классификация случайных процессов при ТЭА
Для описания сложных технических систем, в частности СМО, наиболее распространенным является аппарат марковских случайных процессов (названный в честь знаменитого русского математика А.А. Маркова). Их особенность заключается в том, что вероятность любого состояния системы (например, автомобиля, группы автомобилей) в будущем зависит только от ее состояния в настоящее время и не зависит от того, когда и какими путями система пришла в это состояние. Действительно, работоспособность автомобиля в будущем зависит только от его фактического технического состояния, к которому автомобиль может прийти по-разному.
Если возможные состояния системы S1 , S2,..., Sn определены, то это марковский случайный процесс с дискретным состоянием, который выражается в том, что система скачком переходит из одного состояния в другое SK ® SK+1 . Если переходы осуществляются в заранее зафиксированные моменты времени (например, при ТО) t1 , t2,...tk то это марковский случайный процесс с дискретным временем, а последовательность случайных переходов называется марковской цепью. Марковские процессы хорошо иллюстрируются графом состояния системы, на котором прямоугольниками отмечены сами состояния, а стрелками - направления переходов. Если на графе у стрелок указаны вероятности или плотности вероятности перехода, то он называется размеченным графом состояний (рис. 4.1).

Рис. 4.l. Размеченный график состояний для марковского процесса с непрерывным временем
Для марковского процесса с дискретным состоянием и непрерывным временем рассматриваются плотности вероятностей λ переходов системы за время ∆t из состояния Si в состояние Sj :
(4.1)
где pij - вероятность того, что за Аt система перейдет из состояния Si в состояние Sj .
При малом∆t Pij(∆t) ≈λij∆t . Если все lij не зависят от t, то процесс называется однородным, а в противоположном случае - неоднородным.
Имея данные по плотностям вероятностей переходов λij, можно рассчитать вероятности всех состояний системы в разные моменты времени, т.е. определить вероятность первого состояния P1(t), второго P2(i) и т.д.
Одним из распространенных случаев марковского процесса с дискретным состоянием и непрерывным временем являются простейшие процессы, или потоки, обладающие свойствами стационарности, ординарности и отсутствия последствия.
Стационарным является поток, при котором вероятность возникновения событий (например, отказов) в течение определенного промежутка времени (или пробега) зависит только от длины этого промежутка и не зависит от начала отсчета времени. Для стационарного потока за наработку X количество событий (отказов, требований)
(4.3)
Ординарность означает, что вероятность возникновения на элементарном отрезке времени двух или более событий пренебрежима по сравнению с длиной самого участка. Применительно к описанию надежности ординарность означает, что одновременное возникновение двух разных отказов у автомобиля практически мало вероятно.
Отсутствие последствия - это независимость характера потока от числа ранее поступивших отказов и моментов их возникновения. На практике суммирование не менее шести-восьми элементарных потоков приводит к образованию простейшего или близкого к нему потока.
Для простейшего потока отказов вероятность возникновения определенного числа отказов в течение времени определяется законом Пуассона:
(4.4)
где k = 0, 1, 2,... - число отказов, возникающих за время t, w — параметр потока отказов.
В реальных условиях производства значение t обычно принимают равным 1, например 1 ч, 1 смена, 1 неделя, т.е. t = 1, а ωt=Ωo=а - среднее число отказов, возникающих за время t. В этом случае
(4.5)
Используя последнюю формулу, можно установить вероятность появления определенного числа требований Pk при известном значении а.
Например, при а = 3 вероятность отсутствия требований
= 0,05, или 5%;
вероятность появления одного требования- 0,15; двух- 0,22; трех - тоже 0,22; четырех -0,16 и т.д. (рис. 4.2). Таким образом, загрузка постов и оборудования носит вероятностный характер: в примере у 22% всех смен будет фактическое число требований, совпадающее со средним, у 42% (5 + 15 + 22) загрузка будет меньше, а в 36% (100-22—42) случаев - больше средней.
Контрольные вопросы темы:
1. Какие процессы характеризуют закономерности третьего вида?
2. Как определяется средняя наработка между отказами?
3. Что показывает коэффициент полноты восстановления ресурса?
4. Что показывает параметр потока отказов?
5. Как определяется количество необходимых запчастей с использованием нормированной функции для нормального закона распределения?
6. Опишите случаи изменения параметра потока отказов
7. Какие процессы в ТЭА объясняются марковскими случайными процессами?
8.Какой поток в системах массового обслуживания является стационарным?
Вам также может быть полезна лекция "1 Агрохимия и плодородие почвы ".
9. Какой поток в системах массового обслуживания обладает свойством ординарности?
10. Какой поток в системах массового обслуживания не имеет последствий?
11. Что означает оптимизация системы обслуживания?
11. Какие подходы применяются для оптимизации систем обслуживания?
12. Какой закон распределения применяет для простейшего потока отказов?
13. Как меняется вероятность возникновения требований по закону Пуассона в зависимости от увеличения программы?





















