Характеристики соединения деталей
11. Характеристики соединения деталей
Характеризующие признаки, по которым различают конструкции соединений, следующие: степень относительной подвижности деталей; вид контакта в сопряжении контактной пары; способ замыкания сопряжения.
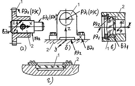
Неподвижные соединения всегда являются базирующими. В их образовании участвуют базовый элемент присоединяемой детали и рабочий элемент базовой (несущей) детали (структурная формула БЭ1+РЭ2). Контактирующие поверхности преимущественно плоскости и цилиндры, реже сферы; специальные поверхности для этих целей применять не следует. Влияние на функциональную точность прибора, узла неподвижные соединения оказывают через неточности базирования, т.е. неточности расположения РЭ1 относительно БЭ2 см. рис. 2.1, а (подробнее см. п. принципы конструир. с…).
Неподвижные соединения наиболее многочисленны в общей конструкции прибора, поэтому главным образом они определяют объем сборочных работ.
Относительная неподвижность соединяемых деталей достигается скреплением с помощью крепежных средств, примеры неподвижных соединений приведены на рис. 2.1.
Подвижные соединения (кинематические пары) бывают базирующими и рабочими, первые служат для поддержания подвижных элементов кинематических пар и направления их движения (направляющие вращательного и поступательного движения), а вторые – для преобразования и передачи движения; в образовании первых участвует базовый элемент присоединяемой подвижной детали и рабочий элемент базовой несущей детали (структурная схема БЭ2+РЭ1), в образовании вторых участвуют только рабочие элементы соединяемых деталей (структурная схема РЭ2+РЭ1). Примеры подвижных соединений приведены на рис. 2.2 - 2.3. Укажите самостоятельно РЭ и БЭ там, где они не указаны.
Назначение замыкания сопряжения состоит в ограничении смещений присоединяемой детали относительно базовой по ограничиваемому направлению; замыкание обеспечивает существование соединения. Схематичное изображение трех способов замыкания – силой, поверхностью (формой) и креплением, - применяемых на практике, приведено на рис. 2.4.; примеры конструкции см. рис. 2.1 - 2.3.

Рис. 2.1. Неподвижные соединения деталей: а – зубчатое колесо с валиком; б – кронштейн с плоской поверхностью базовой детали; в – объектив с оправой; г – зеркало с оправой.
Рекомендуемые материалы


Рис. 2.2. Подвижные соединения для вращательного движения - опоры: а – цилиндрическая; б – центровая; в – сферическая; г – шарикоподшипниковая.


Рис. 2.3. Подвижные соединения для поступательного движения: а – призматические V-образные с замыканием силой; б – призматические с замыканием формой (типа “ласточкина хвоста”); в – цилиндрические с замыканием силой; г – цилиндрические с замыканием формой; д – шариковые с силой; е – шариковые с формой; ж – цилиндрические направляющие с замыканием формой.
Замыкание силой (силовое замыкание) встречается в основном в двух вариантах: когда замыкающая сила создается искусственно с помощью пружин и когда этой силой является сила тяжести присоединяемой детали (рис. 2.3, a, b, d). Замыкание силой означает, что соединение существует, пока действует замыкающая сила. При использовании силы тяжести ориентирование конструкции в пространстве не произвольное. Необходимая замыкающая сила в случае применения пружин определяется по динамическому режиму работы прибора с учетом массы присоединяемой детали.
Достоинствами силового замыкания являются: нечувствительность к колебаниям температуры среды и отсутствие зазоров; недостатки – ухудшение силового режима работы и усложнение конструкции соединения.

Рис. 2.4. Способы замыканий соединений деталей: а – силой; б – формой; в – креплением.
Замыкание формой (рис. 2.1, а, в; 2.2; 2.3, б, г) для подвижных соединений называют также кинематическим замыканием, замыкающая поверхность либо принадлежит одной из соединяемых деталей, либо создается дополнительной деталью. Положение замыкающей поверхности определяется расчетом и регламентируется допуском или регулируется при сборке. Достоинство этого способа – в его надежности при любых условиях эксплуатации. Существенным недостатком для подвижных соединений является неизбежность зазора.
Замыкание креплением (рис. 2.1, б, в) применяется только для неподвижных соединений.
Замыкание формой – наиболее широко применяемый и универсальный способ.
Показатели качества
Люди также интересуются этой лекцией: 5 Значение проповедничества для самого проповедника.
Различают три группы показателей качества конструкций соединений: эксплутационные (точность, надежность, износостойкость и др.), конструктивные (габаритные размеры, компактность и др.) и технологические. Конкретное их сочетание и уровень значимости каждого зависят от постановки задачи, требований и ограничений, диктуемых техническим заданием.
Функциональная точность соединения – это погрешность расположения рабочего элемента соединения (РЭС) относительно базового элемента соединения (БЭС) см. рис. 2.1, а. Роль РЭС в неподвижных соединениях играет всегда рабочий элемент присоединяемой детали, а подвижных – подвижный элемент кинематической пары.
Погрешность расположения РЭС в общем случае выражается следующей суммой:
,
где
- погрешности конструктивных параметров (размеров, например) соединяемых деталей, координирующих положение РЭС относительно БЭС;
- погрешности контактирующих поверхностей, зависящие от микро и макроформы;
- погрешности деформаций от силового замыкания.
На практике оценка точности соединения производится по погрешностям конструктивных параметров.






















