Круглосеточные машины
4.5. Круглосеточные машины
Формующие части круглосеточных машин
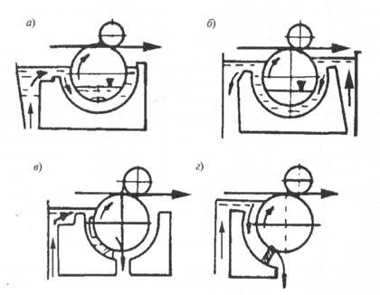
Схемы традиционных круглосеточных формующих устройств приведены на рис.1.

Рис. 86 - Схемы традиционных круглосеточных формующих устройств с противоточной ванной (а); с прямоточной ванной (б); с «полусухой» ванной (в); с «сухой» ванной (г)
Основными недостатками традиционных круглосеточных формующих устройств являются отрыв элементарного слоя от поверхности цилиндра под действием центробежных сил с увеличением частоты вращения цилиндра и возрастание смыва осевшего слоя волокон вследствие увеличения трения о жидкость, находящуюся в ванне. Поэтому рабочие скорости выработки полотна на таких машинах не превышают 150…160 м/мин (при концентрации массы от 0,2 до 1,2 %). Следует отметить, что равномерность формования (просвет элементарного слоя и др.) на цилиндровых машинах хуже, чем на плоскосеточных. Кроме того, практика эксплуатации круглосеточных машин показала, что увеличение их ширины в значительной мере ограничено трудностями регулирования равномерности наслоения (формования элементарного слоя) по ширине. Эти недостатки обусловливают затруднения в процессе получения бумаги и картона с равномерной массой 1 м2 и физико-механическими свойствами в поперечном и машинном направлениях, что снижает его потребительские качества. Недостатки усугубляются с увеличением ширины, скорости и, как следствие, с удельной производительности круглосеточных машин. Поэтому по сравнению с плоскосеточными они имеют меньшую ширину (не более 4200 мм) и небольшие скорости.
Однако, денежную бумагу с локальным знаком готовят на цилиндрической (круглосеточной) буммашине, так как на сетке цилиндра, где отштампованы рисунки знака, при формировании бумажного полотна создаются необходимые условия для получения многотонового художественного знака, который строго фиксируется на площади будущих бумажных листов. Это позволяет в дальнейшем при печатании обеспечить точное совпадение локального знака с печатным рисунком. На сетке столовой бумагоделательной машины подобных условий для получения художественного и фиксированного знака нет.
Массонапускные устройства для тихоходных машин
Ванна каждого сеточного цилиндра заполняется разбавленной массой, которая непрерывно поступает в ванну из узлоловителя или непосредственно из распределительного ящика.
Рекомендуемые материалы
В ванну масса поступает под небольшим гидравлическим напором или подается специальным насосом. Когда подача массы в ванну сеточного цилиндра осуществляется самотеком (без помощи насоса), применяют различные массонапускные устройства, аналогичные массонапускным устройствам для тихоходных столовых плоскосеточных бумагоделательных машин. Задачей массонапускного устройства является подача массы с равномерной скоростью в ванну. Характер движения потока массы и его скорость должны быть таковы, чтобы в массе не образовывались хлопья.
Большие требования к равномерности концентрации предъявляют к массе, поступающей в ванну, работающую по прямоточной системе подачи, так как при этой системе образование слоя начинается в пункте поступления массы из напускного устройства в ванну.
При противоточной подаче массы в ванну образование слоя начинается со стороны, противоположной поступлению массы, поэтому она менее чувствительна к постоянству концентрации поступающей массы.

На рис. 87 изображено массонапускное устройство для ванны с противоточной подачей массы.
Рис.2. Сеточный цилиндр фирмы Блэк Клаусон:
1 – цапфа, впрессованная в полый вал; 2 – втулка; 3 – бронзовая ступица; 4 – анкерный болт, скрепляющий тело цилиндра; 5- торцевое кольцодля закрепления краев сетки и установки бандажа; 6 – кольца для крепления колосников; 7 – колосники со спиральной нарезкой для обмотки; 8 – концевая ступица; 9 – сетка
На рис. 26 приведены также примеры напускных устройств.
Для ванн с противоточной системой подачи массы применяют напускные устройства для массы более простых конструкций, в которых выравнивание скорости и напора потока массы проводится путем изменения направления движения массы (рис.27). Напускное устройство массы для противоточной ванны должно быть возможно коротким.


Ванны
Противоточная ванна (рис. 86, а)
Скорость в ванне должна быть отрегулирована так, чтобы не образовывались хлопья (требует увеличения скорости) и не было отрицательного влияния на укладку волокон в формуемом слое (зависит от скорости).
Перелив массы со стороны ванны, противоположной входу массы, не применяется из-за увеличения разности скорости массы и сеточного цилиндра. Чтобы предотвратить размыв потоком поступающей в ванну массы поверхности слоя на сеточном цилиндре, со стороны ее поступления, перед сеточным цилиндром, устанавливают металлический фартук, предотвращающий удар потока массы о поверхность цилиндра и направляющий его вниз.
Регулирование постоянного веса слоя по ширине сеточного цилиндра проводится изменением высоты поступающего в ванну потока массы по его ширине с помощью специальных устройств, располагаемых на входном ребре стенки ванны. Эти устройства могут быть выполнены в виде клапана или линеек. Регулирование веса слоя по ширине машины можно проводить также путем изменения величины перелива оборотной воды из сеточного цилиндра, так как изменяется величина давления фильтрации.
Уменьшение поступления массы с определенной стороны сеточного цилиндра влечет за собой повышение веса слоя с этой же стороны. Это объясняется тем, что на данной стороне сеточного цилиндра масса сгущается больше, чем на другой, и слой образуется из массы, имеющей большую концентрацию, и, следовательно, он получается толще. Плотность образующегося слоя зависит от концентрации массы. Концентрация влияет также на скорость движения массы между стенкой ванны и сеточным цилиндром и на количество массы, сливающейся с поверхности слоя при выходе его из массы. Количество массы, сливающейся с поверхности слоя, увеличивается с повышением скорости движения массы и связано с уменьшением веса образующегося слоя (уменьшение веса слоя происходит не самопроизвольно, а в результате уменьшения количества массы, подаваемой в ванну).
Описанный тип устройства, регулирующего толщину и вес слоя, неприменим для прямоточной ванны, в которой образование слоя начинается с пункта поступления массы в ванну. В прямоточной ванне концентрация и скорость движения массы должны быть одинаковыми по ширине потока.
В нижней точке днища ванны должен находиться спускной клапан, снабженный устройством, ускоряющим его открывание при необходимости немедленного опорожнения ванны. Быстрое опорожнение ванны бывает необходимо при перемене вида массы и в аварийных случаях. Необходимость быстрого полного или частичного опорожнения ванны от массы может возникнуть также при переполнении ванны массой, при ее загущении в ванне, а также в тех случаях, когда съемное сукно не снимает с поверхности цилиндра сформованный слой.
В этой же точке днища ванны, по всей ее ширине, делают углубление-корыто, служащее сборником тяжелых включений, случайно попавших в массу. Спускной клапан массы обычно устанавливают в днище корыта.
Прямоточные ванны (рис. 31, б). Ванна с прямоточной подачей массы отличается от противоточной тем, что она должна быть обязательно снабжена устройством для перелива из ванны части массы.
Из-за отсутствия возможности регулирования веса слоя по ширине сеточного цилиндра высота и концентрация потока массы, поступающего в ванну, должна быть одинаковой по ширине ванны.
Дно ванны выполняют так, чтобы не происходило больших изменений скоростей движущейся в ней массы.
Скорость движения массы в прямоточной ванне неодинакова: она обычно уменьшается в направлении перелива. Чем больше скорость массы со стороны перелива приближается к скорости сеточного цилиндра, тем больше отношение поперечной прочности на растяжение к продольной в формуемом слое.
Высокие скорости массы в прямоточной ванне полезны, так как они предотвращают образование хлопьев.
Накопление хлопьев сгущенной массы требует для нормальной работы ванны обязательного перелива из нее части массы. Удаляемая через перелив масса смешивается со свежей массой и возвращается в ванну.
Количество массы, направляемой в перелив, регулируется высотой порога, через который она переливается из ванны. При определении размеров профиля поперечного сечения ванны принимают, что наименьшее количество массы, направляемое в перелив, равно количеству массы, расходуемой на формование слоя. В отдельных случаях количество массы направляемой в перелив, принимают равным двукратному количеству массы, расходуемой на образование слоя.
Относительная скорость массы и сеточного цилиндра – важный технологический фактор. Большая относительная скорость способствует фракционированию массы и облегчает смыв с поверхности слоя длинных волокон. Она способствует также уничтожению образующихся в ванне хлопьев, поскольку улучшаются условия перемешивания массы. На величину относительной скорости влияет скорость сеточного цилиндра, а также скорость массы, зависящая от размеров профиля поперечного сечения ванны, от концентрации и объема массы, поступающей в перелив.
Принимая среднюю скорость массы в зазоре между стенкой ванны и наружной поверхностью сеточного цилиндра равной 0,2…0,5 скорости сеточного цилиндра, можно определить расстояние от наружной поверхности сеточного цилиндра до стенки в различных пунктах ванны.
Не следует стремиться к достижению скорости массы, равной скорости сеточного цилиндра, как это имеет место в столовых машинах. Получаемый эффект увеличения отношения прочности слоя в поперечном направлении к продольному невелик, но влечет за собой значительное увеличение расхода энергии на подачу массы.
Необходимость изменения режима работы сеточного цилиндра на разных скоростях и изменения скорости массы в ванне вызвала появление конструкций ванн с устройством для изменения скорости массы.

Так, в ванне одной из конструкций изменение скорости массы проводят изменением величины зазора между поверхностью сеточного цилиндра и стенкой ванны путем перемещения фартука в зоне поступления массы и начала образования слоя.
Возможность изменения скорости на всем пути движения массы в ванне относительно скорости сеточного цилиндра предусмотрена в ванне, снабженной передвижным дном.
Сеточный цилиндр
Сеточный цилиндр имеет решетчатую поверхность, которая обтягивается вначале подкладочной сеткой, на которую затем надевают тонкую сетку, называемую рубашкой.
Существуют сеточные цилиндры различных конструкций, рассчитанные на различные рабочие скорости.
Сеточные цилиндры для тихоходных машин. Сеточный цилиндр для машин, работающих со скоростью около 50 м/мин, представлен на рис. 90.
Сеточный цилиндр такой конструкции имеет достаточную жесткость, прост в изготовлении и недорого стоит, но он годится только для тихоходных машин, работающих на скорости меньше 50 м/мин. Это вызвано тем, что спицы ступиц, особенно колосники, образующие тело сеточного цилиндра, вызывают бурление и разбрызгивание воды, находящейся внутри цилиндра, что отрицательно сказывается на процессе образования слоя.
Сеточный цилиндр для машины, работающей на скорости до 150 м/мин. Для этих скоростей сеточный цилиндр выполняют так, чтобы бурление воды внутри него было возможно меньшим. Пример конструкции такого цилиндра приведен на рис. 91.

Для уменьшения бурления воды опорные спицы колец имеют обтекаемую форму и сдвинуты одна относительно другой, но так, что они не перекрывают одна другую в направлении оси цилиндра.

По наружной окружности фигурного кольца нафрезерованы прорези для укладки круглых колосников диаметром 10 мм. Колосники располагают параллельно оси цилиндра так, что они образуют его наружную поверхность, которую обматывают проволокой спиралью с шагом 65 мм. На спиральную обмотку цилиндра надевают подкладочную сетку № 2 (метрическую) и верхнюю сетку-рубашку № 16 (метрическую).
Сеточный цилиндр для работы на больших скоростях.
При наибольших возможных скоростях машины рекомендуют применять сеточные цилиндры без внутренних спиц. Такие цилиндры могут быть литые из бронзы цилиндры с проточенными по их наружной поверхности продольными желобками и просверленными в желобках отверстиями. В цилиндре этой конструкции подкладочная сетка опирается на ребра желобков.
Иное решение конструкции сеточного цилиндра без спиц представлено на рис. 39. Тело цилиндра образовано из ряда колец, связанных между собой крестообразными связями.

Рис.92 - Сеточный цилиндр без спиц
Устройство для съема слоя с сеточного цилиндра
Работа съемного вала.
Слой, образующийся на поверхности сеточного цилиндра, снимается сукном, прижимаемым к поверхности цилиндра съемным валом. При этом происходит одновременно отжим части воды из слоя. Слой отделяется от сетки и прилипает к поверхности сукна, имеющего большую поверхность прилипания и лучшее смачивание, чем сетка.
Силы поверхностного натяжения воды больше между слоем и сукном, чем между слоем и сеткой. Имеет также значение различная воздухопроницаемость сукна и сетки, меньшая у сукна, большая у сетки.
В многоцилиндровой машине только первый слой снимается поверхностью чистого сукна. Последующие слои прилипают уже к слоям, которые несет сукно. Влажность сукна имеет большое влияние на условия съема первого слоя. Слой не прилипает к слишком сухому сукну. При слишком влажном сукне слой дробится под съемным валом, и возможны случаи облипания сеточного цилиндра массой. Слишком толстый слой может оторваться от сукна. Это также происходит в случае слишком сухого сукна или слоя, трудно пропускающего воздух, который может проникать между слоями. Отрыв слоев от сукна происходит главным образом на последнем цилиндре, где слои имеют наибольшую толщину и наименьшую влажность.
В многоцилиндровой машине каждое последующее съемное устройство отжимает больше воды, чем предыдущее. Сухость формуемого полотна возрастает, и если на первом сеточном цилиндре она не превышает 5…7%, то на последнем цилиндре составляет 10…15%.
Не вся вода, отжимаемая съемным валом из слоя, фильтруется через сетку. Значительная часть воды выжимается на поверхность сукна и собирается на нем в пункте входа сукна под съемным валом.
Снимаемые слои, имеющие сухость в пределах 5…15%, легко подвергаются разрушению. Следовательно, должна быть система регулирования линейного давления съемного вала. Съемный вал снабжают также системой перемещения его параллельно оси цилиндра. Чем дальше вертикальная ось съемного вала от вертикальной оси сеточного цилиндра, тем больше поверхность соприкосновения сукна с цилиндром и лучше условия обезвоживания и перехода слоя с цилиндра на сукно.
Как показал опыт работы, давление съемного вала на поверхность сеточного цилиндра без прокладочной сетки не должно превышать 10 кГ/см. Для цилиндра же с прокладочной сеткой давление может быть увеличено до 18 кГ/см. Сеточные цилиндры описанной конструкции применяют для самых высоких скоростей машин (до 300 м/мин).
Влияние условий работы классического сеточного цилиндра на объемный вес слоя
Скорость массы в ванне.
С увеличением скорости массы в ванне уменьшается пористость слоя и возрастает его объемный вес.
При больших скоростях происходит смывание с поверхности слоя слабо связанных с ним волокон и происходит так называемое фракционирование массы во время образования слоя. В начальный момент, когда скорость фильтрации волокна велика, на сетке укладываются волокна разных размеров в той пропорции, в какой они находятся в массе. Затем высокая скорость затрудняет соединение крупных волокон со слоем, так как они смываются с его поверхности. Слой образуется прежде всего из коротких волокон и получается более плотным. Таким образом, скорость массы определяет удельное сопротивление фильтрации и объемный вес слоя.
Высокая скорость массы в ванне дает положительный эффект, так как она предотвращает образование хлопьев. Но в то же время это приводит к увеличению анизотропии показателей прочности, которая является результатом односторонней ориентацией волокон.
Анизотропия показателей прочности на растяжение слоя, полученного на цилиндровой машине, имеет гораздо большие значения, чем для плоскосеточной машины. Отношение показателей прочности слоя на растяжение в продольном направлении к поперечному находится в пределах 2,5…4.
Концентрация массы.
С точки зрения расхода энергии на массные насосы для уменьшения потерь волокна с водой, фильтруемой через сетку, и, главное, для получения большой производительности сеточного цилиндра стремятся работать с наибольшими концентрациями. В то же время, чем ниже концентрация массы, тем равномернее ее дисперсность и меньше возможность для образования в массе хлопьев. При этом полученный слой имеет более равномерное распределение волокон и более плотную структуру. В зависимости от веса слоя и степени помола массы концентрация массы должна быть в пределах 0,25…0,6%. Как принцип, следует принять, что чем ниже вес слоя и выше степень помола массы, тем меньше должна быть ее концентрация. Объемный вес слоя, полученного на сетке, зависит от концентрации массы.
Для низких концентраций объемный вес слоя увеличивается по мере понижения концентрации. При высоких концентрациях массы, обычных для плоскосеточных бумагоделательных машин, имеет место обратная зависимость, т.е. объемный вес понижается по мере повышения концентрации массы. Это объясняется тем, что при низких концентрациях. масса более равномерна и в ней отсутствуют сгустки и хлопья. В связи с этим образующийся слой становится более плотным. Однако при очень низкой концентрации массы (около 0,3 г/л) получается пористый слой, так как при большей скорости фильтрации волокна не успевают равномерно распределиться по сетке.
При увеличении веса слоя и связанного с этим повышения сопротивления фильтрации увеличивается и эффект фракционирования массы. Поэтому в период образования слоя создаются возможности увеличения его плотности. Показатели прочности слоя, разрывная длина уменьшаются с повышением концентрации массы и в большей мере для массы, имеющей высокую степень помола.
Давление фильтрации.
Увеличение давления фильтрации повышает объемный вес образующегося слоя. Давление зависит от концентрации и степени помола массы. Чем ниже концентрация и выше степень помола массы, тем выше давление фильтрации.
Давление фильтрации является одним из важнейших факторов, зависящих от свойств массы. Большое давление фильтрации предупреждает возможность смывания слоя с поверхности сетки и образования хлопьев, способствует более плотному и равномерному распределению волокон в слое. Слишком большое давление фильтрации не допускается, так как при низком уровне воды внутри сеточного цилиндра происходят колебания ее уровня вследствие возникновения обратного движения воды через сетку.
Вес слоя.
Чем больше толщина слоя, тем благоприятнее условия для фракционирования волокон. С тонкого слоя могут быть смыты волокна различной длины. С увеличением толщины слоя и сопротивления фильтрации маловероятно, чтобы крупные волокна откладывались на поверхности слоя, и он образуется из мелких волокон, препятствующих отложению крупных. Вследствие этого повышается плотность слоя и его удельное сопротивление фильтрации по сравнению с исходной массой.
Температура массы.
С повышением температуры массы уменьшается вязкость воды и вместе с ней сопротивление фильтрации. При этом давление фильтрации уменьшается, что влечет за собой указанные выше изменения показателей слоя.
Степень помола массы.
Увеличение степени помола массы влечет за собой повышение давления фильтрации из-за увеличения фильтрации из-за увеличения сопротивления фильтрации слоя. Слой получается более плотным, и скорость сеточного цилиндра должна быть меньше, так как ухудшаются условия для обезвоживания массы и происходит стекание воды по сетке после выхода ее из массы.
Скорость сеточного цилиндра. Если постоянными являются погруженная в массу рабочая поверхность сеточного цилиндра, давление фильтрации, температура, степень помола массы и ее концентрация, изменение скорости сеточного цилиндра влечет за собой изменение веса слоя в зависимости, выраженной уравнением (34), т. е. величина веса меняется обратно пропорционально квадратному корню из скорости.
Приведенная зависимость не учитывает влияния центробежной силы. Количество воды, фильтруемой через сетку, не зависит от скорости сеточного цилиндра, если вес слоя постоянен, т.е. если сопротивление фильтрации также постоянное.
Формула (34) не учитывает также влияния центробежной силы, которая, однако, не имеет существенного значения даже при больших скоростях сеточного цилиндра. Более неблагоприятное влияние на образование слоя оказывают вихревые движения массы в ванне, вызываемые действием вращающихся крестовин цилиндра.
Условия образования слоя на сеточном цилиндре. Концентрация массы повышается в направлении ее движения в ванне. Этим объясняется, что в последний период формования слоя имеет место обезвоживание без увеличения толщины слоя.
В ванне происходит фракционирование массы по размерам волокон и вначале на сетку укладывается больше длинных волокон, а затем, в конце, – более мелкие волокна. В результате в остающейся массе больше длинных волокон, и она имеет более низкую степень помола, чем исходная. Это снижение степени помола массы, доходящее до 20° ШР, наблюдается в направлении ее движения в ванне, особенно в противоточной.
В прямоточной ванне снижение степени помола происходит в меньшей степени, так как она оборудована устройством для перелива части массы. Слой на сетке возникает постепенно из массы, у которой концентрация и степень помола разные. Поэтому условия образования слоя на цилиндре с прямоточной и противоточной ваннами диаметрально противоположны.
В противоточной ванне слой начинает образовываться из массы, имеющей низкую степень помола и наибольшую концентрацию. В этих условиях толщина слоя растет быстро, и количество отлагающейся на сетке массы вначале пропорционально количеству фильтруемой через сетку воды.
Скорость образования слоя быстро увеличивается на начальной стадии образования слоя. После этого вследствие увеличения сопротивления фильтрации скорость образования слоя уменьшается.
Анизотропия показателей прочности слоя, полученного на сеточном цилиндре с прямоточной ванной, меньше, чем на сеточном цилиндре с противоточной ванной. Это объясняется тем, что в прямоточной ванне относительная скорость цилиндра по отношению к массе меньше, чем для противоточной ванны, так как сеточный цилиндр движется в направлении перелива массы, а в противоточной – во встречном направлении.
Концентрация массы в ванне
При определении размеров ванны важнейшим технологическим фактором является концентрация массы, от которой зависит объем массы, поступающей в ванну.
Концентрация массы в ванне оказывает большое влияние на качество образующегося слоя. Чем ниже концентрация массы, тем равномернее происходит распределение волокна по поверхности сеточного цилиндра, увеличивается плотность и объемный вес слоя, а также его показатели механической прочности. При выборе концентрации массы нужно руководствоваться следующим:
1. Тип ванны. Повышенная концентрация массы применяется для противоточных ванн, так как в них можно не опасаться сильного сгущения массы. При использовании прямоточных ванн концентрация массы должна быть более низкой.
2. Толщина слоя. Чем толще слой, тем выше может быть концентрация массы.
3. Положение слоя в полотне. Обычно низкую концентрацию массы необходимо применять для наружных слоев полотна, которые должны иметь равномерную и плотную структуру. Внутренние слои полотна обычно получают из массы, имеющей более высокую концентрацию.
4. Скорость сеточного цилиндра. При больших скоростях сеточного цилиндра применяют массу низкой концентрации, чтобы устранить неравномерность осаждения волокон на сетку цилиндра, возрастающую с повышением его скорости.
Сеточные цилиндры, работающие под вакуумом
Повышение скорости сеточного цилиндра сверх 120 м/мин влечет за собой увеличение действия центробежной силы (проявляющейся в колебании уровней массы в ванне и воды внутри цилиндра) и сброс слоя с поверхности сеточного цилиндра. При выходе сеточного цилиндра из массы большая ее часть, следующая за цилиндром, стекает с его поверхности обратно в ванну.
При слабом отжиме слоя, снимаемого сукном с поверхности сеточного цилиндра, происходит капельное отекание слоя с образованием на нем свищей и утолщенных мест. В случае попадания капель на слой, выходящий на поверхность сеточного цилиндра из массы, на нем образуются неодинаковые по толщине участки и получаемое полотно имеет неравномерную толщину и плотность. Этого можно избежать, увеличив диаметр сеточного цилиндра или применив внутри него вакуум.
Применение вакуума внутри сеточного цилиндра оказывает положительное влияние на следующие параметры его работы:
1) уменьшается количество массы, стекающей с поверхности слоя, при выходе сеточного цилиндра из массы;
2) понижается возможность капельного стекания воды из слоя на сукне в промежутке между сеточными цилиндрами, что отрицательно влияет на качество слоя;
3) легче получить слой большей толщины и слой с более равномерной и плотной структурой;
4) создается возможность работы сеточного цилиндра при более высоких скоростях;
5) уменьшается пенообразование в ванне, что облегчает содержание в чистом виде съемного сукна и массоподводящих устройств;
6) увеличивается скорость сеточного цилиндра и достигается большая сухость слоя, выходящего из массы, что позволяет работать с большим линейным давлением съемного вала без опасения разрушить слой.
Стекание слоя массы с сеточного цилиндра можно предотвратить следующими способами:
1) увеличением степени помола массы;
2) увеличением разности уровней между массой в ванне и оборотной водой внутри сеточного цилиндра;
3) 'повышением уровня массы в ванне;
4) увеличением диаметра сеточного цилиндра.
Однако увеличение степени помола массы имеет и отрицательные стороны. Затрудняется процесс обезвоживания массы, снижается прочность влажных слоев, поднимается уровень массы в ванне и увеличивается сила прилипания полученного слоя к сетке цилиндра.
Увеличение диаметра сеточного цилиндра оказывается особенно полезным при повышении степени помола массы и ухудшении ее фильтрующих свойств. Увеличение диаметра влечет за собой уменьшение центробежной силы, отрывающей слой от поверхности сетки цилиндра, а также создает возможность более глубокого погружения поверхности цилиндра в массу, чем у цилиндров меньших диаметров.
Однако наилучшее средство удержания слоя на поверхности сеточного цилиндра – это применение вакуума.
Недостатки применения сеточного цилиндра, работающего под вакуумом, сводятся к следующему. При этом способе требуется применение системы отсасывающих трубопроводов большого диаметра, высока стоимость установки, необходима очистка отсасывающих трубопроводов, появляется опасность облипания массой поверхности сеточного цилиндра (что особенно часто происходит в момент заполнения ванны массой), затруднена очистка поверхности сетки цилиндра от налипшей на нее массы.
Для отделения сформованного слоя от поверхности сетки цилиндра необходимо, чтобы силы прилипания слоя к сукну были больше сил прилипания слоя к поверхности сетки.
Вакуум-формующие цилиндры
Вакуум-формующие цилиндры бывают различных конструкций и подразделяются на две основные группы: с погружением в ванну с бумажной массой и без погружения. К первой группе относятся цилиндры, в которых для повышения процесса обезвоживания бумажной массы и повышения скорости работы машины до 110…120 м/мин внутри закрытого с торцов цилиндра с помощью вентилятора создается небольшое разряжение (200…500 Па). Однако в данном случае имеют место трудности в создании даже небольшого вакуума внутри цилиндра из-за подсоса туда воздуха через открытый участок сетки. Для устранения этого внутри цилиндра могут быть установлены одна или несколько отсасывающих камер, находящихся под разряжением от 2 до 14 кПа, создаваемым с помощью вакуум-насоса. Такие формующие цилиндры устроены по типу отсасывающего гауч-вала; они позволяют существенно повысить сухость элементарного слоя, уменьшить загрязнение приемных сукон и увеличить срок их работы. Однако увеличение вакуума в погруженных в бумажную массу цилиндрах не позволяет существенно увеличить скорость процесса формования элементарного слоя. Поэтому машины с такими цилиндрами работают со скоростью, не превышающей 130…140 м/мин.
Формующие цилиндры, работающие под вакуумом без погружения их в ванну с массой, в настоящее время считаются наиболее перспективными, так как позволяют работать при получении многих видов картона со скоростью до 300 м/мин при обрезной ширине полотна 4,2 м. Формующие цилиндры такого типа принято называть вакуум-формерами. Они имеют различные модификации.
Так, например, фирма «Escher-Wyss» предлагает вакуум-формер SungFormer (рис. 93), в котором очищенная бумажная масса из конического трубного потокораспределителя поступает в ступенчатый диффузор напускного устройства. В этом устройстве масса равномерно распределяется по всей ширине и изменяет режим работы с ламинарного на микротурбулентный. Это способствует разрыхлению сгустков и флокул волокон и позволяет вести процесс отлива картона при относительно высокой концентрации массы (до 1,0…1,2 %). Из ступенчатого диффузора масса поступает в падающий канал с регулируемым поперечным сечением, где приобретает заданную скорость, необходимую для качественного формования картона, и далее заполняет камеру, ограниченную верхней губой напускного устройства и сеткой формующего цилиндра. При большой массе 1 м2 элементарного слоя ширина щели камеры на выходе массы составляет 2…4 мм, и часть бумажной массы направляется в перелив, очищая при этом выходную кромку верхней губы. При небольшой массе элементарного слоя (до 60 г/м2) ширина щели составляет 0,8…1,0 мм и вакуум-формер работает без перелива.
Процесс формования и обезвоживания элементарного слоя начинается при поступлении бумажной массы в камеру напускного устройства под действием ее напора, а также вакуума, создаваемого в отсасывающем устройстве, находящемся внутри цилиндра. Отсасывающее устройство имеет четыре камеры, в каждой из которой вакуум устанавливается автономно и поддерживается автоматически.

Рис. 93 - Схема вакуум-формера SungFormer:
1 – формующий цилиндр; 2 – сукно; 3 – съемный валик; 4 – верхняя губа поворотного напускного устройства; 5 – механизм перемещения губы; 6 – напускное устройство турбулентного типа; I – IV – вакуумные камеры
В I камере по ходу массы вакуум может отсутствовать. Здесь процесс обезвоживания бумажной массы происходит в основном за счет избыточного давления в напускном устройстве. Для нужного удержания мелкого волокна и наполнителя (что очень важно при работе на макулатурной массе) в I камеру может быть подана оборотная вода для поддержания необходимого противодавления (до 2 кПа). Во II камере вакуум поддерживается от 5 до 10 кПа, здесь происходят процессы формования и обезвоживания элементарного слоя, а также его упрочнения до такого состояния, чтобы он не разрушался после выхода из зоны формования. В III камере происходит дальнейшее обезвоживание уже образовавшегося элементарного слоя до такого состояния, чтобы он не разрушался под действием съемного валика. В этой зоне поддерживается максимальный вакуум – от 8 до 20 кПа. IV камера предназначена для соединения элементарных слоев в единое полотно, а также для предотвращения выбрасывания воды из ячеек сетки и отверстий в корпусе цилиндра во избежание увлажнения уже сформировавшегося полотна картона. Вакуум здесь составляет 3…6 кПа.
В процессе работы вакуум-формер постоянно очищается двумя специальными спрысками, оснащенными игольчатыми форсунками и совершающими возвратно-поступательное движение. На спрыски подается осветленная и свежая вода давлением соответственно 0,9 и 6,0 МПа. I отсасывающая камера промывается дополнительно примерно 1 раз в сутки отдельным спрыском высокого давления, расположенным внутри цилиндра.
Развитие круглосеточных формующих устройств фирмы «Voith »
На рис.94 показан обычный сеточный цилиндр, работающий в противоточной ванне.

В такой системе действует ряд факторов, ухудшающих формование полотна, а именно:
- сильное турбулентное течение в зоне «а»;
- быстрое движение массы в пограничном слое в зоне «b»;
- сильно сгущенная масса с флокуляцией, незначительное движение в зоне «с».
Эти факторы проявляют свое негативное влияние в особенности при повышении скорости работы машины и, соответственно, скорости подачи массы.

Следующим шагом в развитии круглосеточного формования был сеточный цилиндр с частичной нагрузкой (рис.95). В этом случае формование листа осуществляется уже после прохождения сеткой более половины погружной части цилиндра.
Задняя стенка зоны формования может быть отрегулирована (1) как в зоне входа массы, так и в верхней точке независимо друг от друга. Тем самым можно отрегулировать скорость течения массы. При этой системе неполадок в работе меньше. Они могут возникнуть вследствие негомогенного пограничного слоя, а также возможны нарушения поверхности листа, в зоне перелива массы (2).
В последующей конструкции, разработанной фирмой «Фойт» было значительно улучшены листообразование и поперечный профиль массы 1 м2 бумаги (рис.96).
Подача массы в нем осуществляется сбоку в конический поперечный распределитель (1), затем вертикально в распределитель пучка труб, в котором создается высокая коротковолновая турбулентность. Она приводит к равномерному распределению волокон.
Покрывающая зону листообразования задняя крышка регулируется на стороне входа и выхода независимо друг от друга и устанавливается с учетом характера обезвоживания соответствующей массы.
Через входной зазор можно регулировать скорость потока и тем самым влиять на ориентацию волокон и соотношение разрывной длины в машинном и поперечном направлениях.
Выходной зазор оказывает через давление листообразования прямое влияние на качество формования и может быть отрегулирован соответственно толщине листа.
Вызывающий помехи перелив массы и негомогенность пограничность слоя в этой конструкции устранены.
Данная концепция круглосеточного формования далее была улучшена в устройстве короткого формования типа «Курцформер» (рис. 97).
Если в прежних конструкциях длинная поверхность трения приводила к продольной ориентации волокон и требовалось скреплять волокна и наполнитель во избежание пылеобразования при печатании, то новое устройство лишено этого недостатка.
Упростилась также эксплуатация, доступность и, следовательно, обслуживание напорного ящика.
Кроме того, через входной зазор с помощью регулировочных винтов можно корректировать по секциям поперечный профиль массы 1 м2 бумаги. Выходной зазор с помощью юстировочных винтов также может быть приспособлен по всей ширине к геометрии поверхности цилиндра.
Сеточный цилиндр изготавливается в двух модификациях «N» и «S», соответственно без отсоса и с отсасывающим ящиком, имеющим три зоны отсоса.
Исполнение «N» применяется на скоростях до 140 м/мин, модификация «S» позволяет работать на скоростях до 300 м/мин.
I зона отсасывающего ящика служит для отвода отделяемой воды, II зона фиксирует лист против действия центробежной силы и обезвоживает дальше. Последняя зона отводит воду, освобождающуюся в зоне смещения верхнего гауч-вала относительно сеточного цилиндра.
Следующим поколением устройства короткого формования стала конструкция «Курцформер Дёрриес» с плавающей губой (рис. 98).

Главное достижение этой конструкции – улучшение поверхности обратной стороны листа.
На верхней стороне зона листообразования ограничивается верхней губой. Со стороны массы она имеет профиль, который почти соответствует ходу обезвоживания при листообразовании.
В новой конструкции исключается образование мертвой зоны, в которой могут возникнуть флокуляция и неконтролируемое влияние потока, ухудшающее листообразование и поверхность листа.
Правильный профиль в расчетном пункте может точным только для определенной массы, скорости и определенной массы 1 м2 бумаги.
В прежних конструкциях для достижения этой цели надо было накрыть напускным устройством широкую зону листообразования.
Конструкция с «плавающей верхней губой» обеспечила решение этой проблемы.
Пневматический рукав создает регулирующее давление обезвоживания на верхней губе, благодаря чему исключается образование над верхней губой воздушного зазора. При этом также устраняются негомогенность пограничного слоя и отложения.
Влияния на поперечный профиль полотна, обусловленные термическими факторами, компенсируются стабильным давлением рукава по ширине машины.
Колебания поведения массы при обезвоживании, например, в зависимости от степени помола, больше не оказывают влияния на листообразование.
На технологической схеме (рис. 99) установки устройства «Курцформер 2 H» показан принцип регулирования его работы. Вертикальная сортировка (3) выполняет здесь только контрольную функцию, поэтому на ней устанавливают сита с большой перфорацией.
Машинист вводит в систему параметр соотношения скоростей сетки и струи (сетка-струя). Масса 1 м2 бумаги определяется количеством подаваемой свежей массы.
Расход и соответственно концентрация массы стабилизированы измерительным сигналом и насосом напорного ящика с регулируемым числом оборотов.

Исходя из расхода и заданной скорости струи рассчитывается необходимый входной зазор. Он соответственно регулируется через измерительный сигнал и серводвигатель «Курцформера 2 H».
Современная технология цилиндрического формования FloatLip former фирмы Voith
В системе подвода FloatLip former (рис. 100) для хорошего распределения волокнистой суспензии по ширине машины применяют центробежный распределитель. Принцип шагового диффузора поддерживает оптимальную турбулентность в камере смешения.

Рис.100 – Система подвода FloatLip former
FloatLip former может быть оборудован системой локального изменения концентрации массы разбавительной водой для оптимизации весового профиля.
Обычно, разбавительную воду добавляют в поддерживающую нижнюю часть ящика (см. на рис.) или в зону выхода из центробежного распределителя массы.
Гибкие шланги одинаковой длины расположены радиально на центробежном распределителе обеспечивают равномерное распределение суспензии по всей ширине машины. Они поддерживают суспензию при постоянном давлении в FloatLip former.
Суспензия в центробежный распределитель подается тангенциально, в результате образующихся центробежных сил воздух и легкие включения скапливаются в центре распределителя и непрерывно отводятся через вентиляционную линию.
Верхняя губа снабжена воздушными шлангами (трубками), что поддерживает постоянство геометрии губы независимо от рабочего давления, что хорошо влияет на профиль бумаги. Изменяя давление в воздушных шлангах можно быстро обеспечивать необходимые условия для формования и характер обезвоживания.
Воздушные шланги должны располагаться по всей ширине губы (рис. 101), что приведет к равномерному распределению прилагаемого давления.

Рис. 101 – Расположение воздушных шлангов
FloatLip former оборудован также камерами нагрева для поддержания температурной стабильности и поддержания геометрической стабильности формы ящика.
Уплотнение (подкладка) нижней губы (на рис.100 названа мокрой губой) из синтетического материала легко и быстро заменяется для достижения оптимального уплотнения нижней губы. Это уплотнение позволит избежать утечек суспензии.
В принципе используют три типа FloatLip former (в зависимости от различных требований к производственным скоростям и полуфабрикатам), изображенные на рис.102:
- Тип N без вакуума;
Проза в годы гласности - лекция, которая пользуется популярностью у тех, кто читал эту лекцию.
- Тип NO с верхней отсасывающей системой;
- Тип S с тремя вакуумными зонами.
Существующие круглосеточные машины также могут оборудоваться FloatLip former.

Рис. 102 - Типы FloatLip former





















