Сингулярные задачи теории упругости для тел с трещинами
Сингулярные задачи теории упругости для тел с трещинами
Основным модельным представлением в механике разрушения является пластина с нарушением сплошности, представляющим собой разрез (трещину) и являющимся концентратором напряжений. Рассмотрение трещин в хрупких телах можно рассматривать как предельный случай концентрации напряжений. Исторически первым является решение задачи о концентрации напряжений возле кругового отверстия (Г.Кирш, 1898 г.). В современной интерпретации с использованием функций напряжений Эри задача выглядит следующим образом. Рассматривается бесконечная пластина с круглым отверстием радиусом а, находящаяся под воздействием одноосного напряжения s. Для плоского напряженного состояния в полярных координатах зависимости компонентов напряжений при q=p/2 или q=3p/2 имеют вид (рис. 38)

Рис. 38. Распределение напряжений у круглого отверстия
в бесконечной пластине

Дальнейшим развитием является анализ напряжений вокруг овального отверстия в пластине в случае растяжения, чистого изгиба, чистого сдвига (Г.В.Колосов, 1910 г., К.Инглис, 1913 г.), в соответствии с которым в вершине отверстия возникает напряжение (рис. 39)
,
где r - радиус кривизны в вершине отверстия.
Рекомендуемые материалы

1. Рис. 39. Графическая иллюстрация результатов Колосова и Инглиса
В дальнейшем был поставлен и решен целый класс сингулярных краевых задач теории упругости, т.е. граничных задач с особыми точками. Такими точками являются, например, бесконечно удаленная точка, точка разрыва граничных условий точка приложения сосредоточенной силы и т.д. При этом в линейных задачах решение (или его производные, начиная с некоторого порядка) стремится к бесконечности при приближении к особой точке. Поскольку граничная задача в особой точке не определена, встает вопрос о формулировке физически осмысленного дополнительного условия в такой точке, т.е. о постановке корректной сингулярной краевой задачи.
Наиболее успешно для решения сингулярных задач используются мощные методы, развитые Г.В.Колосовым и Н.И.Мусхелишвили для общего случая плоской задачи теории упругости.
Допустим, что поле упругих смещений и деформаций не зависит от одной из прямоугольных декартовых координат x, y, z, например, от z. В этом весьма общем и важном случае все смещения и напряжения можно представить через функции Ф(z), Y(z) и f(z), являющиеся аналитическими функциями комплексного переменного z=x+iy в области, занятой телом. Первые две из них часто называют потенциалом Колосова-Мусхелишвили. Выражения для комплексного представления смещений и напряжений имеют следующий вид


где m - модуль сдвига; n - коэффициент Пуассона.
Для механики разрушения большой интерес представляет изучение асимптотического распределения напряжений, деформаций и смещений вблизи фронта трещины. Рассмотрим малую окрестность произвольно фиксированной точки на гладком контуре трещины (рис. 40).

Рис. 40. Система координат и компоненты напряжений у кончика трещины
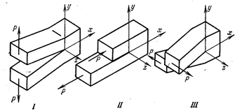
Общее корректное решение зависит от трех действительных параметров, которые участвуют в решении на основе потенциалов Колосова-Мусхелишвили в качестве множителей при различных членах асимптотики и которые определяются из решения задачи. Каждый из указанных трех членов асимптотического разложения соответствует одному из трех основных типов трещин (рис. 41).

Рис. 41. Основные виды смещений поверхности трещины
Окончательное решение дает распределение напряжений и смещений вблизи края произвольной хрупкой трещины для указанных основных типов разрывов:
– нормальный разрыв

,

– поперечный сдвиг

В лекции "1 Введение в фотографию" также много полезной информации.


– продольный сдвиг

Эти формулы были получены для случая плоской деформации; в случае плоского напряженного состояния нужно взять в них sz=0 и заменить n на n/(1+n). Формулы справедливы в малой окрестности края трещины, т.е. r должно быть малым по сравнению с характерным линейным размером тела, например, длиной трещины или расстоянием ее конца от свободной границы.
Трем типам разрывов в теории дислокаций соответствуют клиновые, краевые и винтовые дислокации. Для трещин произвольного типа все величины KI, KII, KIII отличны от нуля. Эти величины называются коэффициентами интенсивности напряжений и имеют размерность силы, деленной на длину в степени три вторых.





















