Этапы машинного моделирования систем
Лекция 8
Этапы машинного моделирования систем
2. Алгоритмизация моделей систем и их машинная реализация
На втором этапе моделирования – этапе алгоритмизации модели и ее машинной реализации – математическая модель, сформированная на первом этапе, воплощается в конкретную машинную модель.
Подэтапы второго этапа моделирования. Рассмотрим подэтапы алгоритмизации модели системы и её машинной реализации.
2.1 Построение логической схемы модели. Рекомендуется строить модель по блочному принципу, т.е. в виде некоторой совокупности стандартных блоков, что обеспечит необходимую гибкость в процессе ее эксплуатации, особенно на стадии машинной отладки. Блоки бывают двух типов: основные и вспомогательные. Каждый основной блок соответствует некоторому реальному подпроцессу, имеющему место в моделируемой системе S, а вспомогательные блоки необходимы лишь для машинной реализации, фиксации и обработки результатов моделирования.
Реализация подэтапа 2.1 для примера:
Логическая схема модели представлена на рис. 1.
После генерации заявок в источнике И (блок 1) осуществляется проверка на наличие мест в накопителе Н (блок 2). При отсутствии мест заявке будет отказано в обслуживании (блок 3), она будет удалена (блок 9) и покинет систему. Если место в накопителе Н есть, то заявка становится в очередь в накопителе (блок 4).
Рекомендуемые материалы

Рис. 1. Логическая схема модели.
Далее осуществляется равномерное распределение потока заявок между каналами К1 и К2 (блок 5): 60% заявок поступает на проверку занятости канала К1 (блок 6), 30% заявок – на проверку занятости канала К2 (блок 10). Если канал К1 занят, то заявки поступают на проверку занятости канала К3 (блок 12). Если канал К1 свободен, то заявки обслуживаются в канале К1 (блок 7). После этого осуществляется равномерное распределение потока заявок (блок 8): 80% заявок поступает на удаление (блок 9) и покидает систему, 20% заявок поступает на проверку занятости канала К2 (блок 10).
В случае занятости канала К2 продолжается проверка на занятость (блок 10). Если канал К2 свободен, то заявки обслуживаются в канале К2 (блок 11). Далее аналогично происходит проверка на занятость канала К3 (блок 12), и если канал К3 свободен, то заявки обслуживаются в канале К3 (блок 13). Для того чтобы определить загруженность (или простои) каналов К2 и К3, можно проанализировать статистические данные, касающиеся очереди перед соответствующими каналами. После обслуживания заявки в канале К3 она поступает в блок равномерного распределения потока заявок (блок 8): 80% заявок поступает на удаление (блок 9) и покидает систему, 20% заявок поступает на проверку занятости канала К2 (блок 10).
2.2. Получение математических соотношений. Одновременно с выполнением подэтапа построения логической схемы модели необходимо получить математические соотношения в виде явных функций, т.е. построить аналитические модели. Этот подэтап соответствует неявному заданию возможных математических соотношений на этапе построения концептуальной модели. Схема машинной модели ММ должна представлять собой полное отражение заложенной в модели концепции и иметь:
а) описание всех блоков модели с их наименованиями; б) единую систему обозначений и нумерацию блоков; в) отражение логики модели процесса функционирования системы; г) задание математических соотношений в явном виде.
Таким образом, построенная машинная модель ММ системы будет иметь комбинированный характер, т.е. отражать аналитико-имитационный подход, когда часть процесса в системе описана аналитически, а другая часть имитируется соответствующими алгоритмами.
Реализация подэтапа 2.2 для примера:
Вероятность отказа в обслуживании вследствие переполнения очереди к УПД или ЭВМ (Ротк) зависит от количества студентов, отработавших на ЭВМ или УПД и ЭВМ (NОБС), и количества студентов, которые получили отказ в обслуживании вследствие переполнения очереди к УПД или ЭВМ (NОТК) за заданный интервал времени работы машинного зала:

Среднее время обслуживания студентов в машинном зале (tОБС) находится в пределах времени работы студентов на первой ЭВМ (tЭВМ1) и суммарного времени работы студентов на УПД (tУПД), второй ЭВМ (tЭВМ2), повторного времени работы студентов на УПД и второй ЭВМ с вероятностью 20%, а также времени ожидания в очереди к УПД и второй ЭВМ, поскольку студенты, желающие повторно работать, остаются в машинном зале независимо от их количества.

Загрузку УПД, ЭВМ и соотношение желающих работать на ЭВМ и УПД в очереди в виде явных функций записать трудно. Эти величины определим с помощью языка имитационного моделирования.
2.3. Проверка достоверности модели системы. Проверка модели на данном подэтапе должна дать ответ на вопрос, насколько логическая схема модели системы и используемые математические соотношения отражают замысел модели, сформированный на первом этапе. При этом проверяются: а) возможность решения поставленной задачи; б) точность отражения замысла в логической схеме; в) полнота логической схемы модели; г) правильность используемых математических соотношений.
2.4. Выбор инструментальных средств моделирования. На этом подэтапе необходимо окончательно решить вопрос о том, какую вычислительную машину и какое программное обеспечение целесообразно использовать для реализации модели системы S. Вопрос о выборе ЭВМ сводится к обеспечению следующих требований: а) наличие необходимых программных и технических средств; б) доступность выбранной ЭВМ для разработчика модели; в) обеспечение всех этапов реализации модели; г) возможность своевременного получения результатов.
Реализация подэтапа 2.4 для примера:
В нашем случае для проведения моделирования системы массового обслуживания с непрерывным временем обработки параметров при наличии случайных факторов необходимо использовать ЭВМ с применением языка имитационного моделирования GPSS, т.к. в настоящее время самым доступным средством моделирования систем является ЭВМ, а применение простого и доступного языка имитационного моделирования GPSS (http://www.gpss.ru) значительно упростит программирование; специально предусмотренные в нем возможности сбора, обработки и вывода результатов моделирования позволят быстро и подробно проанализировать возможные исходы имитационного эксперимента с моделью.
2.5. Составление плана выполнения работ по программированию. План при использовании универсальной ЭВМ должен включать в себя: а) выбор языка (системы) программирования модели; б) указание типа ЭВМ и необходимых для моделирования устройств; в) оценку примерного объема необходимой оперативной и внешней памяти; г) ориентировочные затраты машинного времени на моделирование; д) предполагаемые затраты времени на программирование и отладку программы на ЭВМ.
Реализация подэтапа 2.5 для примера:
Выбранный язык имитационного моделирования GPSS имеет три версии: MICRO-GPSS Version 88-01-01, GPSS/PC Version 2, GPSS World Students Version 4.3.5. Micro-GPSS имеет DOS-интерфейс, чувствителен к стилю написания программы (количеству пробелов между операндами, длине меток и имен и др.), не содержит текстового редактора. GPSS/PC лишен указанных недостатков, однако интерпретатор GPSS World Students имеет ряд преимуществ перед ним, например наличие интерфейса Windows, пошагового отладчика, возможность сбора и сохранения в файлах различной статистической информации, визуальный ввод команд. Поэтому для разработки модели был выбран именно интерпретатор GPSS World Students.
Для моделирования достаточно использовать ЭВМ типа IBM/PC, применение специализированных устройств не требуется. В программное обеспечение ЭВМ, на которой проводится моделирование, должны входить операционная система Windows и интерпретатор GPSS. Затраты оперативной и внешней памяти незначительны, и необходимости в их расчете при современном уровне техники нет. Затраты времени на программирование и отладку программы на ЭВМ зависят только от уровня знаний языка и имеющихся навыков, которые были получены студентом на лабораторных работах.
2.6. Спецификация и построение схемы программы. Спецификация программы – формализованное представление требований, предъявляемых к программе, которые должны быть удовлетворены при ее разработке, а также описание задачи, условий и эффекта действия без указания способа его достижения. Наличие логической блок-схемы модели позволяет построить схему программы, которая должна отражать: а) разбиение модели на блоки, подблоки и т.д.; б) особенности программирования модели; в) проведение необходимых изменений; г) возможности тестирования программы; д) оценку затрат машинного времени; е) форму представления входных и выходных данных. Схема программы зависит от выбранного языка: алгоритмического языка общего назначения или языка моделирования.
Реализация подэтапа 2.6 для примера:
к программе на языке имитационного моделирования GPSS согласно спецификации программы предъявляются традиционные требования: структурированность, читабельность, корректность, эффективность и работоспособность, которые предлагается описать в пояснительной записке самостоятельно.
Спецификация постановки задачи данного курсового проекта – определить количество студентов, отработавших на ЭВМ или УПД и ЭВМ за заданный интервал времени работы машинного зала (NОБС), и количество студентов, которые получили отказ в обслуживании вследствие переполнения очереди к УПД или ЭВМ за заданный интервал времени работы машинного зала (NОТК). В качестве исходных данных задаются интервал времени (интенсивность) прихода студентов в машинный зал (tпр ± Dtпр), допустимая очередь в машинный зал (lзал), время работы студентов на первой и второй ЭВМ (tЭВМ1, tЭВМ2), время работы студентов на УПД (tУПД ± DtУПД), а также процент студентов, желающих работать только на ЭВМ (РЭВМ), процент студентов, желающих работать не только на ЭВМ, но и на УПД (РУПД), процент студентов, желающих повторно работать на УПД и ЭВМ (РПР).
Спецификация ограничений на параметры исследуемой системы следующая: исходные данные должны быть положительными числами, кроме того, процент студентов, желающих работать только на ЭВМ (РЭВМ), и процент студентов, желающих работать не только на ЭВМ, но и на УПД (РУПД), в сумме должны составлять 100 %, процент студентов, желающих повторно работать на УПД и ЭВМ (РПР), не должен превышать 100 % .
Схема программы (см. рис. 2) зависит от выбранного языка моделирования.
Блоки схемы соответствуют блок-диаграмме языка GPSS, что позволит легко написать текст программы, провести ее модификацию и тестирование. Для полного покрытия программы тестами необходимо так подобрать параметры, чтобы все ветви в разветвлениях проходились по меньшей мере по одному разу. Интерпретатор языка GPSS позволяет проанализировать статистические данные по каждой ветви программы.
Оценка затрат машинного времени проводится по нескольким критериям эффективности программы: затраты памяти ЭВМ, затраты вычислений (идентичны времени вычислений при последовательной обработке), время вычислений («время ответа»). Форма представления входных и выходных данных определяется интерпретатором языка GPSS и изменить ее по усмотрению пользователя невозможно.

Рис. 2. Схема программы.
2.7. Верификация и проверка достоверности схемы программы. Верификация программы – доказательство того, что поведение программы соответствует спецификации на программу. На этом подэтапе проводится проверка соответствия каждой операции, представленной в схеме программы, аналогичной ей операции в логической схеме модели.
2.8. Проведение программирования модели. Если имеется адекватная схема программы, то программирование представляет собой работу только для программиста без участия и помощи со стороны разработчика модели. При использовании пакетов прикладных программ моделирования проводится непосредственная генерация рабочих программ для моделирования конкретного объекта, т.е. программирование модели реализуется в автоматизированном режиме.
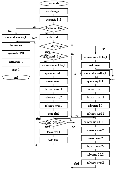
Реализация подэтапа 2.8 для примера:
Текст программы Комментарии
| simulate | Начало моделирования | |
| zal storage 3 | Определение емкости многоканального устройства zal – очереди в машинный зал емкостью в 3 заявки | |
| generate 8,2 | Генерация входных заявок | |
| if r$zal=0,fin | Проверка на занятость устройства zal; если устройство zal занято, то переход по метке fin | |
| enter zal,1 | Занятие устройства zal по одной заявке | |
| if rn1>0.67,upd | 33 % заявок передаются по метке upd | |
| pc1 | if f$evm1=1,pc2 | Проверка занятости прибора evm1 (ЭВМ 1); если прибор занят, то переход по метке pc2 на прибор evm2 |
| savevalue e111+,1 | Определение количества заявок, которые может обслужить прибор evm1 (ЭВМ 1) | |
| queue evm11 | Сбор статистических данных о входе заявки в очередь evm11 к прибору evm1 | |
| seize evm1 | Занятие прибора evm1 | |
| depart evm11 | Сбор статистических данных о выходе заявки из очереди evm11 к прибору evm1 | |
| advance 17,2 | Обработка заявки в приборе evm1 | |
| release evm1 | Освобождение прибора evm1 | |
| goto fin1 | Безусловный переход на метку fin1 к выходу из устройства zal | |
| upd | savevalue u111+,1 | Определение количества вновь пришедших заявок, которые может обслужить прибор upd (УПД) |
| goto new1 | Безусловный переход на метку new1 для работы на УПД | |
| new | savevalue zal1+,1 | Определение количества заявок, которые может повторно обслужить прибор upd |
| new1 | queue upd11 | Сбор статистических данных о входе заявки в очередь upd11 к прибору upd |
| seize upd | Занятие прибора upd | |
| depart upd11 | Сбор статистических данных о выходе заявки из очереди upd11 к прибору upd | |
| advance 8,1 | Обработка заявки в приборе upd | |
| release upd | Освобождение прибора upd | |
| pc2 | savevalue e222+,1 | Определение количества заявок, которые может обслужить прибор evm2 |
| queue evm22 | Сбор статистических данных о входе заявки в очередь evm22 к прибору evm2 | |
| seize evm2 | Занятие прибора evm2 | |
| depart evm22 | Сбор статистических данных о выходе заявки из очереди evm22 к прибору evm2 | |
| advance 17,2 | Обработка заявки в приборе evm2 | |
| release evm2 | Освобождение прибора evm2 | |
| fin1 | if rn2>0.8,new | 20 % заявок передается по метке new для повторной обработки на приборах upd и evm2 |
| leave zal,1 | Освобождение устройства zal по одной заявке | |
| goto fin2 | Безусловный переход на метку fin2 для уничтожения заявок | |
| fin | savevalue otk+,1 | Определение количества отказов в обслуживании заявок в устройстве zal |
| fin2 | terminate | Уничтожение заявок |
| generate 360 | Генерация временных заявок для моделирования | |
| terminate 1 | Уничтожение временных заявок | |
| start 1 | Продолжение работы системы | |
| end | Окончание моделирования |
2.9. Проверка достоверности программы. Эта последняя проверка на этапе машинной реализации модели, которую необходимо проводить: а) обратным переводом программы в исходную схему; б) проверкой отдельных частей программы при решении различных тестовых задач; в) объединением всех частей программы и проверкой ее в целом на контрольном примере моделирования варианта системы S. На этом подэтапе необходимо также проверить оценки затрат машинного времени на моделирование.
2.10. Составление технической документации по второму этапу. Для завершения этапа машинной реализации модели ММ необходимо составить техническую документацию, содержащую: а) логическую схему моделирования и ее описание; б) адекватную схему программы и принятые обозначения; в) полный текст программы; г) перечень входных и выходных величин с пояснением; д) инструкцию по работе с программой; е) оценку затрат машинного времени на моделирование с указанием требуемых ресурсов ЭВМ.
Таким образом, строится машинная модель ММ, с которой предстоит работать для получения необходимых результатов моделирования по оценке характеристик процесса функционирования системы S (задача анализа) или для поиска оптимальных структур, алгоритмов и параметров системы S (задача синтеза).
3. Получение и интерпретация результатов моделирования систем
Эксперименты с имитационными моделями
Необходимым условием успешного моделирования является обеспечение адекватности модели, т.е. функционального или структурного тождества модели исследуемому процессу или объекту относительно цели исследования. Однако этого недостаточно. Для успешного исследования необходимо разработать план эксперимента над моделью, правильно обработать и интерпретировать результаты моделирования. В частности, GPSS имеет средства, которые позволяют провести:
- дисперсионный анализ (отсеивающий эксперимент);
- регрессионный анализ (оптимизирующий эксперимент);
собственный эксперимент пользователя.
Прежде чем рассматривать эти средства, остановимся на основных понятиях теории планирования экспериментов.
1. Необходимость планирования экспериментов.
Теория исходит из абстрактной схемы сложной системы, называемой «черным ящиком». Считается, что исследователь может наблюдать входы и выходы черного ящика (имитационной модели) и по результатам наблюдений определять зависимость между входами и выходами.
Эксперимент на имитационной модели будем рассматривать состоящим из наблюдений, а каждое наблюдение – из прогонов модели.
Входные переменные х1, х2, … , хm называются факторами. Выходная переменная y называется наблюдаемой переменной (реакцией, откликом).
Факторное пространство – это множество факторов, значения которых исследователь может контролировать в ходе подготовки и проведения модельного эксперимента.
Каждый фактор имеет уровни. Уровни – это значения, которые устанавливаются для каждого фактора при определении условий прогона модели в наблюдении.
Целью эксперимента является нахождение функции y, при этом предполагается, что значение отклика складывается из двух составляющих:
Y = f(x1,x2,…,xm) + e(x1,x2,…,xm);
где f(x1,x2,…,xm) – функция отклика (неслучайная функция факторов);
e(x1,x2,…,xm) – ошибка эксперимента (случайная величина),
x1,x2,…,xm – определенное сочетание уровней факторов из факторного пространства.
Дисперсионный анализ – это статистический метод анализа результатов наблюдений, зависящих от различных, одновременно действующих факторов, выбор наиболее важных факторов и оценка их влияния.
В условиях эксперимента факторы могут варьировать, благодаря чему можно исследовать влияние фактора на наблюдаемую переменную. Если влияние некоторого фактора на наблюдаемую переменную изменяется при изменении уровня некоторого другого фактора, говорят, что между факторами существует взаимодействие.
Суть анализа заключается в разложении общей вариации случайной величины на независимые слагаемые – эффекты, каждый из которых характеризует влияние того или иного фактора (главный эффект) или их взаимодействия (эффект взаимодействия).
Эксперимент, в котором реализуются все возможные сочетания уровней факторов, называется полным факторным экспериментом (ПФЭ).
Общее число различных сочетаний уровней в ПФЭ для m факторов можно вычислить по формуле:
S = k1*k2*…*km,
где ki – число уровней i-го фактора.
Если число уровней для всех факторов одинаково, то S = km
Каждому сочетанию уровней факторов соответствует одно наблюдение.
Недостаток ПФЭ – большие затраты на подготовку и проведение, т.к. с увеличением числа факторов и их уровней число наблюдений в эксперименте растет. Например, если имеется шесть факторов с двумя уровнями каждый, то даже при одном прогоне модели в каждом наблюдении нужно 64 наблюдения. Очевидно, что каждый прогон удваивает это число, следовательно, увеличиваются затраты машинного времени.
Возрастает также число взаимодействий различных порядков. В таблице приведено число главных эффектов и эффектов взаимодействия различных порядков, которые могут быть выявлены при полном исследовании 2m сочетаний уровней.
m = 5
32
число главных эффектов 5
число эффектов взаимодействий 1-го порядка 10
число эффектов взаимодействий 2-го порядка 10
число эффектов взаимодействий 3-го порядка 5
число эффектов взаимодействий 4-го порядка 1
число эффектов взаимодействий 5-го порядка
На практике бывает необходимо исследовать влияние на наблюдаемую переменную, например, 10 факторов, каждый из которых имеет 4 уровня. В этом случае общее число различных сочетаний уровней будет 1 млн.
Такого рода задачи и явились одной из причин возникновения теории планирования экспериментов.
Планирование экспериментов – один из разделов математической статистики, изучающий рациональную организацию измерений, подверженных случайным ошибкам.
Планом эксперимента называется совокупность значений факторов, при которых находятся значения оценок функции отклика, удовлетворяющих некоторому критерию оптимальности, например, точности.
Различают стратегическое планирование эксперимента и тактическое планирование эксперимента.
Стратегическое планирование эксперимента
Целью стратегического планирования эксперимента является определение количества наблюдений и сочетаний уровней факторов в них для получения наиболее полной и достоверной информации о поведении системы.
При стратегическом планировании эксперимента должны быть решены две основные задачи:
1. Идентификация факторов.
2. Выбор уровней факторов.
Под идентификацией факторов понимают их ранжирование по степени влияния на значение наблюдаемой переменной.
По итогам идентификации целесообразно разделить все факторы на две группы: первичные и вторичные.
Первичные – это факторы, исследование которых необходимо провести.
Вторичные – факторы, которые не являются предметом исследования, но влиянием которых нельзя пренебречь.
Выбор уровней факторов производится с учетом двух противоречивых требований:
- уровни фактора должны перекрывать весь возможный диапазон его изменения;
- общее количество уровней по всем факторам не должно приводить к большому количеству наблюдений.
Отыскание компромиссного решения, удовлетворяющего этим требованиям, и является задачей стратегического планирования эксперимента.
Так как ПФЭ может потребовать много машинного времени, необходимо располагать методами отбора факторов, оказывающих существенное влияние на отклик. Оказывается, что если исследователя не интересуют взаимодействия высокого порядка, можно получитьбольшое количество информации с помощью исследования лишь некоторой части (1/2, ¼, 1/8 и т.д. ) всех возможных сочетаний уровней факторов.
Если в эксперименте производится лишь часть возможных наблюдений, т.е. уменьшается выборка, эксперимент называется частным факторным экспериментом (ЧФЭ).
Когда используется выборка меньшая, чем того требует ПФЭ, плата за это осуществляется риском смешивания эффектов. Под смешиванием понимается то, что исследователь, измеряя один эффект, в то же время измеряет, возможно, и некоторый другой эффект. Например, если главный эффект смешивается с взаимодействием более высокого порядка, то эти два эффекта уже невозможно отделить друг от друга. Таким образом, если анализ показывает наличие некоторого эффекта, то нельзя с уверенностью сказать, главный ли это эффект, или эффект взаимодействия, или некоторая аддитивная комбинация этих эффектов.
При построении плана ЧФЭ исследователь должен определить эффекты, смешивание которых он может допустить. Успех ЧФЭ достигается в случае, если его план позволяет не смешивать ни один главный эффект с другим.
Если число факторов невелико (обычно меньше пяти), то ЧФЭ нецелесообразен вследствие смешивания эффектов, не позволяющего различить главные эффекты и важные взаимодействия.
Тактическое планирование эксперимента
Целью тактического планирования эксперимента является определение необходимого количества прогонов модели в каждом наблюдении.
Так как имитационное моделирование представляет собой статистический эксперимент, то при его проведении необходимо получить достоверный результат с заданной точностью.
В общем случае количество прогонов (объем выборки), необходимое для получения наблюдаемой переменной с заданной точностью, зависит от следующих факторов:
- вида распределения наблюдаемой переменной;
- коррелированности между собой элементов выборки;
- наличия и длительности переходного режима функционирования моделируемой системы.
При отсутствии сведений о перечисленных факторах для повышения точности оценок истинного значения наблюдаемой переменной увеличивается количество прогонов модели (объем выборки) для каждого наблюдения, т.е. для каждого сочетания уровней факторов, выбранного на этапе стратегического планирования эксперимента.
Для проведения дисперсионного и регрессионного анализа GPSS имеет автоматические генераторы экспериментов.
Регрессионный анализ (оптимизирующий эксперимент)
Дисперсионный анализ (отсеивающий эксперимент) показывает силу влияния каждого фактора на наблюдаемую переменную (отклик). Однако оптимизация и количественный прогноз поведения систем часто являются основными задачами моделирования. В GPSS решение таких задач возможно посредством проведения регрессионного анализа (оптимизирующего эксперимента).
Методика поверхности отклика – это набор статистических приемов для эмпирического построения математической модели и ее исследования. Пользователь задает исходные условия, а GPSS автоматически создает план и проводит с поверхностью отклика эксперимент, который отыскивает оптимальное значение.
На третьем этапе моделирования – этапе получения и интерпретации результатов моделирования – ЭВМ используется для проведения рабочих расчетов по составленной и отлаженной программе. Результаты этих расчетов позволяют проанализировать и сформулировать выводы о характеристиках процесса функционирования моделируемой системы S.
Подэтапы третьего этапа моделирования. Прежде чем приступить к последнему, третьему, этапу моделирования системы, необходимо для его успешного проведения иметь чёткий план действий, сводящийся к выполнению следующих основных подэтапов.
3.1. Планирование машинного эксперимента с моделью системы. Планирование машинного эксперимента с указанием комбинаций переменных и параметров позволяет получить максимальный объём необходимой информации об объекте моделирования при минимальных затратах машинных ресурсов.
Реализация подэтапа 3.1 для примера:
Для получения максимального объема необходимой информации об объекте моделирования при минимальных затратах машинных ресурсов проведем полный факторный эксперимент с четырьмя существенными факторами (переменных и параметров).
Согласно выбранным критериям оценки эффективности системы и целевой функции модели выберем следующие существенные факторы:
х1 – допустимая очередь в машинный зал, lзал = 3;
х2 – интервал времени прихода студентов в зал, tпр = 8 мин;
х3 – время работы студентов на ЭВМ1, tЭВМ1 = 17 мин;
х4 – время работы студентов на ЭВМ2, tЭВМ2 = 17 мин.
Зададим уровни вариации для каждого фактора:
Dх1= 1, Dх2= 4, Dх3= 7, Dх2= 10.
Составим матрицу плана полного факторного эксперимента.
| Номер опыта | Фактор х1 | Фактор х2 | Фактор х3 | Фактор х4 |
| 0 (базовый) | 3 | 8 | 17 | 17 |
| 1 | 2 | 4 | 10 | 7 |
| 2 | 2 | 4 | 10 | 27 |
| 3 | 2 | 4 | 24 | 7 |
| 4 | 2 | 4 | 24 | 27 |
| 5 | 2 | 12 | 10 | 7 |
| 6 | 2 | 12 | 10 | 27 |
| 7 | 2 | 12 | 24 | 7 |
| 8 | 2 | 12 | 24 | 27 |
| 9 | 4 | 4 | 10 | 7 |
| 10 | 4 | 4 | 10 | 27 |
| 11 | 4 | 4 | 24 | 7 |
| 12 | 4 | 4 | 24 | 27 |
| 13 | 4 | 12 | 10 | 7 |
| 14 | 4 | 12 | 10 | 27 |
| 15 | 4 | 12 | 24 | 7 |
| 16 | 4 | 12 | 24 | 27 |
3.2. Определение требований к вычислительным средствам. Необходимо сформулировать требования по времени использования вычислительных средств, т.е. составить график работы на одной или нескольких ЭВМ, а также указать те внешние устройства ЭВМ, которые потребуются при моделировании.
Реализация подэтапа 3.2 для примера:
Для проведения эксперимента потребуется только один персональный компьютер без внешних устройств. Время выполнения эксперимента ограничено лишь временем доступа к персональному компьютеру.
3.3. Проведение рабочих расчётов. Рабочие расчёты на ЭВМ включают в себя: а) подготовку наборов исходных данных для ввода в ЭВМ; б) проверку исходных данных, подготовленных для ввода; в) проведение расчётов на ЭВМ; г) получение выходных данных, т.е. результатов моделирования.
Реализация подэтапа 3.3 для примера:
Набор исходных данных для ввода в ЭВМ представлен в виде матрицы плана, с помощью которой в достаточном объеме исследуется факторное пространство. Получение выходных данных зависит от интерпретатора языка GPSS. Дополнительные расчеты не требуются.
3.4. Анализ результатов моделирования системы. Планирование машинного эксперимента с моделью ММ позволяет вывести необходимое количество выходных данных и определить метод их анализа. Вычисление статистических характеристик перед выводом результатов на ЭВМ повышает эффективность применения машины и сводит к минимуму обработку выходной информации после её вывода на ЭВМ.
Реализация подэтапа 3.4 для примера:
Планирование полного факторного эксперимента с моделью позволяет вывести необходимое количество выходных данных, при этом каждый опыт соответствует одному из возможных состояний исследуемой системы. Статистические характеристики модели вычисляются в интерпретаторе языка GPSS автоматически. Проведение регрессионного, корреляционного и дисперсионного анализа не требуется.
3.5. Представление результатов моделирования. Форма представления окончательных результатов моделирования может быть в виде таблиц, графиков, диаграмм, схем и т.п. Наиболее простой формой считаются таблицы, хотя графики более наглядно иллюстрируют результаты моделирования системы S.
Реализация подэтапа 3.5 для примера:
Результаты моделирования представлены в табл. 1, 2, 3. Относительное время – 360, абсолютное время – 360 единиц времени (мин). Выходная переменная e111 соответствует количеству заявок, которые может обслужить прибор evm1 (ЭВМ 1). Выходная переменная u111 соответствует количеству вновь пришедших заявок, которые может обслужить прибор upd (УПД). Выходная переменная zal1 соответствует количеству заявок, которые может повторно обслужить прибор upd. Выходная переменная e222 соответствует количеству заявок, которые может обслужить прибор evm2 (ЭВМ 2). Выходная переменная otk соответствует количеству заявок, которым было отказано в обслуживании в устройстве zal.
Таблица 1
Результаты работы устройств evm1, upd, evm2
| Номер | Уст-рой-ство | Cред-няя загруз-ка | Число входов | Среднее время транз-акции | Значение переменной | ||||
| e111 | u111 | zal1 | e222 | otk | |||||
| 1 | 2 | 3 | 4 | 5 | 6 | 7 | 8 | 9 | 10 |
| 0 | evm1 | 0,40 | 9 | 15,80 | 9 | 10 | 7 | 21 | 21 |
| upd | 0,37 | 17 | 7,76 | ||||||
| evm2 | 0,93 | 20 | 16,80 | ||||||
| 1 | evm1 | 0,46 | 17 | 9,83 | 17 | 15 | 9 | 30 | 45 |
| upd | 0,52 | 24 | 7,81 | ||||||
| evm2 | 0,59 | 30 | 7,03 | ||||||
| 2 | evm1 | 0,52 | 19 | 9,76 | 19 | 5 | 5 | 13 | 64 |
| upd | 0,22 | 10 | 7,93 | ||||||
| evm2 | 0,86 | 12 | 25,79 | ||||||
| 3 | evm1 | 0,78 | 12 | 23,53 | 12 | 9 | 10 | 27 | 57 |
| upd | 0,43 | 19 | 8,11 | ||||||
| evm2 | 0,50 | 27 | 6,71 | ||||||
| 4 | evm1 | 0,60 | 9 | 24,11 | 9 | 6 | 2 | 12 | 69 |
| upd | 0,18 | 8 | 8,17 | ||||||
| evm2 | 0,87 | 12 | 25,96 | ||||||
| 5 | evm1 | 0,34 | 12 | 10,24 | 12 | 12 | 5 | 18 | 4 |
| upd | 0,39 | 17 | 8,18 | ||||||
| evm2 | 0,34 | 18 | 6,79 | ||||||
| 6 | evm1 | 0,36 | 13 | 9,97 | 13 | 6 | 5 | 11 | 10 |
| upd | 0,24 | 11 | 7,84 | ||||||
| evm2 | 0,75 | 10 | 26,82 |
Продолжение табл. 1
| 1 | 2 | 3 | 4 | 5 | 6 | 7 | 8 | 9 | 10 |
| 7 | evm1 | 0,55 | 9 | 22,08 | 9 | 8 | 6 | 22 | 4 |
| upd | 0,31 | 14 | 8,07 | ||||||
| evm2 | 0,43 | 22 | 7,07 | ||||||
| 8 | evm1 | 0,48 | 8 | 21,82 | 8 | 7 | 3 | 10 | 14 |
| upd | 0,23 | 10 | 8,13 | ||||||
| evm2 | 0,74 | 10 | 26,78 | ||||||
| 9 | evm1 | 0,55 | 21 | 9,42 | 21 | 24 | 11 | 52 | 26 |
| upd | 0,74 | 35 | 7,60 | ||||||
| evm2 | 0,97 | 51 | 6,87 | ||||||
| 10 | evm1 | 0,29 | 10 | 10,42 | 10 | 5 | 7 | 16 | 76 |
| upd | 0,26 | 12 | 7,93 | ||||||
| evm2 | 0,97 | 13 | 26,81 | ||||||
| 11 | evm1 | 0,77 | 12 | 23,01 | 12 | 22 | 11 | 52 | 34 |
| upd | 0,74 | 33 | 8,06 | ||||||
| evm2 | 0,95 | 51 | 6,70 | ||||||
| 12 | evm1 | 0,52 | 8 | 23,58 | 8 | 8 | 5 | 15 | 69 |
| upd | 0,29 | 13 | 7,92 | ||||||
| evm2 | 0,96 | 13 | 26,66 | ||||||
| 13 | evm1 | 0,45 | 16 | 10,17 | 16 | 11 | 8 | 18 | 0 |
| upd | 0,39 | 18 | 7,77 | ||||||
| evm2 | 0,35 | 18 | 7,02 | ||||||
| 14 | evm1 | 0,62 | 22 | 10,11 | 22 | 4 | 5 | 12 | 0 |
| upd | 0,20 | 9 | 7,96 | ||||||
| evm2 | 0,83 | 11 | 27,11 | ||||||
| 15 | evm1 | 0,73 | 11 | 23,73 | 11 | 8 | 7 | 25 | 0 |
| upd | 0,33 | 15 | 7,88 | ||||||
| evm2 | 0,47 | 24 | 7,02 |
Окончание табл. 1
| 1 | 2 | 3 | 4 | 5 | 6 | 7 | 8 | 9 | 10 |
| 16 | evm1 | 0,59 | 9 | 23,56 | 9 | 8 | 3 | 15 | 8 |
| upd | 0,25 | 11 | 8,03 | ||||||
| evm2 | 0,93 | 13 | 25,78 |
Таблица 2
Результаты работы накопителя zal
| Но-мер | Накопи-тель | Ем-кость | Среднее значение | Средняя загрузка | Число входов | Среднее время транзак-ции | Текущее значение | Макси-мальное значение |
| 1 | 2 | 3 | 4 | 5 | 6 | 7 | 8 | 9 |
| 0 | zal | 3 | 2,56 | 0,85 | 23 | 40,14 | 3 | 3 |
| 1 | zal | 2 | 1,64 | 0,82 | 39 | 15,11 | 1 | 2 |
| 2 | zal | 2 | 1,79 | 0,89 | 27 | 23,83 | 2 | 2 |
| 3 | zal | 2 | 1,75 | 0,88 | 29 | 21,78 | 2 | 2 |
| 4 | zal | 2 | 1,87 | 0,93 | 19 | 35,36 | 2 | 2 |
| 5 | zal | 2 | 1,12 | 0,56 | 25 | 16,15 | 1 | 2 |
| 6 | zal | 2 | 1,48 | 0,74 | 19 | 28,12 | 2 | 2 |
| 7 | zal | 2 | 1,33 | 0,66 | 25 | 19,13 | 1 | 2 |
| 8 | zal | 2 | 1,64 | 0,82 | 15 | 39,30 | 1 | 2 |
| 9 | zal | 4 | 3,34 | 0,84 | 63 | 19,11 | 4 | 4 |
| 10 | zal | 4 | 3,78 | 0,94 | 19 | 71,62 | 4 | 4 |
| 11 | zal | 4 | 3,50 | 0,88 | 53 | 23,78 | 3 | 4 |
| 12 | zal | 4 | 3,79 | 0,95 | 18 | 75,74 | 3 | 4 |
| 13 | zal | 4 | 1,26 | 0,32 | 28 | 16,20 | 1 | 3 |
| 14 | zal | 4 | 2,16 | 0,54 | 29 | 26,79 | 3 | 4 |
| 15 | zal | 4 | 1,61 | 0,40 | 29 | 19,97 | 3 | 4 |
| 16 | zal | 4 | 3,31 | 0,83 | 21 | 56,80 | 4 | 4 |
Таблица 3
Результаты работы очередей evm11, upd11, evm22
| Номер | Очередь | Максимальное значение | Cреднее значение | Всего входов | Ноль входов | Процент нолей | Cреднее время транзакции | Cреднее время транзакции, кроме нулевых входов | Текущее значение |
| 1 | 2 | 3 | 4 | 5 | 6 | 7 | 8 | 9 | 10 |
| 0 | evm11 | 1 | 0,00 | 9 | 9 | 100,00 | 0,00 | 0,00 | 0 |
| upd11 | 1 | 0,02 | 17 | 15 | 88,24 | 0,42 | 3,58 | 0 | |
| evm22 | 2 | 0,85 | 21 | 3 | 14,29 | 14,56 | 16,98 | 1 | |
| 1 | evm11 | 1 | 0,00 | 17 | 17 | 100,00 | 0,00 | 0,00 | 0 |
| upd11 | 1 | 0,06 | 24 | 15 | 62,67 | 0,95 | 2,53 | 0 | |
| evm22 | 1 | 0,00 | 30 | 29 | 96,67 | 0,05 | 1,39 | 0 | |
| 2 | evm11 | 1 | 0,00 | 19 | 19 | 100,00 | 0,00 | 0,00 | 0 |
| upd11 | 1 | 0,00 | 10 | 10 | 100,00 | 0,00 | 0,00 | 0 | |
| evm22 | 1 | 0,19 | 13 | 8 | 61,54 | 5,31 | 13,81 | 1 | |
| 3 | evm11 | 1 | 0,00 | 12 | 12 | 100,00 | 0,00 | 0,00 | 0 |
| upd11 | 1 | 0,04 | 19 | 16 | 84,21 | 0,74 | 4,66 | 0 | |
| evm22 | 1 | 0,00 | 27 | 27 | 100,00 | 0,00 | 0,00 | 0 | |
| 4 | evm11 | 1 | 0,00 | 9 | 9 | 100,00 | 0,00 | 0,00 | 0 |
| upd11 | 1 | 0,02 | 8 | 6 | 75,00 | 1,10 | 4,41 | 0 | |
| evm22 | 1 | 0,19 | 12 | 8 | 66,67 | 5,76 | 17,27 | 0 | |
| 5 | evm11 | 1 | 0,00 | 12 | 12 | 100,00 | 0,00 | 0,00 | 0 |
| upd11 | 1 | 0,05 | 17 | 12 | 70,59 | 1,12 | 3,80 | 0 | |
| evm22 | 1 | 0,00 | 18 | 17 | 94,44 | 0,02 | 0,44 | 0 | |
| 6 | evm11 | 1 | 0,00 | 13 | 13 | 100,00 | 0,00 | 0,00 | 0 |
| upd11 | 1 | 0,00 | 11 | 11 | 100,00 | 0,00 | 0,00 | 0 | |
| evm22 | 1 | 0,14 | 11 | 5 | 45,45 | 4,57 | 8,38 | 1 |
Продолжение табл. 3
| 1 | 2 | 3 | 4 | 5 | 6 | 7 | 8 | 9 | 10 |
| 7 | evm11 | 1 | 0,00 | 9 | 9 | 100,00 | 0,00 | 0,00 | 0 |
| upd11 | 1 | 0,03 | 14 | 11 | 78,57 | 0,78 | 3,65 | 0 | |
| evm22 | 1 | 0,00 | 22 | 22 | 100,00 | 0,00 | 0,00 | 0 | |
| 8 | evm11 | 1 | 0,00 | 8 | 8 | 100,00 | 0,00 | 0,00 | 0 |
| upd11 | 1 | 0,00 | 10 | 10 | 100,00 | 0,00 | 0,00 | 0 | |
| evm22 | 1 | 0,18 | 10 | 4 | 40,00 | 6,58 | 10,97 | 0 | |
| 9 | evm11 | 1 | 0,00 | 21 | 21 | 100,00 | 0,00 | 0,00 | 0 |
| upd11 | 2 | 0,24 | 35 | 14 | 40,00 | 2,48 | 4,13 | 0 | |
| evm22 | 2 | 0,84 | 52 | 2 | 3,85 | 5,82 | 6,05 | 1 | |
| 10 | evm11 | 1 | 0,00 | 10 | 10 | 100,00 | 0,00 | 0,00 | 0 |
| upd11 | 1 | 0,00 | 12 | 12 | 100,00 | 0,00 | 0,00 | 0 | |
| evm22 | 3 | 2,26 | 16 | 1 | 6,25 | 50,81 | 54,20 | 3 | |
| 11 | evm11 | 1 | 0,00 | 12 | 12 | 100,00 | 0,00 | 0,00 | 0 |
| upd11 | 2 | 0,35 | 33 | 12 | 36,36 | 3,78 | 5,94 | 0 | |
| evm22 | 2 | 0,70 | 25 | 8 | 15,38 | 4,85 | 5,73 | 1 | |
| 12 | evm11 | 1 | 0,00 | 8 | 8 | 100,00 | 0,00 | 0,00 | 0 |
| upd11 | 1 | 0,02 | 13 | 10 | 76,92 | 0,65 | 2,80 | 0 | |
| evm22 | 3 | 1,99 | 15 | 1 | 6,67 | 47,78 | 51,19 | 2 | |
| 13 | evm11 | 1 | 0,00 | 16 | 16 | 100,00 | 0,00 | 0,00 | 0 |
| upd11 | 1 | 0,06 | 18 | 11 | 61,11 | 1,19 | 3,05 | 0 | |
| evm22 | 1 | 0,00 | 18 | 16 | 88,89 | 0,19 | 1,71 | 0 | |
| 14 | evm11 | 1 | 0,00 | 22 | 22 | 100,00 | 0,00 | 0,00 | 0 |
| upd11 | 1 | 0,00 | 9 | 9 | 100,00 | 0,00 | 0,00 | 0 | |
| evm22 | 2 | 0,51 | 12 | 3 | 25,00 | 15,39 | 20,53 | 1 | |
| 15 | evm11 | 1 | 0,00 | 11 | 11 | 100,00 | 0,00 | 0,00 | 0 |
| upd11 | 1 | 0,03 | 15 | 12 | 80,00 | 0,84 | 4,18 | 0 | |
| evm22 | 2 | 0,05 | 25 | 19 | 76,00 | 0,76 | 3,17 | 1 |
Окончание табл. 3
| 1 | 2 | 3 | 4 | 5 | 6 | 7 | 8 | 9 | 10 |
| 16 | evm11 | 1 | 0,00 | 9 | 9 | 100,00 | 0,00 | 0,00 | 0 |
| upd11 | 1 | 0,0 | 11 | 10 | 90,91 | 0,46 | 5,05 | 0 | |
| evm22 | 3 | 1,53 | 15 | 1 | 6,67 | 36,82 | 39,45 | 2 |
3.6. Интерпретация результатов моделирования. Интерпретация результатов – переход от информации, полученной в результате машинного эксперимента с моделью ММ, к информации применительно к объекту моделирования, на основании которой будут делаться выводы относительно характеристик процесса функционирования исследуемой системы S.
Реализация подэтапа 3.6 для примера:
Полученные результаты можно интерпретировать следующим образом.
Согласно целевой функции оптимальными вариантами модели являются опыты № 13, 14, 15, т.к. количество отказов равно 0, ЭВМ1, УПД и ЭВМ2 загружены равномерно (0,45; 0,39; 0,35 % соответственно), обработано максимальное количество заявок. Это объясняется тем, что студенты приходят в машинный зал (фактор х2) реже – с интервалом 12±2 мин; допустимая очередь в машинный зал (фактор х1) увеличена и составляет пять человек, включая работающего на УПД; работа на ЭВМ1 (фактор х3) уменьшена и занимает 10 ± 1 мин (для опытов № 13, 14) и 24 ± 1 мин (для опыта № 15); работа на ЭВМ2 (фактор х4) занимает 7 ± 1 мин (опыты № 13, 15) и 27±1 мин (опыт № 14). Самым лучшим опытом является опыт №13: ни одной заявки в очереди к ЭВМ1, УПД и ЭВМ2 не осталось, поскольку время работы на ЭВМ1 и ЭВМ2 меньше, чем время прихода студентов в машинный зал, и все студенты, в т.ч. и повторно желающие поработать на УПД и ЭВМ, успевают обслужиться за общее время моделирования.
Наихудшими вариантами модели являются опыты № 4, 10, 12, т.к. количество отказов максимально (69, 76, 69 соответственно), ЭВМ1, УПД и ЭВМ2 загружены неравномерно (опыт № 4 – 0,60; 0,18; 0,87% соответственно, опыт № 10 – 0,29; 0,26; 0,97 % соответственно, опыт № 12 – 0,52; 0,29; 0,96% соответственно), обработано минимальное количество заявок (21, 26, 23 соответственно). Это объясняется тем, что студенты приходят в машинный зал (фактор х2) часто с интервалом 4±2 мин, допустимая очередь в машинный зал (фактор х1) составляет 3 (для опыта № 4) и 5 (для опытов № 10, 12) человек, включая работающего на УПД, работа на ЭВМ1 (фактор х3) занимает 24±1 мин (для опытов № 4, 12) и 10±1 мин (для опыта № 10), работа на ЭВМ2 (фактор х4) увеличена и занимает 27 ± 1 мин. Самым худшим опытом является опыт №10: количество отказов максимально – 76, в очереди к ЭВМ2 осталось 3 заявки, поскольку время работы на ЭВМ1 и ЭВМ2 больше. При этом загрузка ЭВМ2 значительно больше загрузки ЭВМ1, т.к. в данной модели все студенты, повторно желающие поработать на УПД, обязательно идут на ЭВМ2. Поэтому лучше было реализовать модель, в которой студенты после работы на УПД занимали бы свободную ЭВМ.
3.7. Подведение итогов моделирования и выдача рекомендаций. При подведении итогов моделирования должны быть отмечены главные особенности результатов, полученных в соответствии с планом эксперимента над моделью ММ, проведена проверка гипотез и предложений и сделаны выводы на основании этих результатов, сформулированы рекомендации по практическому использованию результатов моделирования.
Реализация подэтапа 3.7 для примера:
Люди также интересуются этой лекцией: Лекция 14 - Организационные мероприятия по обеспечению безопасности.
Результаты моделирования при проведении машинного эксперимента подтвердили следующие гипотезы для базовой точки эксперимента:
· загрузка УПД будет меньше загрузки ЭВМ;
· вероятность отказа в обслуживании вследствие переполнения очереди к УПД или ЭВМ больше 0,6 %, т.к. 30 заявок обслужено, 21 – получила отказ в обслуживании;
· соотношение желающих работать на ЭВМ и УПД в очереди составило практически 2:1 (29 заявок обработано на ЭВМ и 17 на УПД).
3.8. Составление технической документации по третьему этапу. Эта документация должна включать в себя: а) план проведения машинного эксперимента; б) наборы исходных данных для моделирования; в) результаты моделирования системы; г) анализ и оценку результатов моделирования; д) выводы по полученным результатам моделирования; е) указания путей дальнейшего совершенствования машинной модели и возможных областей ее приложения.
Таким образом, процесс моделирования системы S сводится к выполнению перечисленных этапов моделирования. На этапе построения концептуальной модели МК проводится исследование моделируемого объекта, определяются необходимые аппроксимации и строится обобщенная схема модели, которая преобразуется в машинную модель ММ на втором этапе моделирования путем последовательного построения логической схемы модели и схемы программы. На последнем этапе моделирования проводят рабочие расчеты на ЭВМ, получают и интерпретируют результаты моделирования системы S.





















