Регуляторы давления
Регуляторы давления.
Предназначены для снижения давления газа и поддержания его на заданном уровне независимо от расхода газа.
Регулятор РДУК-2 комплектуется двумя пилотами КН-2 и КВ-2. Пилот КН-2 обеспечивает выход давления после регулятора в пределах 0,005…0,6 кгс/см2 (или 50..6000 мм вд.ст.). Пилот КВ-2 от 0,6 до 6 кгс/см2 .
Устройство регулятора. Регулятор состоит из следующих основных узлов:
1. Регулятор управления (пилот).
2. Исполнительный узел.
3. Импульсные трубки.
4. Дроссельное устройство.

Рекомендуемые материалы
Регулятор РДУК-2
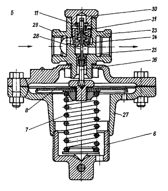
Исполнительный узел состоит из корпуса и мембранной камеры, прикрепленной к нижней его части. Мембранная камера образована двумя чугунными тарелками, между которыми зажата мембрана. Мембрана через составной шток, состоящий из двух частей, соединяется с клапаном в корпусе исполнительного узла. У клапана имеется направляющая, предназначенная для правильной посадки клапана на седло. В надклапанном пространстве корпуса исполнительного узла имеется ограничитель подъема клапана, фильтрующая сетка, предназначенная для очистки газа от механических примесей.
В верхней части корпуса имеется крышка на болтах. Крышка предназначена для осмотра и ремонта деталей корпуса. Корпус фланцевый. На корпусе – маркировка, стрелка, Ду, Ру.
Пилот – регулятор управления. Крепится к надклапанному пространству корпуса исполнительного узла. Давление газа в надклапанном пространстве корпуса равно входному давлению ГРП (6…12 кгс/см2). На корпусе крестовины пилота имеется стрелка, указывающая направление потока газа. На входе газа в крестовину пилота имеется полусферическая фильтрующая сетка. Пилот состоит из корпуса (вкрхняя часть) и крышки (нижняя часть). В крышке имеется резьбовой регулировочный стакан, а также дыхательное отверстие для сообщения подмембранного пространства с атмосферой. К верхней части корпуса крепится крестовина. Между корпусом и крышкой зажата мембрана. Мембрана через составной шток, состоящий из двух частей, соединена с золотником в крестовине (золотник – это маленький клапан). Сверху на золотник воздействует сила пружины. В верхней части крестовины имеется пробка, предназначенная для осмотра и ремонта золотника, штока золотника, седла крестовины.

Пилот – регулятор управления
В подмембранной полости (под крышкой пилота) имеется пружина, предназначенная для настройки регулятора на заданное давление. Усилие пружины регулируется резьбовым регулировочным стаканом. Между мембраной пилота и корпусом в верхней части образована мембранная камера, которая через импульсную трубку сообщается с выходным сниженным давлением газа после регулятора.

Мембранный привод командного узла.
Надмембранная полость мембранной камеры исполнительного узла через импульсную трубку сообщается с выходным сниженным давлением газа после регулятора.
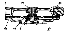
Давление газа, вышедшее из крестовины пилота по импульсной трубке подается в подмембранную полость мембранной камеры через дроссель в подмембранную полость мембранной камеры исполнительного узла. Из подмембранной камеры исполнительного узла имеется сбросная трубка, врезанная в выходной газопровод после регулятора, предназначенная для сброса того газа, который не пропустил дроссель в подмембранную полость мембранной камеры. При подключении сбросной трубки к телу трубы имеется дроссель. Этот дроссель может быть конструктивно смонтирован при подключении сбросной трубки к нижней чугунной тарелке мембранной камеры. Дроссели бывают нерегулируемые, которые конструктивно выполняются в виде шайбы; дроссели регулируемые (отверстия которых можно регулировать) выполняются в виде клапана, иглы.
Пуск регулятора в работу.
Перед любым пуском регулятора в работу необходимо привести его в закрытое положение, т.е. вывернуть (ослабить) пружину пилота, резьбовой стакан при этом держится на одной нитке резьбы. При этом золотник в крестовине, прижатый сверху пружиной, сидит на седле. Прохода газа через крестовину по импульсной трубке в подмембранную полость мембранной камеры исполнительного узла – нет.
Клапан в корпусе исполнительного узла входным давлением газа прижат к седлу, т.е. регулятор – закрыт. Начинаем вкручивать резьбовой стакан пилота, сжимая пружину. Пружина давит на мембрану пилота, которая прогибается вверх через составной шток, приподнимая золотник над седлом крестовины, обеспечивая проход газа через крестовину по импульсной трубке в подмембранную полость мембранной камеры исполнительного узла. Мембрана мембранной камеры при этом под действием давления газа, прогнется вверх через составной шток, приподнимет клапан над седлом корпуса исполнительного узла и обеспечит проход газа потребителю.
Давление газа, поступившее в выходной ГП по импульсным трубкам сразу поступит в надмембранную полость пилота и уравновесит ее мембрану, и по импульсной трубке давление газа поступит в надмембранную полость мембранной камеры исполнительного узла и тоже уравновесит мембрану.
При вворачивании резьбового стакана необходимо смотреть на манометр, установленный на выходе после регулятора для настройки заданного, нужного давления.
Регулятор работает в автоматическом режиме (при нормальной работе). При повышении давления газа за регулятором, это повышенное давление пойдет одновременно по двум направлениям:
1. По импульсной трубке в надмембранную полость мембранной камеры исполнительного узла.
2. В пилот в надмембранную полость газ поступит по импульсным трубкам.
Под действием повышенного давления газа, поступившего в надмембранную полость пилота, мембрана прогнется вниз, через шток, золотник приблизится к седлу крестовины, уменьшив проход и давление газа, которое по импульсной трубке поступит в подмембранную полость мембранной камеры исполнительного узла (уменьшенное давление). Мембрана мембранной камеры исполнительного узла под действием повышенного давления над ней и пониженного (пилотом) давления под ней – пргнется вниз и через шток приблизит клапан к седлу корпуса, уменьшив проход и давление газа потребителю до заданного изначально значения.
При уменьшении давления газа за регулятором вследствие увеличения расхода газа, это пониженное давление одновременно пойдет по импульсным трубкам по двум направлениям (выровняется по принципу сообщающихся сосудов):
1. По импульсной трубке в надмембранную полость мембранной камеры исполнительного узла.
2. По импульсной трубке в пилот.
Мембрана пилота под действием пониженного давления над ней и силы пружины под ней прогнется вверх, через шток приподнимет золотник над седлом крестовины, увеличив проход и давление газа, которое по импульсной трубке поступит в подмембранную полость мембранной камеры исполнительного узла. При этом мембрана мембранной камеры под действием повышенного давления газа пилота под ней прогнется вверх, через шток приподнимет клапан над седлом корпуса, увеличив проход и давление газа потребителю до значения, заданного пружиной пилота.
Неисправности регуляторов:
1. Засорился дроссель или импульсная трубка подачи газа в подмембранную полость мембранной камеры исполнительного узла. При этом может быть колебательный процесс (стрелка манометра на выходе раскачивается или давление будет падать).
2. Забита сбросная импульсная трубка или ее дроссель. Будет колебательный процесс или будет расти давление на выходе.
3. Забит грязью золотник и шток золотника пилота, регулятор не реагирует на усилие сжимаемой пружины. Прочистить.
4. Порвана мембрана пилота. При этом произойдет загазование помещения ГРП. В зависимости от размеров порыва мембраны может быть колебательный процесс или увеличение давления потребителю выше заданного изначально.
5. Порвана мембрана мембранной камеры исполнительного узла. Возможен колебательный процесс в работе регулятора вследствие периодического уменьшения давления газа на выходе. При значительном порыве давление над и под мембраной выровняется и клапан сядет на седло корпуса, перекрыв проход газа.
6. Негерметичная втулка с отверстием для штока в крестовине пилота. Приэтом газ из-под золотника будет перетекать через эту негерметичную втулку в мембранную камеру пилота.
7. Негерметичность клапана в корпусе исполнительного узла в закрытом положении.
Работа регулятора «на тупик».
При проверке регулятора «на тупик» необходимо закрыть задвижку после регулятора. Можно закрыть задвижку за пределами ГРП, т.е. исключить расход газа через регулятор. При этом регулятору разрешается поднять давление после себя не более, чем на 10% от рабочего, т.е. заданного пружиной пилота.
При этом повышенном давлении регулятор сам себя закрывает. При увеличении давления за регулятором более, чем на 10% от рабочего, регулятор считается неисправным и подлежит ремонту. Причина негерметичности прилегания клапана к седлу: попал песок, могут быть царапины на седле, прохудилось уплотнение клапана или негерметичное прилегание золотника к седлу крестовины в пилоте.
Могут быть утечки газа через резьбовые фланцевые соединения, под пробку в крестовине, в импульсных трубках.
Регулятор давления блочный
конструкции Казанцева
РДБК-1.
Это модифицированный РДУК-2.

Схема работы регулятора давления РДБК-1
Регулятор давления РДБК-1 отличичается от регулятора РДУК-2 следующим:
1. Имеет стабилизатор.
2. Осуществляется связь подмембранной полости мембранной камеры исполнительного узла через импульсную трубку с подмембранной полостью стабилизатора.
3. В верхнюю чугунную тарелку мембранной камеры вмонтирована импульсная колонка.
4. В выходной газопровод после регулятора врезана всего одна импульсная трубка Æ32 мм.
Все остальное – тоже самое.
Стабилизатор устанавливается между пилотом – регулятором управления и исполнительным узлом. Подача газа в стабилизатор осуществляется из надклапанного пространства корпуса исполнительного узла через импульсную трубку. Стабилизатор предназначен для обеспечения постоянного перепада давления до и после пилота.
"11 - Водные свойства горных пород" - тут тоже много полезного для Вас.
Чем больше диаметр регулятора, тем больше диаметр дросселей. Стабилизатор всегда открыт. Давление газа после стабилизатора снижается на 0,3…0,5 кгс/см2.
В стабилизаторе на золотник действует пружина. Золотник через шток связан с мембраной. Подзолотниковое пространство через импульсную трубку сообщается с пилотом, т.е. давление газа попадает на вход в крестовину пилота.

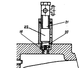
Дроссель с импульсной колонкой
В РДБК-1 имеется три дросселя. Первый дроссель (19) установлен при подаче газа из пилота в подмембранную полость мембранной камеры исполнительного узла. Второй дроссель (18) установлен между импульсной колонкой (22) и верхней чугунной тарелкой мембранной камеры исполнительного узла. Третий дроссель (17) установлен на сбросной трубке.























