Сглаживающие фильтры
5. Сглаживающие фильтры
5.1. Общие положения
Пульсации выходного напряжения ухудшают или делают вообще невозможной работу радиоэлектронных устройств. Значения допустимых коэффициентов пульсации для различных потребителей приводятся в приложении.
Коэффициент пульсации выпрямленного напряжения Кп01 равен Kп01=U01т/U0, или Kп01% =(U01т/U0 )·100.
Поскольку в приводимых ниже соотношениях учитывается коэффициент пульсации только по 1-й гармонике выпрямленного напряжения, т.е. Kп01, далее в целях упрощения он обозначается Кп .
Малым коэффициентом пульсации считают Кп<0,1%, средним - от 0,1 до 1% и большим Кп>1%. Коэффициенты пульсации на выходе известных схем выпрямления находятся в пределах от 157 % (однополупериодная однофазная схема) до 5,7 % (трехфазная мостовая схема), при этом они, как правило, намного больше Кп.н (допустимых значений коэффициентов пульсации). Чтобы уменьшить Кп до допустимого значения, в выпрямительных устройствах применяется сглаживающий фильтр, причем способность фильтра снижать пульсации выпрямленного напряжения определяется коэффициентом сглаживания, обозначаемым q.
В общем случае
Рекомендуемые материалы
q=Кп.вх /Кп.вых (5.1)
где Кп.вх и Кп.вых— коэффициенты пульсации напряжения на входе и выходе фильтра.
Кроме основного требования - сглаживания пульсации выпрямленного напряжения - к фильтру предъявляются следующие требования:
1) Потери мощности и падение постоянной составляющей напряжения в фильтре должны быть минимальными, т.е. он должен обладать наибольшим КПД при минимальных габаритных размерах, массе и стоимости.
2) Фильтр не должен влиять на работу потребителя.
3) Внешние электромагнитные поля, создаваемые фильтром, не должны нарушать функционирование радиоустройства.
4) Во время переходных процессов фильтр не должен создавать перенапряжений и сверхтоков, значения которых превышают пределы, допустимые для элементов электропитания и потребителя.
5) Собственная частота фильтра должна быть существенно меньше основной частоты пульсации во избежание появления резонансных явлений в отдельных звеньях фильтра, поскольку они приводят к резкому возрастанию пульсации выпрямленного напряжения.
6) Фильтр должен обладать высокой надежностью в пределах заданного диапазона температур.
Сглаживающие фильтры различают по элементам, из которых они состоят, схеме соединения и по количеству этих элементов, которые обычно называются звеньями.
Простые однозвенные фильтры состоят из конденсатора или катушки индуктивности, сложные фильтры представляют собой сочетание индуктивностей, конденсаторов, резисторов. Сложный многозвенный фильтр состоит из нескольких простых фильтров.
Прежде чем перейти к схемам фильтров, необходимо напомнить следующее: включение емкости (конденсатора С) и индуктивности (дросселя L) между схемой выпрямления и потребителем определяет реактивный характер нагрузки выпрямителя. Выше проведен подробный анализ физических процессов, протекающих в выпрямителях, которые работают при реактивном характере нагрузки, т. е. при включении указанных элементов фильтров. Там же приводятся графики напряжений и токов в этих схемах, а также выводы по работе схем выпрямления с емкостью, индуктивностью или смешанной нагрузкой, что особенно важно для понимания взаимовлияния схем выпрямления и сглаживающих фильтров. В настоящей главе приводятся лишь расчетные соотношения для фильтров различных видов.
5.2. Ёмкостной фильтр
Конденсатор С, включенный параллельно нагрузке (рис. 5.1, а), представляет собой простейший емкостной фильтр. При повышении напряжения источника питания конденсатор периодически заряжается и разряжается на нагрузку, когда питающее напряжение становится меньше напряжения на его зажимах. При этом во время разряда конденсатор отдает нагрузке заранее запасенную энергию и напряжение на нагрузке изменяется в относительно меньших пределах, чем при отсутствии конденсатора, в чем и заключается сглаживающее действие емкостного фильтра.
Конденсатор представляет собой емкостное сопротивление для переменного тока, а в нашем случае - для переменной составляющей выпрямленного тока, т. е.
XC=1/mwCC (5.2)
где т - коэффициент, зависящий от схемы выпрямления, равный m=f01/fC,
fC – частота питающей сети; ωс - круговая частота, ωс=2πfC.
Шунтирующее действие конденсатора, включенного параллельно нагрузке, обеспечивает сглаживание пульсации при выполнении условия
XC<<RH (5.3)
или при учете (5.2)
(1/mωсC)<<RH (5.3a)
При соблюдении этого условия большая часть переменной составляющей выпрямленного тока, минуя нагрузку, как бы замкнется через конденсатор.

![]() |
В общем случае можно считать, что конденсатор фильтра заряжается импульсами тока длительностью, меньшей чем T/m, где Т — период изменения напряжения сети. Для упрощения расчета фильтра можно предположить, что ток разряда конденсатора неизменен и равен I0 —среднему значению тока нагрузки. Изменение напряжения на нагрузке ΔU0 можно вычислить как изменение напряжения на конденсаторе ΔUC при его разряде:
(5.4)
Как видно из рис. 5.1, в, изменение напряжения на конденсаторе ΔUc представляет собой удвоенную амплитуду переменной составляющей выпрямленного напряжения. Отсюда следует, что выражение, определяющее коэффициент пульсации, Kп=U01m/U0 с учетом того, что Um=ΔUc/2, может быть записано в виде Kп=(ΔUc/2)/U0.
После подстановки в это выражение ΔUc из (5.4) и RH=U0/I0 получим
Kп=1/2mfcCRH (5.5)
откуда С=1/2mfcRHKп, где С - емкость конденсатора, Ф. Умножая это выражение на 106 и выразив Кп в процентах, получим выражение емкости конденсатора С, мкФ:
(5.6)
Полученные соотношения содержат неточности, обусловленные идеализацией схемы и сделанными выше допущениями; однако, как показывают опытные данные, погрешности расчета не столь велики, причем при коэффициентах пульсации Кп%<2¸4 % данные расчетные соотношения обеспечивают достаточную точность и лишь при больших значениях Кп точность расчета составляет приблизительно ±10%.
Как видно из (5.5), получить небольшие значение коэффициента пульсации на нагрузке Кп при ограниченной емкости конденсатора С можно лишь при большом сопротивлении нагрузки RH, т.е. при небольших выпрямленных токах, вследствие чего емкостный фильтр применяют преимущественно в маломощных выпрямителях.
К достоинствам емкостного фильтра можно отнести простоту его выполнения.
Основной недостаток емкостного фильтра - необходимость применения диодов, рассчитанных на большую амплитуду прямого тока Iпр.и.п.
5.3. Индуктивный фильтр
Индуктивный фильтр представляет собой катушку с ферромагнитным сердечником (дроссель), включаемую последовательно с нагрузкой (рис. 5.2). Переменная составляющая выпрямленного тока создает в магнитопроводе дросселя магнитный поток, индуцирующий в его обмотке противо-ЭДС, которая препятствует изменениям тока в цепи. Уменьшение амплитуды переменной составляющей выпрямленного тока вызывает уменьшение пульсации напряжения на нагрузке. В этом и состоит сглаживающее действие дросселя, включенного последовательно с нагрузкой.
![]() |
Известно, что с увеличением qL=mwCL/RH увеличивается интервал включенного состояния вентилей, и уменьшаются пульсации выпрямленного напряжения. В этой формуле числитель mwCL является индуктивным сопротивлением дросселя ХL , т.е.
ХL=mwCL (5.7)
Таким образом, для уменьшения пульсации выпрямленного напряжения необходимо, чтобы индуктивное сопротивление дросселя ХL было значительно больше сопротивления нагрузки rh , т.е.
ХL >>RH , или mwCL>>RH (5.8)
При соблюдении условия (5.8) на зажимах дросселя L выделяется значительная часть переменной составляющей выпрямленного напряжения, а поскольку обычно активное сопротивление дросселя rL мало и активным падением напряжения на дросселе можно пренебречь, то практически вся постоянная составляющая выпрямленного напряжения выделяется на сопротивлении нагрузки RН. Для вывода расчетной формулы коэффициента сглаживания данного фильтра q=Kп.вх/Kп.вых необходимо сопоставить коэффициенты пульсации на входе Kп.вх и на выходе Kп.вых фильтра.
Коэффициент пульсации на входе фильтра:
Kп.вх = U01m/U0 (5.9)
Коэффициент пульсации на выходе фильтра:
Kп.вых =U’01m/U’0 (5.10)
В (5.9), (5.10) и нижеследующих выражениях U01m и U’01m — амплитудные значения напряжения 1-й гармоники, содержащейся в выпрямленном напряжении, на входе и на выходе фильтра соответственно; U0 и U’0 — средние значения выпрямленного напряжения на входе и выходе фильтра. Напряжения на выходе фильтра U’01m и U’0 определяются соотношением U’01m = I’01mRH, где
(5.11)
U’0 = I’0RH, где
.
В приведенных соотношениях I’01m и I’0 - значения выпрямленного тока на выходе фильтра (в нагрузке), а именно амплитудное значение тока основной гармоники и среднее значение выпрямленного тока соответственно.
После подстановки в (5.10) полученных значений напряжения и тока, а также учитывая (5.9), находим следующие выражения:
Кп.вых =
= Кп.вх ·
(5.12)
Подставляя Кп.вх из (5.9) и Кп.вых из (5.11) в (5.1), получим коэффициент сглаживания данного фильтра в следующем виде:
q=Кп.вх/Кп.вы =
(5.13)
Поскольку RH >>rL, то q »
/RH или q=
/ RH , откуда
L=
/mwC (5.14)
Так как хорошее сглаживание пульсации определяется значением q >> 1, то в этом случае индуктивность дросселя
L=RHq/mwC (5.15)
Согласно этому выражению коэффициент сглаживания индуктивного фильтра
q=mwCL/RH (5.16)
Из (5.16) видно, что для получения достаточно большого коэффициента сглаживания необходимо увеличивать индуктивность дросселя L и число фаз т. Поэтому индуктивные фильтры целесообразно применять в многофазных выпрямителях большой мощности (большие токи нагрузки при относительно небольшом значении RH).
Достоинства индуктивного фильтра состоят в следующем: простота схемы, небольшие потери мощности, а также незначительная зависимость выходного напряжения от изменения сопротивления нагрузки RH .
Недостатки индуктивного фильтра:
1) перенапряжения, возникающие при отключении нагрузки или внезапном изменении ее величины, связанные с появлением ЭДС самоиндукции дросселя при резком изменении тока нагрузки. С целью устранения этого недостатка в мощных выпрямителях параллельно дросселям включаются разрядники, замыкающие обмотку дросселя, когда напряжение на дросселе превышает определенный уровень;
2) зависимость коэффициента сглаживания q от изменений сопротивления нагрузки RH;
так как при этом меняется индуктивность дросселя L. Это связано с увеличением постоянного подмагничивающего поля дросселя, которое изменяется в соответствии с изменением сопротивления RН, а значит, и тока нагрузки. Для уменьшения подмагничивающего поля дросселя сердечник его выполняется с воздушным зазором.
5.4 Индуктивно-ёмкостные фильтры
Рассмотренные выше простейшие фильтры не могут обеспечивать получения больших коэффициентов сглаживания, поэтому на практике в качестве сглаживающих фильтров используются сочетания индуктивности и емкости, которые при относительной простоте позволяют получить более высокие коэффициенты сглаживания. Наиболее простая схема индуктивно-емкостного Г-образного LC-фильтра показана на рис. 5.3,а. Входным элементом этого фильтра является дроссель, и при соблюдении условия ХL>>RH>>ХC дроссель и конденсатор в данном (совместном) включении используется лучше, чем каждый из них в отдельности. При этом общее сопротивление цепи для переменной составляющей выпрямленного напряжения значительно уменьшается и поэтому увеличивается переменная составляющая выпрямленного тока, протекающего через дроссель, а значит, возрастает и падение напряжения на нем. Это приводит к уменьшению переменной составляющей напряжения на нагрузке (по сравнению с ее значением при раздельном включении конденсатора и дросселя).



Коэффициент сглаживания фильтра в соответствии с (5.1) в данном случае (рис. 5.3,б) и с учетом, что U0 = U0’ (так как rL мало и можно пренебречь падением напряжения на дросселе от постоянной составляющей тока), определяется следующим образом:
(5.17)
где
(5.18)
Z и Z' - модули полных сопротивлений соответственно на входе и выходе фильтра (рис. 5.3, б).
Учитывая, что Z = rL + XL+Z’, где Z’ = RHXC/(RH+X’C) принимая во внимание условие XL>>RH>>XC, можно записать
Z = jXL – jXC и Z’ = -jXC (5.19)
Таким образом, (5.17) можно преобразовать с учетом (5.18) и (5.19) следующим образом:
(5.20)
Подставляя в (5.20) XL = mωcL и XC = 1/mωcC, получим
Q=m2ωc2LC – 1 (5.21)
Так как обычно при расчете коэффициент сглаживания q задан и искомыми величинами являются L и С, то (5.21) целесообразно преобразовать к виду
LC = (q+1)/(mωc)2 (5.22)
Выражая индуктивность дросселя в генри, а емкость конденсатора в микрофарадах, получаем следующие расчетные формулы:
при fC=50 Гц
LC=10(q+1)/m2 (5.23)
при fC =400 Гц
LC=0.16(q+1)/m2 (5.24)
По этим выражениям при известном q задаваясь, например, емкостью фильтра С, можно найти индуктивность L.
В фильтре, состоящем из дросселя и конденсатора, возможны резонансные явления, и для их исключения необходимо, чтобы собственная частота фильтра была ниже частоты пульсации, т.е. желательно выполнить условие
w0<0.5mwC. Так как собственная частота фильтра w0=1/
, условие отсутствия резонанса можно записать в следующем виде:
LC>4/m2
(5.25)
Подставляя LC из (5.22) в (5.25), получаем
q>3 (5.26)
Таким образом, условием отсутствия резонанса в данном фильтре являются такие значения L и C, которые обеспечивают коэффициент сглаживания не менее трех.
Необходимое значение LC при заданных величинах q, m для частоты сети 50 Гц можно определять с помощью графиков (рис. 5.3, в). После определения LC выбор значений L и C рекомендуется производить из соображений экономичности, минимальных габаритных размеров и стоимости.
Рассчитать минимальное значение индуктивности дросселя можно по следующей формуле:
Lmin=2RH/(m2–1)mpfC (5.27)
которая получена из условия индуктивной реакции фильтра mwCL>RH и mwCL>l/mwCC.
5.5. Резистивно – ёмкостные фильтры
Данные фильтры (рис. 5.4) рекомендуется применять в выпрямителях небольшой мощности (до 10 Вт) при сопротивлениях нагрузки, измеряемых десятками килоом; в этом случае достигается экономия массы, уменьшаются габаритные размеры и стоимость фильтра.
Коэффициент сглаживания Г-образного RC-фильтра с учетом равенства I01m = I’01m
(5.28)
Так как Rф≥0,2RН напряжения U0 и U0’ различаются не менее чем на 20 %.
Для получения достаточно большого коэффициента сглаживания должны выполняться условия
RH>>XC (5.29)
и
Rф>>XC (5.30)


С учетом этих условий можно записать

и тогда (5.28) приобретает вид
.
Учитывая, что
, а
получим
(5.31)
Выражая Rф и RН в омах, емкость С в микрофарадах, получим:
для fс = 50 Гц
(5.32)
для fс = 400 Гц
(5.33)
при расчете RC-фильтра задаются требуемым коэффициентом сглаживания, а также одним из параметров: либо сопротивлением резистора Rф=(0,2…1,0)Rн , либо емкостью С, а затем по (5.32) или (5.33) определяют значение неизвестного параметра (соответственно емкости С или сопротивления RН). Существенным недостатком RC- фильтров является уменьшение КПД вследствие потерь напряжения на резисторе ΔUф=I0Rф, что допустимо только для маломощных выпрямителей.
5.6. Фильтры с резонансными контурами
П-образный фильтр с параллельным резонансным контуром СКLК (рис. 5.5, а) включается последовательно с нагрузкой (фильтр-пробка). При настройке контура в резонанс его сопротивление для тока, изменяющегося с частотой пульсации, резко возрастает (до десятков килоом), значительно превышая при этом сопротивление на выходе фильтра Z' - это обеспечивает высокое значение коэффициента сглаживания.

| Рис. 5.5. Фильтры с резонансными контурами: а и б - с параллельным контуром (резонанс токов); в - с последовательным контуром (резонанс напряжений); г - резонансная кривая |
Коэффициент сглаживания Г-образной части фильтра (контур СКLК и С2) в соответствии с (5.17) и с учетом (5.18) определяется следующим образом:
(5.34)
где Zк.рез - резонансное сопротивление параллельного контура, определяемое в соответствии с Zк.рез =LК/CКrL, здесь rL - активное сопротивление контура
(обмоток дросселя); Z' = ХC2 = 1 / m·wC ·C2 .
Подставив в (5.34) приведенные значения Zк.рез и Z' и учитывая, что Zк.рез>>Z', получим в окончательном виде
(5.35)
В данном выражении LК - в генри; rL - в омах; СK и С2 - в микрофарадах.
Расчет данного фильтра сводится к следующему. Вначале задаются емкостью С1 и по (5.5) находят коэффициент пульсации на входе Г-образной части. Затем задаются емкостью СK или индуктивностью LК параллельного контура и из условия резонанса в этом контуре
mwC LК=1/mwC CК (5.36)
находят значение соответственно индуктивности или емкости. Коэффициент сглаживания определяется из (5.35) с учетом задаваемого значения C2 .
Автотрансформаторное включение контура (рис. 5.5, б) позволяет уменьшить емкость СК, а, следовательно, и габаритные размеры конденсатора. При таком включении емкость контура СК, определяется с учетом выражения для эквивалентной емкости.
(5.37)
которая, в свою очередь, определяется из условия резонанса
1/mwC Cк.эк=mwC LК (5.38)
где w1 и w2 - число витков соответственно основной и дополнительной обмоток дросселя. Дополнительная обмотка w2 наматывается проводом существенно меньшего диаметра, так как по ней не протекает ток нагрузки; поэтому габаритные размеры дросселя за счет введения обмотки w2 существенно не увеличиваются.
П-образный фильтр с последовательным резонансным контуром, включенным параллельно нагрузке (режекторный фильтр) (рис. 5.5, в). При резонансе сопротивление контура становится чисто активным, т.е. Zк.рез = rL. Коэффициент сглаживания Г-образной части фильтра (L и CК LК) в соответствии с (5.17), и с учетом (5.18) определяется следующим образом:
q=Z/Z’=
=
(5.39)
Поскольку XL>>Zк.рез, а Zк.рез=rL то согласно (5.39) коэффициент сглаживания Г-образной части
(5.40)
При настройке контура на частоту пульсации, его сопротивление становится весьма небольшим и ток, идущий с частотой пульсаций и значительно ослабленный дросселем L, замыкается в основном по контуру СКLК. Вследствие указанного свойства последовательный контур в П-образном фильтре называется резонансным шунтом, причем наличие его позволяет получить высокие коэффициенты сглаживания фильтра. Как и фильтр-пробка, данный фильтр обеспечивает более высокий коэффициент сглаживания, чем обычный LC-фильтр.
Поскольку ток нагрузки не протекает по дросселю контура, то при изменении нагрузки rh резонанс, в противоположность фильтру-пробке, не нарушается.
Обычно резонансные фильтры применяются для однофазных выпрямителей, когда основная гармоника пульсации преобладает в выпрямленном напряжении, а частота питающей сети стабильна.
5.7. Многозвенные фильтры
При необходимости получения больших коэффициентов сглаживания (более 20) многозвенные фильтры оказываются более экономичными, чем однозвенные. Они состоят из нескольких последовательно соединенных однозвенных, и входным элементом таких фильтров может быть либо дроссель (рис. 5.6, а), либо конденсатор (рис. 5.6,б).
Коэффициент сглаживания всего фильтра по определению (5.1)
, (5.41)
где КП — коэффициент пульсации на схемы выпрямления; КП.Н - коэффициент пульсации на нагрузке.


Коэффициент сглаживания первого звена фильтра (рис. 5.6)
q1=Кп.вх/Кп1 (5.42)
Коэффициент сглаживания второго звена фильтра
q2=Кп1/Кп.вых (5.43)
В (5.42) и (5.43) Кп1 - коэффициент пульсации на выходе первого звена и на входе второго звена данного фильтра (рис. 5.6).
Произведение коэффициентов сглаживания первого и второго звеньев с учетом (5.42), (5.43), а затем и (5.41) равно
q1q2=(Кп.вх/Кп1)(Кп1/Кп.вых )=Кп.вх/Кп.вых=qобщ (5.44)
Таким образом, коэффициент сглаживания двухзвенного фильтра равен произведению коэффициентов сглаживания его звеньев. Аналогично для любого многозвенного фильтра общий коэффициент сглаживания равен произведению коэффициентов сглаживания всех звеньев, т. е.
qобщ=q1 q2 q3…qn (5.45)
В многозвенных фильтрах удобно использовать одинаковые по параметрам звенья, т. е.
q1=q2=q3=…=qn (5.46)
и в этом случае
qобщ=(q)n (5.47)
где п - число звеньев.
5.8. Активные фильтры
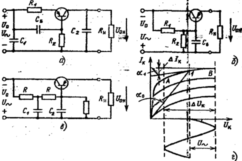
Миниатюрные активные фильтры весьма удобны и с успехом заменяют громоздкие и тяжелые LC-фильтры в переносной полупроводниковой радиоаппаратуре. В активных фильтрах последовательно или параллельно с нагрузкой включается транзистор, роль которого соответствует роли дросселя или резистора в фильтрах LC и RC, причем чаще используется последовательное соединение транзистора и нагрузки.

![]() |
На рис.5.7,а приведена схема фильтра, аналогичная П-образному фильтру C1LC2, с последовательным включением нагрузки в коллекторную цепь транзистора.
Рабочую точку транзистора выбирают на нелинейном участке выходной характеристики АВ (рис. 5.7, г, точка 1), где сопротивление транзистора для переменного тока ri=tgα1, значительно больше, чем сопротивление для постоянного тока, которое равно tgα0. Поэтому на транзисторе выделяется переменная составляющая выпрямленного напряжения U~, а напряжение и ток нагрузки будут постоянными. В цепь базы транзистора включено звено R1CБ с постоянной времени τ>>Т, и поэтому напряжение на конденсаторе СБ за период частоты пульсации существенно не меняется, что обеспечивает постоянство тока эмиттера. Положение рабочей точки на характеристике транзистора (рис. 5.7, г) определяется сопротивлением резисторов R2/R1, причем последний способствует термостабилизации рабочей точки. Конденсаторы С1 и С2 вместе с транзистором образуют П-образный сглаживающий фильтр.
Недостатком такой схемы фильтра является влияние изменения нагрузки на выходное напряжение U0,Н.
Чаще применяют схемы транзисторных фильтров, в которых нагрузка включена в цепь эмиттера (рис. 5.7,б). Положение рабочей точки выбирается с помощью делителя напряжения R1,R2, причем ток делителя должен быть больше тока базы, чтобы изменение тока базы не влияло на положение рабочей точки на характеристике транзистора. Конденсатор СБ служит для сглаживания пульсации на базе транзистора.
Для увеличения коэффициента сглаживания фильтра данного вида питание базы транзистора может производиться через двухзвенный RC-фильтр (рис. 5.7, б).
На входе активных фильтров включаются конденсатор С1, а параллельно нагрузке (на выходе выпрямителя) - конденсатор С2 сравнительно небольшой емкости (рис. 5.7, а). Эти меры служат для сглаживания высокочастотных составляющих пульсирующего напряжения, а также для устранения наводок и импульсных помех, возникающих вследствие наличия паразитной емкости транзистора.
Коэффициент сглаживания Г-образной части фильтра схемы на рис. 5.7, а (без конденсатора на входе)
(5.48)
где h21Э - коэффициент передачи по току транзистора в схеме с общим эмиттером; ri=ΔUK/ΔIK - сопротивление транзистора переменному току, ri находится по характеристике транзистора (рис. 5.7, г).
Коэффициент сглаживания для схемы на рис. 5.7,
, (5.49)
в котором
, а rк - сопротивление коллектора транзистора в схеме с общим эмиттером; h11Э - входное сопротивление транзистора в схеме с общим эмиттером в режиме большого сигнала; R1 и R2 выбираются из условия получения минимального Uкэ выбранного транзистора и обеспечения минимального выходного сопротивления фильтра.
Для уменьшения выходного сопротивления необходимо, насколько можно, снизить значения R1 и R2, однако при этом уменьшится коэффициент сглаживания фильтра, что вызовет необходимость увеличения емкости конденсатора.
Рис. 5.8. Схема фильтра на составном транзисторе
Применение составного транзистора (рис. 5.8) позволяет согласовать низкоомную нагрузку с высокоомными RС-фильтром. Кроме того, составные транзисторы позволяют увеличить сопротивление транзистора фильтра переменному току и, следовательно, улучшить сглаживающие свойства этого фильтра.
Для нормальной работы фильтра при изменениях нагрузки и температуры необходимо правильно выбрать резисторы делителя R1, R2 и резисторы смещения R3, R4. О выборе элементов делителя говорилось выше; резисторы смещения Rз и R4 подбираются таким образом, чтобы ток, протекающий по каждому из них, был больше тока IKma транзистора, в базу которого включен этот резистор.
Достоинства транзисторных фильтров: большие значения коэффициента сглаживания и сопротивления для низкочастотных составляющих.
Недостатки транзисторных фильтров: низкий КПД и резко выраженная зависимость коэффициента сглаживания от температуры.
Контрольные вопросы к главе 5 «Сглаживающие фильтры».
1. Назначение сглаживающих фильтров.
2. Основные требования, предъявляемые к фильтрам.
3. Емкостной фильтр. (Достоинства, недостатки и область применения).
4. Индуктивный фильтр. (Достоинства, недостатки и область применения).
Обратите внимание на лекцию "Управление взаимодействием прикладнх процессов".
5. Г-образный индуктивно-eмкостной фильтр. Основные параметры фильтра.
6. Резистивно-емкостные фильтры.
7. Резонансные фильтры. Достоинства и недостатки резонансных фильтров.
8. Многозвенные фильтры. Коэффициент сглаживания многозвенного фильтра.
9. Транзисторные фильтры. Достоинства и недостатки транзисторных фильтров.
10. Пути повышения коэффициента сглаживания и снижения габаритов транзисторных фильтров.























