Устройство и принцип работы ак-310
Б 2.8.5 устройство и принцип работы ак-310
Принцип работы кондуктометра основан на принципе изменения удельной электрической проводимости (УЭП) водного раствора солей в зависимости от его концентрации.
Изменение УЭП контролируемой пробы, функционально связанное с изменением его концентрации, приводит к изменению сопротивления чувствительного элемента, которое измеряется при помощи блока преобразователя.
Результат измерения отсчитывается по шкалам показывающего прибора блока преобразователя и потенциометра, отградуированных в единицах УЭП (мкСм/см) и записываются на диаграммной ленте потенциометра.
Электрогидравлические структурные схемы одноточечного и трехточечного вариантов кондуктометра приведены на рисунках 39, 40.
|
| 1 | |||||||||
|
| 2 | Рекомендуемые материалыFREE Маран Программная инженерия Техническое задание -34% ЛЮБАЯ практика в Синергии! -26% Помощь с закрытием всего семестра! 3 | 4 | 5 | 6 | |||||
|
| ||||||||||
|
| ||||||||||
| I | II | |||||||||
|
| 7 | |||||||||
| III | II |
1 - блок чувствительного элемента; 2 - фильтр; 3 - чувствительный элемент типа А; 4 - блок преобразователя; 5 - измерительный преобразователь ПТ - ТП - 68; 6 - потенциометр КСП2-016; 7 - чувствительный элемент типа Б; I - вход анализируемого раствора с удельной электропроводностью 0 - 1 и 0 - 10 мкСмсм; II - выход анализируемого раствора; III - выход анализируемого раствора с удельной электропроводностью 0 - 100 мкСмсм.
Рис. 39 Электрогидравлическая структурная схема одноточечного варианта кондуктометра
|
| 2 | ||||||||
|
| 3 | 4 | 6 | 7 | |||||
|
| 5 | ||||||||
|
| 1 | 8 | 5 | ||||||
|
| 2 |
| |||||||
|
| 3 | 4 | 6 | 7 | 9 | ||||
|
| 5 | ||||||||
|
| 1 | 8 | 5 | ||||||
|
| 2 | ||||||||
|
| 3 | 4 | 6 | 7 | |||||
|
| 5 | ||||||||
|
| 1 | 8 | 5 | ||||||
1 - вход контролируемой воды; 2 - блок датчика IЕ2.320.276; 3 - фильтр Н - катионитовый; 4 - чувствительный элемент типа А (IЕ5.132.365); 5 - выход контролируемой воды; 6 - блок преобразователя IЕ3.2П.039; 7 - преобразователь измерительный Ш78; 8 - чувствительный элемент типа Б (IЕ6.132.364); 9 - потенциометр КСП2-096.
Рис. 40 Электрогидравлическая структурная схема трехточечного варианта кондуктометра
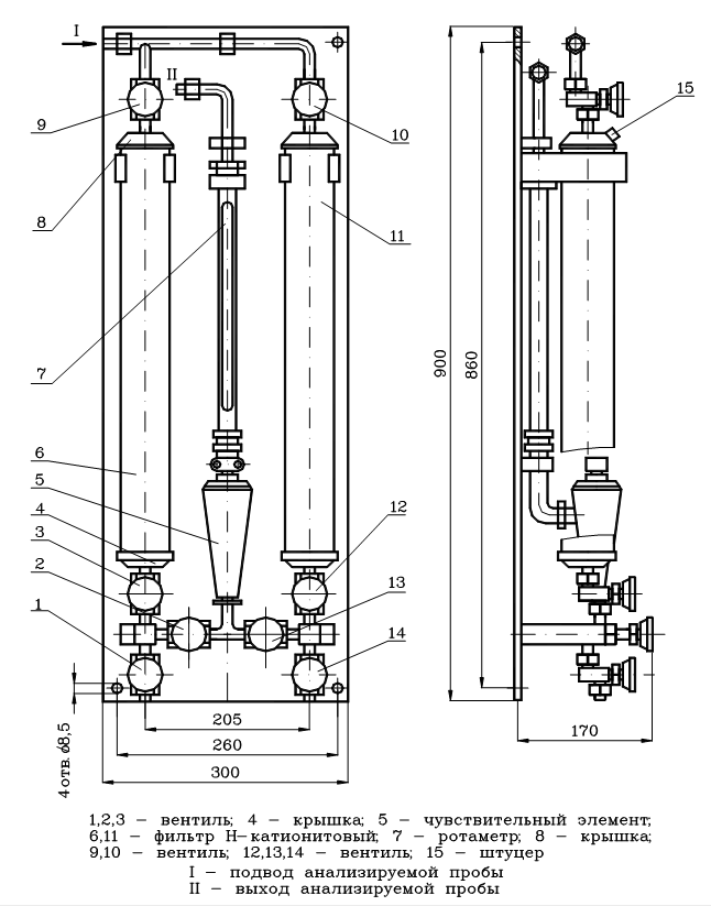
Блок датчика
Блок датчика состоит из :
1) предвключенного Н-катионитового фильтра - 2 шт. Один рабочий, другой резервный;
2) чувствительного элемента (датчика).
Блок датчика предназначен для очистки контролируемой воды от примесей аммиака, гидразина и других аминов, а так же для преобразования солесодержания воды в электрический сигнал - удельной пропорциональной электрической проводимости (УЭП).
Известно, что удельная электрическая проводимость растворов зависит не только от их концентрации, но так же от присутствия в растворах различных газов (аммиака, углекислого газа и т.д.) и от отклонения температуры растворов от градуировочного значения +25 оС.
Такая зависимость УЭП растворов может привести к дополнительным погрешностям.
Теоретически чистая вода обладает электропроводимостью, обусловленной присутствием в ней ионов Н+ и ОН- вследствии электрической диссоциации молекул воды (Н2О)
Н2О Û Н+ + ОН- - уравнение диссоциации воды (23)
Удельная электрическая проводимость теоретически чистой воды при 25 оС равна 0,055 мкСм/см и эта величина практически не ощутима при контроле растворов повышенной электропроводимости.
Присутствие же в воде газов (аммиака, углекислого газа) значительно сказывается на результатах измерений.
Для исключения влияния этих примесей перед датчиком кондуктометра устанавливаются Н-катионитовые фильтры. Если пробу конденсата, содержащей аммиак, углекислоту (СО2) пропустить через фильтр с катионитом в Н-форме, аммиак будет задержан катионитом.
Предвключенный Н-катионитовый фильтр, заполненный ионнообменной смолой марки КУ-2, предназначен для исключения влияния на результат измерения примесей аммиака, гидразина и других аминов. Перед каждым датчиком на общей раме обычно устанавливается по два фильтра: один рабочий, другой резервный (рис. 41). Фильтр представляет собой трубу из нержавеющей стали, закрытую с обеих сторон крышками. Верхняя крышка имеет специальный штуцер для выпуска воздуха при заполнении фильтра водой. Под крышками установлены сетчатые фильтры в виде стаканов из полиэтилена, заполненные стекловатой. Соединение фильтра с чувствительным элементом осуществляется при помощи трубок из нержавеющей стали. Обменный объем смолы составляет не менее 1300 г.экв/м3, что соответствует примерно 6 месяцам работы фильтра при содержании аммиака в воде 0,5 мг/л. Полнота поглощения аммиака и других аминов зависит от скорости фильтрования. Скорость фильтрования устанавливается в пределах 3,6-4,2 л/час., что соответствует расходу контролируемой воды 18-21 л/час.
При истощении Н-катионитового фильтра производится его регенерация. На период регенерации истощенный фильтр отключается и при помощи соответствующих вентилей подключается резервный фильтр.
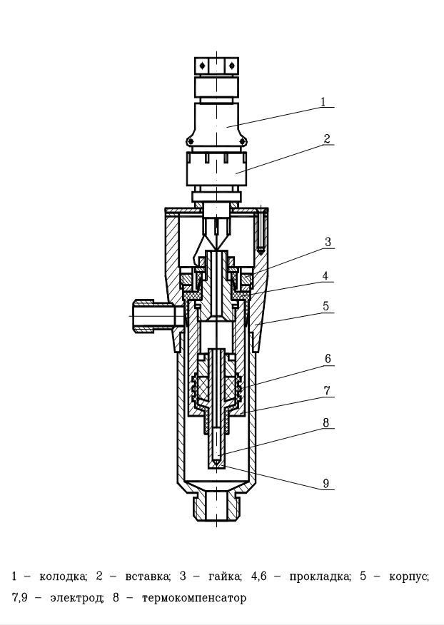
Чувствительный элемент
Чувствительный элемент предназначен для преобразования солесодержания контролируемой пробы в удельную электрическую проводимость (УЭП) в диапазонах (0-0,1) мСм/см и (0-1,0) мСм/м. (рис. 42).
Рекомендация для Вас - 2 Уравнение состояния идеального газа.

Рис. 41 Блок датчика кондуктометра

Рис. 42. Чувствительный элемент типа А.
Корпус чувствительного элемента изготовлен из нержавеющей стали. В нем установлены два катионитовых электрода, изолированных друг от друга и от корпуса с помощью фторопластовых прокладок. Каждый из электродов образует с корпусом самостоятельную ячейку, электрическое сопротивление которой подключается к измерительной схеме блока преобразователя нажатием соответствующей кнопки переключателя “0,1” или “1” на передней панели преобразователя для диапазона измерения 0-0,1 или 0-1,0 мСм/см соответственно. Во внутренней полости электрода находится терморезистор, предназначенный для автоматического ввода поправки на показания прибора при отклонении температуры контролируемой воды от градуированного значения 25 оС.
Выводы от электродов терморезистора подпаяны к разъему.












































I
























