Автоматические воздушные выключатели
Лекция №13.
Тема лекции:
13. Автоматические воздушные выключатели (автоматы), виды, параметры
Электромагнитные реле (тока и напряжения, для энергосистем и электроприводов).
АВТОМАТИЧЕСКИЕ ВОЗДУШНЫЕ ВЫКЛЮЧАТЕЛИ.
Автоматические выключатели (автоматы) обеспечивают одновременно функции коммутации силовых цепей (токи от единиц ампер до десятков килоампер) и защиты электроприемника, а также сетей от перегрузок и коротких замыканий. По выполняемым функциям защиты автоматы можно подразделять на:
1.Автоматы максимального тока;
2.Автоматыминимального тока;
Рекомендуемые материалы
3.Автоматы понижения напряжения;
4.Автоматыобратной мощности.
Принципиальные схемы действия автоматов без выдержки времени представлены на рис.13.1 (с электромагнитными расцепителями).
Основными элементами всякого автомата являются:
чувствительный орган в виде элемента защиты;
исполнительный орган в виде контактного устройства;
промежуточное кинематическое устройство- механизм выключателя;
дугогасительное устройство;
механизм управления- привод включения.
Элемент защиты воспринимает изменение параметров электрической цепи и срабатывает при наступлении ненормального режима в ней (недопустимое увеличение тока, понижения напряжения и др.) При срабатывании элементов защиты происходит воздействие на механизм свободного расцепления. Элементы защиты с промежуточными конструктивными частями (пружинами и др.) воздействующие на механизм свободного расцепления, называют расцеплениями.
Составной частью кинематики многих конструкций автоматов является механизм свободного расцепления. В различных конструкциях автоматов свободное расцепление обеспечивается по разному: механизмом с ломающимся рычагом, механизмы с защелкой и др.
На рис.13.2 показана схема механизма свободного расцепления, выполненного в виде системы шарнирно связанных ломающихся рычагов. Эти рычаги устроены так, что при включенном состоянии автомата (положение1) «б» лежит несколько ниже мертвого положения рычагов(ниже прямой, соединяющей шарниры «а»и «в» причем рычаги опуститься ниже не могут. Следовательно. при включении и выключении автомата система рычагов 6 является жесткой. Если под воздействием толкателя сердечника 5 включающий катушки 4 звенья рычага 6 будут повернуты так, что шарнир «б» окажется выше прямой, соединяющей шарниры «а» и «в», то контакты 2 и 3 автоматически разойдутся вне зависимости от положения рукоятки 1,даже если ее удерживать (положение II). Чтобы вновь включить автомат, необходимо рукоятку поставить в положение, соответствующее отключенному автомату (положение III), при котором центр «б» окажется ниже прямой «а» и «в» (говорят–«зарядить» автомат).
Механизм свободного расцепления чаще всего выполняется так, что при ручном отключении происходит излом системы рычагов, а контакты быстро расходятся под действием отключающих пружин.
Существует большое разнообразие конструкций автоматов на различные номинальные токи, предназначенные для работы в цепях переменного и постоянного тока.
Автоматы защиты от перегрузок и коротких замыканий обеспечивают удобную установку и монтаж как на панелях и щитах распредустройств, так и отдельных устройствах. Таки автоматы на токи до 100-600А называют установочными.
Автоматы на номинальные токи 200-1500-6000А обладают способностью отключать токи короткого замыкания на десятки килоампер, имеют обычно несколько защит (от перегрузок, коротких замыканий, снижения напряжения и др.), дистанционное управлние, сигнализацию. Поэтому конструкции их значительно сложнее. Такие автоматы называют универсальными.
Наибольшее распространение получили автоматы серий А-3000;АЕ-1000, АЕ-2000, «Электрон». Серия АЕ для защиты цепей электроприемников от перегрузок и коротких замыканий на напряжения переменного тока 380,660В; постоянного – 110-220В; на номинальные токи от16 до 100А
Серия А-3000 выполняется на напряжении: переменные 380,660В; постоянные до 440В и токи от50 до 630А. Серия имеет модификации по повышению частоты на 400и 1500Гц.
Серия «Электрон» используется в распредустройствах на напряжения до 440 В постоянного и 660В переменного и токи от 630Адо 4000А
Автоматы выбирают по их номинальному току. Уставки токов расцепителей определяют по следующим соотношениям:
Для силовых одиночных электроприемников: ток уставки теплового расцепителя Iг>1,25 Iн; ток уставки электродинамического расцепителя Iэ>1,2 Iпуск, где Iн-номинальный ток электроприемника, Iг-пусковой ток электродвигателя .
Для группы силовых (двигательных) электроприемников:
Iт>1,1Imax, Iэ>1,2(Iпуск+Imax),где Imax-наибольший суммарный ток группы электроприемников в номинальном режиме.
Лабораторная работа по исследованию автоматических воздушных выключателей направлена на изучение характеристик элементов защиты.
![]() |
Рис.13.1.Принципиальные схемы автоматических воздушных выключателей
а–автомат максимального тока; б — автомат максимального тока с выдержкой времени; в — автомат минимального тока;
г — автомат понижения напряжения;д — автомат обратной мощности.
![]() |
Рис.13.2. Принципиальная схема механизма свободного расцепления автомата.
/ — автомат включен; //-после автоматического отключения автомата; ///—автомат подготовлен к включению
Автоматическое отключение автоматов происходит под действием встроенных в них тепловых и максимально-токовых элементов защиты. Первые выполняются при помощи биметаллических элементов, срабатывающих обратнозависимой от тока выдержкой времени при появлении в цепи перегрузок; вторые при помощи электромагнитов, срабатывающих мгновенно при коротком замыкании.
Электромагнитные реле (тока и напряжения, для энергосистем и электроприводов).
ОБЩИЕ СВЕДЕНИЯ
Реле – это электрический аппарат, в котором при плавном изменении входной (управляющей) величины происходит скачкообразное изменение выходной (управляемой) величины. Причём, хотя бы одна из этих величин должна быть электрической.
По принципу действия реле подразделяются на электромагнитные, поляризованные, магнитоэлектрические, индукционные, тепловые, реле времени и др.
В настоящих методических указаниях рассматриваются электромагнитные реле, принцип действия которых основан на использовании электромагнитов.
По области применения реле подразделяют:
а. Для защиты энергосистем;
б. Для управления и защиты электроприводов;
в. Для схем автоматики.
В зависимости от входного параметра реле подразделяют на реле тока, напряжения, мощности, частоты и др.
По способу включения реле подразделяются на первичные и вторичные. Первичные реле включаются непосредственно в цепь, вторичные – через измерительные трансформаторы.
Основной характеристикой реле является характеристика управления – зависимость выходного сигнала от входного.
Для реле с замыкающим контактом характеристика «вход-выход» (рис.13.3) определяется следующим: при отсутствии входного сигнала (
) контакты разомкнуты и ток в управляемой цепи равен нулю (
). С увеличением входного сигнала, при некотором его значении, происходит срабатывание реле. Это значение входного сигнала называется параметром обрабатывания –
(напряжение, ток и т.д.) До тех пор, пока
выходной параметр
равен нулю либо своему минимальному значению
( для бесконтактных аппаратов). При
выходной параметр скачком меняется от
до
.. Происходит срабатывание реле. При дальнейшем увеличении
контакты реле остаются замкнутыми и выходной параметр остаётся постоянным
.
Если теперь начать уменьшать входной параметр, то при некотором его значении якорь реле возвращается в исходное положение, контакты размыкаются и происходит скачкообразное изменение входного параметра от значения
до 0.
Значение входного параметра, при котором происходит возврат реле в исходное состояние, называется параметром возврата –
.
Значения параметров срабатывания или отпускания, на которые отрегулировано реле, называются уставкой по входному параметру –
.
Значение рабочего входного параметра
больше чем
. Отношение
называется коэффициентом запаса.
Для реле очень важно отношение
, которые называются коэффициентом возврата
.
Важным параметром, характеризующим усилительные свойства реле, является отношение максимальной мощности нагрузки в управляемой цепи
к минимальной мощности входного сигнала
, при котором происходит срабатывание реле.
В зависимости от назначения к реле предъявляется ряд требований. Так, к реле защиты энергосистем предъявляются требования селективности, быстродействия, чувствительности, надёжности, высокого значения коэффициента возврата.
![]() |
Рис.13.2.Характеристика «вход-выход» реле.
Под селективностью понимается избирательность. Для реле это означает способность отключать только повреждённый участок.
Реле защиты энергосистем эксплуатируются в облегчённых условиях. Они не подвержены ударам, вибрациям, пыли и газов, вызывающих коррозию. К этим реле не предъявляются требования высокой износостойкости, так как аварийные режимы в энергосистемах редки. В этой связи электрическая и
механическая износоустойчивость может быть значительно меньше, чем у реле для защиты электроприводов и систем автоматики, где износоустойчивость достигает десятков миллионов циклов, а число включений в час 1000 и более.
В связи с такими условиями эксплуатации реле защиты энергосистем могут иметь сложную конструкцию, выполняемой с высокой точностью; малое нажатие контактов, что позволяет выполнять лёгкий якорь, обеспечивающий малую инерционность. Высокое значение коэффициента возврата
достигается из следующих соображений.
В общем случае коэффициент возврата реле равен
,
где
– ток возврата,
– ток срабатывания.
Значения тока возврата и срабатывания связаны со значениями электромагнитной силы срабатывания
и возврата
.Электромагнитная сила, действующая на якорь определяется выражением
/1/
где
,
величина воздушного зазора,
– поперечное сечение зазора.
При срабатывании
– силы противодействующих пружин. При возврате электромагнитная сила
. Срабатывание электромагнита соответствует уменьшению зазора между якорем и полюсным наконечником, от начального (
) до конечного (
). В соответствии с /1/ с уменьшением зазора электромагнитная сила возрастает пропорционально квадрату зазора а сила противодействующей пружины с уменьшением зазора возрастает линейно. Поэтому при уменьшении зазора от
до
при срабатывании электромагнита разница между электромагнитной силой и силой противодействующей пружины возрастает от 0 до
. В этой связи ток возврата меньше тока срабатывания и имеют место соотношения:
при токе срабатывании для конечного значения зазора электромагнитная сила равна
/2/
при возврате электромагнитная сила
. /3/
из отношения /3/ к /2/ следует
. /4/
Так как
, то коэффициент возврата максимальных реле
. Для увеличения
необходимо уменьшение
, то есть сближение тяговой характеристики
и противодействующей
. Для максимального сближения характеристик нужно придать противодействующий нелинейный характер. Однако это сложно выполнить и такие решения применяются редко. При одной противодействующей пружине рекомендуется выбирать её с максимально возможной жёсткостью, чтобы противодействующая характеристика совпадала с касательной, проведённой к тяговой характеристике при
. Если выбрать достаточно большое значение
и малый ход якоря, равный
, то характеристика противодействующей пружины достаточно близко подойдёт к тяговой и коэффициент возврата может быть получен порядка 0,7-0,8.
Хорошими возможностями согласования характеристик обладает электромагнитная система с поворотным якорем, кинематическая схема которого представлена на рис.13.3. Якорь Г-образной формы выполнен из тонкой электротехнической стали. С уменьшением зазора он насыщается,
уменьшается и
возрастает.
Помимо указанных факторов на коэффициент возврата реле оказывают влияние трение перемещающихся частей электромагнита и гистерезис материала магнитопровода. За счёт их действия коэффициент возврата уменьшается. Для уменьшения влияния трения на коэффициент возврата усилие противодействующей пружины должно значительно превышать силу трения.
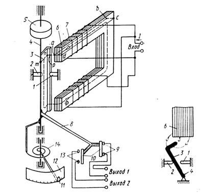
Конструкцию и принцип действия реле рассмотрим на примере реле максимального тока, кинематическая схема которого приведена на рис.13.3 (а и б).
На шихтованном магнитопроводе 6 П-образной формы расположены две намагничивающие обмотки 7, при протекании тока по которым создаётся магнитный поток
, который замыкается по цепи: - магнитопровод – воздушный зазор – якорь – второй воздушный зазор – магнитопровод. Якорь 3 выполнен из электротехнической стали и для увеличения быстродействия очень лёгкий. Под действием электромагнитных сил якорь стремится повернуться в сторону соответствующую уменьшению зазора (рис.13.3,б). Под действием механических сил, создаваемых спиральной пружиной 14 (рис.13.3а), якорь стремится повернуться против часовой стрелки до левого упора 2. При токе срабатывания электромагнитная сила, при всех углах поворота якоря, от начального до конечного, больше механической.
Таким образом, если ток достигает тока срабатывания, якорь повернется до упора 1. С якорем жестко связаны посредством контактного рычага 8 два подвижных контактных мостика 10. При срабатывании в начале поворота якоря разомкнутся контакты 9 (выход 1), а в конце поворота якоря замкнутся контакты 13 (выход 2).
При токе возврата происходит поворот якоря в обратном направлении и коммутация контактов в обратной последовательности – размыкания контактов 13 и последующее замыкание контактов 9.
Для согласования механической и тяговой характеристик используются упоры 1 и 2. Оптимальное согласование характеристик осуществляется изменением положения упоров.
Изменение уставки тока срабатывания осуществляется:
грубое (изменение в два раза) – путем различного (последовательного и параллельного) соединения обмоток 7 (на рис.13.3 они соединены параллельно);
плавное – осуществляется путем перемещения указателя уставки 11 по шкале уставок 12.
Указатель уставки 11 соединен с пружиной 14 и при движении указателя пружина закручивается или ослабляется, поднимая или опуская тем самым механическую характеристику.
Данное реле может работать как на постоянном, так и на переменном токе. Для устранения вибраций якоря, возникающих на переменном токе, применяется гаситель колебаний 5, в котором энергия колебаний затрачивается на работу трения песчинок.
Гаситель колебаний (демпфер) 5 устраняет и вибрации контактов при включении (дребезг контактов).
Общий вид реле серии РТ-40 представлен на рис.3

Рис.13.3. Кинематическая схема реле тока РТ
![]() |
Рис. 13.4. Электромагнитное реле серии РТ-40
На базе реле РТ-40 разработаны реле напряжения серии РН-50. Они отличаются от реле тока следующим:
1. обмоточными данными - большим числом витков обмоток с меньшим поперечным сечением провода обмоток,
2. отсутствием гасителя колебаний 5. Так как ток в обмотках относительно невелик, то для уменьшения вибраций якоря применяется выпрямительная схема.
В настоящее время промышленностью выпускаются реле напряжения серии РН и реле тока серии РТ, основные данные которых приведены ниже.





Реле напряжения
Реле напряжения РН-50. Реле максимального и минимального напряжения электромагнитное (П-образный шихтованный сердечник с поворотным якорем).
Обмотки реле через выпрямительный мост подсоединяются к сети переменного тока. Изменение уставки осуществляется поворотом рычага и закручиванием спиральной пружины.
Номинальное напряжение реле от 30 до 400 В.
Пределы изменения уставки на срабатывание: 15...60 В при номинальных напряжениях реле 30 и 60 В; 50...200 В при 100 и 200 В; 100...400 В при 200 и 400 В.
Коэффициент возврата 0,8.
Собственное время срабатывания реле не более 0,15 с при снижении напряжения до 0,8 номинального.
Реле напряжения РН-51 предназначено для применения в схемах контроля изоляции цепей постоянного тока напряжением до 220 В. Реле имеет один замыкающий контакт.
Реле максимального напряжения РН-53 предназначено для применения в качестве измерительного органа, реагирующего на повышение напряжения. Реле имеет один замыкающий и один размыкающий контакты.
Реле минимального напряжения РН-54 предназначено для применения в качестве измерительного органа, реагирующего на понижение напряжения. Реле имеет один замыкающий и один размыкающий контакты.
Реле сдвига фаз РН-55 или контроля синхронизма. Реле электромагнитное. Его магнитная система состоит из П-образного магнитопровода и поворотного якоря. Реле реагирует на геометрическую разность векторов напряжения, подводимых к выводам.
Применяют в схемах автоматического повторного включения линий электропередачи с двусторонним питанием для контроля наличия напряжения на линии и угла сдвига фаз между векторами напряжения на линии и шинах подстанции.
Исполняются на напряжения от 30 до 100 В.
Реле срабатывает при углах сдвига фаз между векторами напряжения в пределах от 20 до 40° при номинальном напряжении. Коэффициент возврата по углу до 0,8 при номинальном напряжении. Время срабатывания 0,15 с при угле сдвига фаз равно полуторакратному значению уставки.
Потребляемая мощность каждой обмотки при номинальном режиме (номинальное напряжение и нулевой сдвиг фаз) — 6,5 ВА.
Коммутируемые мощности: постоянный ток — 60 Вт при напряжении до 220 В и ток до 2 А (постоянная времени до 0,05 с); переменный ток — 300 ВА при напряжении до 220 В и токе д 3 А.
Реле имеют две обмотки напряжения, один замыкающий и один размыкающий контакты
Реле максимального напряжения РН-153 и РН-154 предназначены для применения в качестве измерительного органа, реагирующего на повышение напряжения. Реле имеет один замыкающий и один размыкающий контакты.
Реле напряжения обратной последовательности РНФ-1М предназначены для защиты различных электрических установок при несимметричных коротких замыканиях.
Реле имеет один замыкающий и один размыкающий контакты. Характеристики реле напряжения РН приведены в табл. 1 – 6.
Реле напряжения нулевой последовательности РНН-57. Используется в схемах поперечных дифференциальных защит, дистанционных защит с высокочастотной блокировкой в качестве реле максимального напряжения. Уставки напряжения реле — 4, 5, 6, 7 и 8 В, время срабатывания — 0,04 с при двукратном токе уставки
Рекомендуем посмотреть лекцию "Память".
Реле напряжения обратной последовательности РНФ-3. Предназначено для использования в схемах защиты в качестве органа, реагирующего на напряжение обратной последовательности при возникновении несимметричных коротких замыканий
Уставки линейного напряжения обратной последовательности — 13,6...24 В. Коэффициент возврата 0,95.
Реле тока максимальное типа РТ-40. Реле электромагнитного принципа действия (П-образный шихтованный сердечник и Г-образный якорь, имеет две обмотки управления, которые могут соединяться последовательно или параллельно в зависимости от требуемого тока срабатывания). Диапазон уставок тока срабатывания от 0,05 до 200 А.Коэффициент возврата от 0,7 до 0,85. Время срабатывания не более 0,1 с при токе, равном 1,2 тока срабатывания, и не более 0,03 с при токе, равном 3-кратному току срабатывания [1].
ПАРАМЕТРЫ РЕЛЕ ТОКА
Реле максимального тока РТ-40, РТ-140 (рис. 10.32) применяются в качестве измерительных реле в схемах релейной защиты реле тока серий РТ-40 и РТ-140 выпускаются в унифицированном корпусе «СУРА» и приспособлены для переднего или заднего под винт присоединения внешних проводников.
Коэффициент возврата реле не менее 0,85 на первой уставке и не менее 0,8 на остальных уставках шкалы. Реле имеет один замыкающий и один размыкающий контакты. Номинальная частота тока — 50 и 60 Гц. Габаритные размеры реле типа РТ-40 -— 67x128x158 мм; реле типа РТ-140 — 95x140x181 мм. Масса реле не более 0,85 кг.



























