Электрические разряды по поверхности твердого диэлектрика
Электрические разряды по поверхности твердого диэлектрика
Многообразие изоляционных конструкций с твердым диэлектриком в электрических аппаратах может быть сведено к трем характерным случаям.
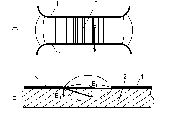
1. Размещение диэлектрика в однородном поле. Поверхность раздела диэлектрика в воздухе расположена вдоль силовых линий электрического поля (рис. 1А).
2. Размещение диэлектриков в конструкциях с неоднородным полем (рис. 1Б,В), причем в случае 1Б во всех точках поверхности диэлектрика, за исключением очень малых его участков вблизи электродов, тангенциальная составляющая напряженности поля
преобладает над нормальной составляющей
. В случае 1В - наоборот, нормальная составляющая много больше тангенциальной составляющей напряженности поля.


Рис. 1. Характерные расположения твердого диэлектрика в электрическом поле.
1 - электроды; 2 - диэлектрик.
Рекомендуемые материалы
В зависимости от формы электрического поля главное влияние на характер развития разряда и на величину разрядного напряжения оказывают различные факторы.
1, Диэлектрик, помещенный в однородное поле, (рис. 1А) казалось бы, не нарушает постоянства напряженности поля, и поэтому естественно было бы предположить, что пробой такого промежутка может произойти в любом месте и разрядное напряжение окажется таким же, как и для чисто воздушного промежутка. Однако в действительности разряд всегда происходит по поверхности диэлектрика и при напряжении более низком, чем в воздушном промежутке.
Значительная роль в снижении разрядного напряжения играет адсорбированная диэлектриком влага. Материалы, обладающие большой поверхностной гигроскопичностью (стекло, бакелитовая бумага), дают большее снижение разрядных напряжений, чем малогигроскопичные материалы (парафин, винипласт).
Вместе с тем имеет значение длительность приложенного напряжения. Большее по сравнению с импульсными снижение прочности при постоянном и переменном напряжениях свидетельствует об относительно медленном развитии процесса пробоя.
Дело в том, что адсорбированная поверхностью диэлектрика влага содержит диссоциированные ионы. В электрическом поле сравнительно медленно, из-за малой проводимости увлажненного слоя, происходит перераспределение зарядов по поверхности диэлектрика. Поле вблизи электродов усиливается, а в середине промежутка ослабляется. В результате этого величина разрядного напряжения уменьшается. При импульсах электрическое поле в промежутке не успевает существенно исказиться, и поэтому разрядное напряжение снижается в меньшей мере.
Помимо увлажнения поверхности диэлектрика, большое влияние на величину разрядного напряжения могут оказывать воздушные прослойки между диэлектриком и электродами. В этих прослойках из-за разности в диэлектрической проницаемости диэлектрика и воздуха создается местное увеличение напряженности электрического поля и возникает ионизационный процесс. Продукты ионизации выходят на поверхность диэлектрика, что приводит к значительному (иногда вдвое и больше) снижению разрядного напряжения.
В реальных изоляционных конструкциях твердый диэлектрик очень редко располагается в однородном поле. Расположение диэлектрика, показанного на рис. 1А, чаще используется для исследования характеристик разряда по поверхности диэлектрика.
2. Расположение диэлектрика на рис. 1Б характерно для опорных изоляторов. Электрическое поле в этой конструкции неоднородно, поэтому разрядные напряжения ниже, чем в случае, показанном на рис. 1А.
Гигроскопические свойства диэлектрика в этом случае мало влияют на величину разрядных напряжений, поскольку процессы на его увлажненной поверхности могут лишь несколько увеличить и без того значительную неоднородность поля. Неплотное прилегание диэлектрика к электродам в реальных конструкциях обязательно устраняется с помощью цементирующих замазок или прокладок.
Нижний электрод (фланец) опорного изолятора обычно бывает соединен с заземленными конструкциями, имеющими значительные размеры. Вследствие этого напряженность поля у фланца уменьшается, и разряд начинается с другого электрода (шапки), находящегося под высоким потенциалом. Уменьшение напряженности поля вблизи шапки посредством создания внутреннего экрана позволяет существенно увеличить разрядное напряжение изолятора.
3. В конструкции на рис. 1В, характерной для проходных изоляторов, у верхнего электрода при относительно небольшом напряжении возникает коронный разряд в виде полоски ровного и неяркого свечения.
При увеличении напряжения область коронирования расширяется и на поверхности диэлектрика появляются многочисленные слабосветящиеся каналы (стримеры), направленные в сторону противоположного электрода.
В рассматриваемой конструкции в отличие от других устройств стримерные каналы имеют значительно большую емкость по отношению к противоположному электроду. Вследствие этого через них проходит сравнительно большой ток (рис. 2).

Рис. 2. Развитие стримера в системе проходного изолятора.
При определенной величине напряжения ток возрастает настолько, что температура стримерных каналов существенно увеличивается и с них становится возможной термическая ионизация. В результате этого каналы разряда преобразуются: сопротивление их резко падает, интенсивность свечения возрастает, Такая форма стримерного разряда, при которой канал имеет высокую температуру, обусловленную термической ионизацией, называется скользящим разрядом.
Падение напряжения на каналах скользящих разрядов невелико, поэтому потенциал электрода выносится по ним далеко в глубь промежутка. Ионизационный процесс захватывает все большую область. Длина скользящих разрядов очень быстро увеличивается с повышением прикладываемого напряжения, и, наконец, процесс завершается полным перекрытием промежутка между электродами.
Чем больше величина тока в канале скользящего разряда, тем выше проводимость канала и потенциал на его конце, тем быстрее растет длина скользящего разряда и ниже оказывается напряжение перекрытия.
Величина тока в свою очередь при переменном напряжении определяется емкостью канала разряда по отношению к противоположному электроду. При одинаковых приложенных напряжениях ток в канале будет тем значительнее, чем больше величина этой емкости. Очевидно, чем больше емкость, тем ниже должно быть разрядное напряжение, конечно, при постоянстве расстояния между электродами по поверхности диэлектрика.
В качестве величины, характеризующей емкость канала, принимается удельная поверхностная емкость, т. е. емкость единицы поверхности, по которой развивается разряд, по отношению к противоположному электроду.
Поскольку удельная поверхностная емкость обратно пропорциональна толщине диэлектрика, разрядное напряжение может быть выражено как
Рекомендация для Вас - 6 Социологические доминанты коммуникации.
(1)
При неизменной толщине и материале диэлектрика разрядное напряжение зависит от расстояния l между электродами по поверхности диэлектрика
(2)
В общем случае
(3)
В выражениях (1) - (3):
- постоянные для рассматриваемой конструкции величины.





















