Автоматизация газотурбинных установок
ГЛАВА 6
Автоматизация газотурбинных установок
6.1. Основные характеристики ГТУ
Газотурбинная установка с точки зрения динамики протекающих процессов является сложной установкой, состоящей из нескольких взаимодействующих между собой аккумуляторов энергии.
Основными аккумуляторами энергии в газотурбинной установке в общем случае являются: вращающаяся масса турбокомпрессора, камера сгорания, газовый и воздушный коллекторы (ресиверы), вращающаяся масса ротора силовой турбины, приводимые ею в движение валопровод и гребной винт.
С учетом вышеизложенного динамика современной судовой двухвальной газотурбинной установки с регенераторами и воздухоохладителями будет описываться дифференциальными уравнениями 3 или 4-го порядка.
Основными параметрами, характеризующими режим работы газотурбинного двигателя, являются температура газа перед турбиной и частота вращения ротора турбины.
Регулирование судовых газотурбинных двигателей сводится, в основном, к управлению этими параметрами.
Рекомендуемые материалы
Свойства газотурбинного двигателя в общем случае могут, быть характеризованы зависимостью мощности либо крутящего момента на выходном валу от развиваемой частоты вращения при установившемся режиме. Эта статическая характеристика, называемая выходной, определяется тепломеханической схемой ГТУ.
В судовых газотурбинных установках получили распространение в основном следующие три тепловые схемы:
¾ простейшая одновальная (рис. 73);
¾ двухвальная со свободной пропульсивной турбиной (рис. 74);
¾ двухвальная с двумя турбокомпрессорами, один из которых работает на гребной винт (блокированного типа) (рис. 75).

Рис. 73. Тепловая схема простей- Рис. 74. Тепловая схема двухвальной
шей одновальной ГТУ: ГТУ со свободной пропульсивной турбиной
1 — компрессор; 2 — газовая турбина; 1 — компрессор; 2 — ТВД; 3 — ТНД;
3 — воздухоподогреватель; 4 — воздухоподогреватель;
4 — камера сгорания 5 — камера сгорания
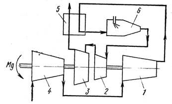
Газотурбинная установка газотурбохода «Парижская коммуна» (отечественной постройки) соответствует тепловой схеме с двумя турбокомпрессорами, один из которых работает на гребной винт (блокированный тип). Характеристика такой ГТУ приведена на рис. 76.

Рис. 75. Тепловая схема двухвальной ГТУ с двумя турбокомпрессорами:
1 — компрессор ВД (КВД); 2 — турбина высокого давления (ТВД);
3 — ТНД; 4 — КНД; 5 — воздухоподогреватель; 6 — камера сгорания
В этой схеме часть мощности пропульсивной турбины расходуется на привод компрессора низкого давления (КНД), который подает воздух в компрессор высокого давления (КВД). В связи с этим количество воздуха, подаваемого в камеру сгорания, определяется угловой скоростью КНД, который расположен первым по ходу воздуха.

Рис. 76. Характеристики подвода для ГТУ с двумя турбокомпрессорами:
— относительная мощность;
— относительная частота вращения;
— относительная подача топлива;
— удельный относительный расход топлива
Изменение направления движения судна с газотурбинной установкой может осуществляться либо при помощи турбины заднего хода, либо с помощью винта регулируемого шага.
В состав газотурбинного агрегата в общем случае входят следующие обслуживающие механизмы и устройства: главный топливный насос, как правило, отдельный для каждого газотурбинного двигателя; топливоподкачивающий насос; масляные насосы двигателя; масляные насосы редуктора; насосы охлаждения для прокачки масляного и воздушного холодильников. Обычно эти механизмы приводятся во вращение от валов турбин либо редукторов. Помимо этого, газотурбинный агрегат снабжают резервными и стояночными электроприводными насосами, пусковым двигателем и электродвигателем для прокрутки роторов, а также различной автоматической аппаратурой.
Разнообразие тепломеханических схем ГТУ и реверсивных устройств определяет требования к объему и задачам регулирования, а также приводит к различным схемам регулирования.
В общем случае системы автоматического регулирования и управления судовыми ГТУ выполняют следующие основные задачи:
1) пуск с выводом на режим минимально устойчивой частоты вращения и остановку;
2) реверсирование турбины либо изменение шага винта для случая работы на ВРШ;
3) перевод с одного режима на другой за минимальный промежуток времени при одновременном предотвращении недопустимых забросов и провалов основных параметров (температуры газа и частоты вращения ротора);
4) стабилизацию на заданном уровне значений регулируемых параметров.
Обеспечение устойчивых статических режимов работы ГТУ осуществляется либо путем стабилизации частоты вращения турбокомпрессора, либо путем поддержания необходимого постоянного расхода топлива в камеру сгорания. Встречается также комбинированный способ, при котором на малых нагрузках осуществляется регулирование расхода топлива, а на средних и больших — вступает в действие автоматический регулятор частоты вращения.
6.2. Регулирование частоты вращения ротора
Схема регулятора частоты вращения турбокомпрессора непрямого действия с изодромной обратной связью, скомпонованного с плунжерным топливным насосом, приведена на рис. 77.

Рис. 77. Схема регулятора частоты вращения турбокомпрессора
При любом установившемся режиме поршень изодрома 7 занимает одно и то же положение в связи с тем, что он управляется своим золотником 5. При изменении частоты вращения ротора турбокомпрессора чувствительный элемент 1 перемещает золотник 3, соединяя полости А и Б сервомотора со сливной либо напорной магистралью. В результате этого, в связи с тем, что межпоршневое пространство задросселировано дросселем 6, в первый момент поршни сервомотора 8 и изодрома 7 переместятся вместе в одном направлении, изменят наклон шайбы 9 и связанную с этим производительность насоса. Рычагом обратной связи 4 втулка 2 золотника переместится в сторону движения золотника и закроет впускные окна; установится равновесный режим со статической ошибкой, обусловливаемой наличием жесткой обратной связи. В следующий момент в межпоршневое пространство В через дроссель 6 будет поступать либо сливаться жидкость, в результате чего поршень 7 возвратится в нейтральное положение, а статическая ошибка исчезнет.
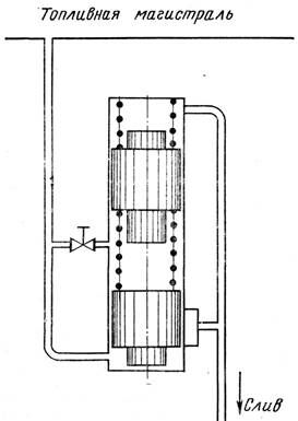
Схема автоматического регулятора, обеспечивающего поддержание постоянного расхода топлива в камеру сгорания, объединенного с топливным насосом, приведена на рис. 78.

Рис. 78. Схема регулятора перепада давления топлива
При изменении расхода топлива, проходящего через управляемый дроссельный кран 1, изменится перепад давлений в трубопроводах до и после этого крана, а следовательно, и в верхней и нижней полостях дифференциального золотника 2, являющегося чувствительным элементом регулятора. При перемещении золотника 2 изменяется количество жидкости, поступающей в полость Б и сливающейся из полости А сервомотора. В результате этого сервопоршень 4 также переместится, изменит наклон шайбы 5 и количество топлива, подаваемого к форсункам. Золотник 5 служит для поддержания постоянного давления жидкости, поступающей в полость А.
Схема комбинированного топливорегулирующего устройства, обеспечивающего стабилизацию расхода топлива в камеру сгорания на малых нагрузках и стабилизацию частоты вращения ТКВД на средних и больших нагрузках, приведена на рис. 79.
Регулятор расхода топлива, действующий по принципу измерения давления после топливной иглы 4, состоит из золотника 6, подпружиненного пружиной 5. При перемещении золотника 6 вследствие изменения расхода топлива изменяется давление жидкости, действующей на сервопоршень 12 и поршень изодрома 11, и в результате перемещения сервопоршня 12 изменяются угол наклона шайбы 1 и производительность топливного насоса. При работе на малых нагрузках и, следовательно, малых подачах топлива работает только регулятор расхода. При дальнейшем увеличении подачи топлива за счет перемещения управляющей рукоятки, воздействующей одновременно на иглу 4 и стакан 7, зазор между стаканом 7 и тарелкой пружины 8 будет выбран, а пружина будет сжиматься, увеличивая нагрузку на рычаг 9, который, в свою очередь, воздействуя на втулку 2 золотникового усилителя и золотник 10 устройства изодромной связи, введет в действие регулятор частоты вращения, а золотник 6, осуществляющий стабилизацию расхода, выйдет на упор.
На холостом ходу ГТД расход топлива дозируется иглой 3.

Рис. 79. Схема топливорегулирующей аппаратуры (насос-регулятор)
6.3. Регулирование температуры газа
Вторым основным параметром, характеризующим режим работы газотурбинной установки, является температура газа перед турбиной. С точки зрения экономичности цикла (обеспечения высокого термического к.п.д.) целесообразно, чтобы турбина работала при максимально возможных температурах газа, а с точки зрения прочности и долговечности ГТУ необходимо, чтобы температура рабочего газа не превышала допустимого предела. Исходя из этих условий, температура газа перед турбиной на установившемся номинальном режиме должна поддерживаться с точностью до 1%, а на переходном режиме кратковременные забросы ее не должны превышать 1,5—2,0%'.
Температура газов перед турбиной в различных точках поперечного сечения потока отличается на значительную величину, достигающую 10%, поэтому для получения среднемассового или расчетного значения необходимо измерять температуру газа в нескольких точках и брать среднее значение ее. После прохода газа через проточную часть турбины он перемешивается и температурная неравномерность потока уменьшается, а так как отношение средней температуры газов перед и после турбины, даже при изменении режима работы в широком диапазоне, близко к постоянной величине, то наряду с установкой измерительных приборов перед турбиной их часто устанавливают и за турбиной.
В качестве чувствительных элементов (измерительных приборов) в САР температуры применяют термопары, дилатометрические либо манометрические датчики.
Так как чувствительные приборы этого типа обладают существенной инерционностью (постоянная времени 3—5 с), то на неустановившихся режимах могут возникнуть значительные погрешности. Для уменьшения этих динамических погрешностей в регуляторах температуры газа применяют различные компенсационные устройства. Один из возможных способов компенсации тепловой инерционности термопары показан на рис. 80. При такой схеме соединения сигнал от измерительного элемента суммируется с его производной, умноженной на постоянную времени, в результате чего можно получить сигнал, соответствующий действительному значению мгновенной температуры
(tд — действительная мгновенная температура газа; tи — выходной сигнал термопары; Т — постоянная времени термопары — 3-5 с).
Рис. 80. Схема устройства для компенсации динамической погрешности
в регуляторе температуры
Одна из возможных схем САР температуры газа и частоты вращения ГТУ приведена на рис. 81. Изображенная схема работает по ограничительному принципу и обеспечивает стабилизацию температуры газа и частоты вращения на режиме, близком к номинальному.

Рис. 81. Схема САР температуры газа и частоты вращения ротора ГТУ
Чувствительным элементом температуры служит термобаллон 7, а частоты вращения — механический регулятор 2.
При превышении температуры газа выше допустимого значения трубка терморегулятора 4 отжимает рычаг 5, который открывает клапан 6, перепускающий часть топлива, поступающего к форсунке 8, на слив в цистерну 9.
При увеличении частоты вращения отжимается рычаг 1, открывается клапан 3 и также перепускается часть топлива на слив. Рассмотренные способы регулирования (n=const или G=const) в достаточной степени обеспечивают стабильную работу ГТУ при установившихся режимах. В то же время каждый из этих способов обладает определенными недостатками при работе ГТУ в переходных либо переменных режимах.
На работу судовой ГТУ существенное влияние оказывают параметры наружного воздуха и топлива, причем это влияние будет сказываться различно в зависимости от того, что стабилизируется системой автоматического регулирования — частота вращения ротора или подача топлива.
В системах со стабилизацией частоты вращения (n = const) при повышении температуры наружного воздуха количество воздуха, подаваемого в камеру сгорания, а следовательно, и количество газов, поступающих в турбину, уменьшатся, мощность турбины и ее частота вращения снизятся, регулятор частоты вращения увеличит подачу топлива в камеру сгорания и повысит тем самым температуру газов, поступающих в ТВД. В этом случае при работе турбины на режимах, близких к номинальным, температура газов может превысить допустимую по условиям прочности.
При регулировании расхода топлива невозможно с необходимой точностью поддерживать на заданном уровне такие основные параметры, как частота вращения и температура газов, поэтому регулирование расхода топлива является косвенным методом регулирования.
При этом способе регулирования изменение температуры наружного воздуха будет оказывать значительно более слабое влияние на изменение температуры газов, зато изменение калорийности топлива при изменении фракционного состава или обводнении его резко скажется на изменении температуры газа и мощности турбины.
Кроме того, при косвенном регулировании система не реагирует на изменение вязкости топлива, закоксование форсунок и другие эксплуатационные условия.
В связи с этим в системы автоматического регулирования частоты вращения (или расхода топлива) газотурбинных установок в обязательном порядке включают дополнительные защитные устройства.
6.4. Системы защиты газотурбинной установки
В ГТУ применяют защиту по параметрам:
1) относящимся к области управления ГТУ. К этой группе относятся защитные устройства по частоте вращения роторов турбин, по температуре газа перед ТВД и противопомпажные устройства;
2) изменяющимся в эксплуатационных условиях; к ним относятся давление смазочного масла подшипников турбокомпрессора и главного редуктора, давление топлива после топливоподкачивающего насоса, давление рабочей среды в системе регулирования, осевой сдвиг ротора.
Защитные устройства по принципу действия делятся на ограничительные, которые уменьшают подачу топлива при достижении защищаемым параметром предельного значения, и предельные, которые либо полностью прекращают подачу топлива, либо переводят ГТУ на холостой ход.
Как правило, защитные устройства воздействуют на регулятор расхода топлива, который и осуществляет уменьшение подачи топлива к форсункам. В качестве чувствительных элементов защитных устройств применяются в основном такие же, как и в системах автоматического регулирования. Исключение составляет противопомпажное устройство, которое предназначается для защиты от помпажа компрессора при работе на всех возможных режимах ГТУ.
Такая защита достигается за счет автоматического стравливания части воздуха из нагнетательного трубопровода компрессора в атмосферу либо обратно на всасывание на режимах работы, близких к неустойчивой области. В настоящее время применяют разнообразные схемы противопомпажных устройств, в которых воздушные клапаны сброса управляются регуляторами, работающими на различных принципах; эти схемы включают в себя иногда элементы логики. Одна из возможных схем противопомпажного устройства КВД приведена на рис. 82. На приведенной схеме устройство состоит из гибкой ленты, которая охватывает корпус компрессора в районе одной из промежуточных ступеней. Под лентой расположены отверстия, через которые (при их открытии) осуществляется стравливание воздуха. Подпружиненный сервомотор управляется через усилительное устройство системой логики, формирующей сигнал управления.
Защитное устройство от осевого сдвига выполняется обычно в виде струйного реле и является аналогичным рассмотренному в паровых турбинах (см. рис. 72).

Рис. 82. Схема противопомпажного устройства
Характерной особенностью газотурбинного двигателя как объекта регулирования частоты вращения ротора является большая инерционность. Поэтому в случае резкого увеличения подачи топлива в камеру сгорания при набросе нагрузки сгорание топлива некоторое время будет происходить при пониженном коэффициенте избытка воздуха, в результате чего температура газов значительно повысится и превзойдет допустимые пределы, а в компрессоре могут возникнуть помпажные явления. В связи с этим резкое увеличение подачи топлива в камеру сгорания является недопустимым.
Для обеспечения необходимого качества переходного процесса при набросе нагрузки в состав САР вводятся устройства приемистости. Приемистостью двигателя называется способность его к переходу от одного режима к другому.
С количественной стороны приемистость оценивается продолжительностью нормального перехода с режима малого хода до полного. Для обеспечения надлежащей приемистости, которая получается при оптимальном темпе изменения подачи топлива, в системы регулирования включают соответствующие автоматические устройства.
Наиболее целесообразным было бы автоматическое устройство программного либо ограничивающего типа, регулирующее температуру газа. Однако в связи с малой надежностью датчиков температуры, повышенной инерционностью, а также неравномерностью распределения температур в потоке газа перед турбиной прибегают к регулированию по косвенным параметрам либо осуществляют программное регулирование в функции времени. Схема устройства приемистости, выполненного в виде ограничителя нарастания давления, а, следовательно, и расхода топлива (ОНД), приведена на рис. 83. Ограничитель нарастания давления подключен к топливной магистрали высокого давления, подающей топливо от насоса к форсункам. При увеличении подачи топлива давление в топливной магистрали повысится, в результате чего нижний поршенек (ОНД) поднимется и сообщит топливную магистраль со сливом. В последующий момент топливо будет поступать также (через дроссельный клапан) в полость между поршеньками, в результате чего нижний поршенек будет опускаться вниз и перекрывать сливные окна. Давление и расход топлива через форсунки будут плавно увеличиваться. Продолжительность периода нарастания давления регулируется степенью открытия дроссельного клапана.

Рис. 83. Схема ограничителя нарастания давления
В качестве обобщения изложенного рассмотрим схему САР спаренной установки ГТУ-20 газотурбохода отечественной постройки «Парижская коммуна», изображенную на рис. 84.
На данной системе регулирования введены следующие обозначения:
1 — импеллер ТКНД; 2 — импеллер ТКВД; 3 — ограничительный регулятор частоты вращения ТКНД; 4 — всережимный регулятор частоты вращения ТКВД; 5 — преобразователь масло-воздух ТКВД; 6 — то же, ТКНД; 7 — блок коррекции по ускорению ТКНД; 8 — объединенный штурвал «винт-газ» в ЦПУ; 9 — следящий электропривод; 10 — кулачковый вал пульта управления в ЦПУ; 11 — пульт управления в рулевой рубке; 12 — клапан подачи воздуха из задержки перекладки; 13 — баллон системы задержки перекладки; 14 — рукоятка корректора шага; 15 — кулак задания шага (коноид); 16 — ограничитель шага ВРШ; 17 — сельсин-задатчик положения лопастей; 18 — рукоятка ручной коррекции; 19 — задатчик угловой скорости винта; 20, 22 — задатчики угловой скорости ТКВД; 21 — на ГТД второго борта; 23 — корректор топливоподачи; 24 — регулятор расхода топлива; 25 — распределительный клапан форсунок; 26 — форсунки; 27 — камера сгорания; 28 — ТКВД; 29 — ТКНД; 30 — механизм изменения шага; 31 — ВРШ.
Рассматриваемая САР имеет всережимный регулятор частоты вращения ТКВД и ограничительный ТКНД. Частота вращения ТКНД регулируется изменением шага гребного винта.
На валу 10 пульта управления установлены профилированные кулаки. Два из них воздействуют на пневмозадатчики газа 20 и 22, предназначенные для установления режима работы турбин правого и левого бортов. Рабочий воздух из пневмозадатчиков поступает в верхнюю полость мембранного устройства регулятора расхода топлива 24, который изменяет давление, а следовательно, и расход топлива перед форсунками 26. Одновременно воздух от пневмозадатчика поступает в верхнюю мембранную полость всережимного регулятора 4 ТКВД. Третий кулак воздействует на задатчик частоты вращения винта 19. В случае превышения максимальной частоты вращения винта ограничительный регулятор 3 воздействует на регулятор расхода, уменьшая подачу топлива.
Для улучшения динамических характеристик в регуляторе 4 введено дополнительное воздействие по производной, которое конструктивно осуществлено следующим образом.
Воздух, выходящий из преобразователя 5, изменяет свое давление соответственно частоте вращения ротора турбокомпрессора. В регулятор частоты вращения 4 из преобразователя 5 воздух поступает по двум каналам — непосредственно и через дроссельный клапан с емкостью. Комбинация емкости и дросселя в переходном режиме создает сигнал, пропорциональный производной от изменения давления или частоты вращения ротора. Управление установкой может осуществляться либо из ЦПУ при помощи штурвала 8, либо с пульта 11 из рулевой рубки.

Рис. 85. Схема пульта управления ГТУ
В общем случае посты управления ГТУ выполняются в виде пульта и содержат группу панелей (рис. 85):
панель управления, на которой смонтированы рукоятки управления режимами работы ГТУ и обслуживающими ее механизмами (панель А);
панель сигнализации, на которой изображены мнемосхемы установки и расположены сигнальные лампы (панель Б);
Лекция "1 Методика преподавания русского языка как наука" также может быть Вам полезна.
панель контрольно-измерительных приборов (панель В).
Пульт управления может включать в себя также ряд специальных автоматических устройств, таких, как системы управления пуском ГТУ, системы управления реверсом и др. Описание этих устройств приводится в специальной литературе.
Вопросы для самоконтроля:
- Назвать основные характеристики газотурбинных установок (ГТУ).
- Как осуществляется регулирование температуры газа в ГТУ?
- По каким параметрам применяют защиту в ГТУ?
Литература [6, 8].


Рис. 84. Система регулирования ГТУ-20.























