Фаршемешалки
8.3 Фаршемешалки
Фаршемешалки применяют для посола и перемешивания различных видов и сортов мясосырья с посолочными ингредиентами, для вымешивания мясных фаршей при производстве при производстве колбасных, ветчинных изделий, котлет, для смешивания компонентов фарша и мясосырья, предназначенного для обработки на дальнейшей операции – измельчении и др.
Фаршемешалки – машины (механизмы) периодического действия, имеющие принципиально схожее устройство. Периодичность действия объясняется их универсальностью, большим диапазоном производительности, возможностью обеспечения необходимой продолжительности процесса. Основными узлами фаршемешалок являются месильное корыто или дежа, внутри которой установлены перемешивающие органы, вращающиеся от электропривода. Перемешивающие органы выполняются шнекового, спиралеобразного, лопаточного типа, с лопастями
-образной формы и с комбинированными рабочими органами.
Применяемые на предприятиях общественного питания фаршемешалки выполняются однолопастными (одновальными), как правило, это сменные механизмы с дежой небольшой ёмкости (
), или двухлопастные (двухвальные) имеющие вместимость дежи от
и выше. Второй тип фаршемешалок применяется в специализированных цехах. В одновальных фаршемешалках применяются рабочие органы лопаточного типа, причём лопатки расположены под углом относительно оси вращения вала.
Фаршемешалка МС8-150 (рисунок 8.5) состоит из цилиндрической пустотелой рабочей камеры 3 и рабочего вала. В верхней части рабочей камеры укреплена загрузочная воронка с предохранительной крестовиной 5, предотвращающей травмирование рук обслуживающего персонала. Одна торцевая сторона камеры плотно закрыта крышкой 2 с сегментным разгрузочным отверстием с заслонкой 1 и рукояткой. С другого торца к камере прикреплён хвостовик 6, с помощью которого механизм присоединяется к универсальному приводу. Внутри рабочей камеры установлен рабочий вал с винтовыми лопастями 4, расположенными под углом
к оси вала. Число лопастей на валу различно – от трёх до пяти. Расположение лопастей под острым углом к оси вращения способствует равномерному перемешиванию котлетной массы, насыщению её воздухом и перемещению к разгрузочному отверстию. Вал вращается в чугунных втулках, расположенных в крышке и в опоре хвостовика.
По окончании процесса перемешивания заслонка поворачивается, отверстие открывается, и готовый продукт самотёком выгружается.
|
|
| Рисунок 8.5. – Фаршемешалка МС8-150: 1 – заслонка; 2 – крышка; 3 – рабочая камера; 4 – лопасти; 5 – предохранительная крестовина; 6 – хвостовик |
Рекомендуемые материалы
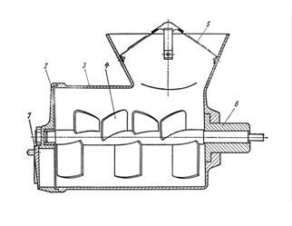
Фаршемешалка К6-ФММ-150 (рисунок 8.6) геометрической ёмкостью дежи
предназначена для смешивания различных видов фаршей и всевозможных компонентов при производстве колбасных изделий.
|
|
| Рисунок 8.6 – Фаршемешалка К6-ФММ-150: 1 – рама; 2 – заслонка; 3 – шнеки; 4 – предохранительная крышка; 5 – дежа; 6 – редуктор; 7 – клиноременная передача; 8 – электродвигатель |
Фаршемешалка состоит из рамы 1, на которой установлена дежа 5, а внутри установлен привод, включающий в себя электродвигатель 8, клиноременную передачу 7 и редуктор 6. На двух параллельных выходных валах редуктора крепятся два спиральных шнека 3. На торцевой стенке дежи имеется окно для выгрузки продукта, закрываемое откидной заслонкой 2. Сверху дежа закрыта предохранительной решёткой 4, снабжённой блокировкой, автоматически отключающей привод мешалки при неплотно закрытом ограждении.
Рабочий цикл мешалки состоит в следующем. В дежу загружаются мясной фарш и ингредиенты, включается привод перемешивающих шнеков. Продолжительность процесса перемешивания –
. Управление работой мешалки осуществляется с пульта. Для интенсификации процесса перемешивания применяют реверсирование вращения шнеков.
Готовый фарш выгружают при левом вращении перемешивающих шнеков через окно в торцовой стенке дежи в напольную тележку.
К данному классу машин относятся также барабанные механизмы для перемешивания компонентов для салатов и винегретов.
Смеситель Р3-КГА предназначен для перемешивания резаных овощей, а также (при необходимости) разогревания их в процессе приготовления салатов и обеденных блюд.
Смеситель представляет собой станину, на которой посредством двух стальных полых цапф в подшипниках скольжения закреплён барабан в форме куба. Такая форма барабана обеспечивает минимальное время перемешивания, которое происходит при вращении барабана за счёт сил тяжести, действующих на частицы продуктов и их пересыпания в направлении граней и сторон куба. Внутри барабана находится полая трубчатая ось, к которой в отверстиях цапф крепятся концевики входного и выходного паропроводов. При перемешивании разогретых продуктов во избежание их остывания осуществляется продувка пара через полую ось.
Механизм МС25-200 для перемешивания салатов и винегретов (рисунок 8. 7) состоит из червячного редуктора 1 и бачка 4. Редуктор закрыт алюминиевым корпусом. Опорой валов червячного редуктора служат втулки, уплотнённые манжетами. К торцу корпуса редуктора прикреплён хвостовик, которым механизм присоединяется к горловине универсального привода. На хвостовике имеется кольцевая канавка, предотвращающая осевое перемещение механизма во время выгрузки продукта. Для фиксации механизма в рабочем положении на кольцевой канавке высверлены два отверстия, в которые входят концы винтов.
Бачок выполненный из нержавеющей стали, представляет собой вращающуюся рабочую камеру, внутри которой приварены рёбра 5, способствующие равномерному перемешиванию продукта. К дну бачка приварен фланец 6, который одевается на три пальца фланца 2, укреплённого штифтом на выходном конце вала редуктора.
Механизм закрепляют на универсальном приводе под углом
, загружают нарезанными овощами и включают электродвигатель привода. Процесс перемешивания длится
. Увеличение времени перемешивания может привести к сегрегации (группированию частиц по форме и размерам в исходное положение).
|
|
| Рисунок 8.7 – Механизм МС25-200 для перемешивания салатов и винегретов: 1 – червячный редуктор; 2, 6 – фланцы; 3 – палец; 4 – бачок-барабан; 5 – рёбра |
Для выгрузки продукта привод выключают, отвинчивают стопорные винты и поворачивают бачок отверстием вниз (на
). Готовый продукт ссыпается в подставленную тару.
Частоту вращения лопастей одновальной фаршемешалки выбирают из условия, что центробежная сила продукта не должна превышать его веса:
|
| 8.25 |
Решая неравенство относительно
, и зная, что
имеем
|
| 8.26 |
где
– частота вращения лопастей,
;
– радиус вращения лопастей,
;
– коэффициент проскальзывания частиц продукта относительно лопастей,
.
Производительность фаршемешалок и смесителей периодического действия определяется по формуле:
|
| 8.27 |
где
– масса продукта загруженного в дежу,
;
– время полного цикла обработки продукта,
;
– коэффициент заполнения дежи,
;
– плотность перемешиваемого продукта,
;
– вместимость дежи,
;
– время, необходимое для равномерного перемешивания всех компонентов,
;
– время, необходимое для загрузки и разгрузки камеры продуктами,
;
, для мешалок периодического действия
.
Объём рабочей камеры однолопастной фаршемешалки
|
| 8.28 |
где
– расстояние между внутренней поверхностью рабочей камеры и лопасти,
,
;
– длина рабочей камеры,
/
Геометрический объём дежи двухлопастной фаршемешалки (рисунок 8.8) можно определить, рассматривая объём дежи, как образуемый объёмами двух полуцилиндров
и
и параллелепипеда
:
|
|
| Рисунок 8.8 – Геометрическая модель двухлопастной дежи |
|
| 8.29 |
Время обработки порции фарша массой
составляет
.
Мощность электродвигателя однолопастной фаршемешалки
|
| 8.30 |
где
– суммарное сопротивление, оказываемое средой движущейся лопасти,
;
– скорость поступательного движения продукта вдоль оси вала лопасти,
;
– коэффициент запаса мощности,
;
– КПД передаточного механизма.
При перемешивании мясного фарша со скоростью движения лопасти в пределах от
до
сила
может быть определена по формуле:
|
| 8.31 |
где
– условное начальное сопротивление,
, для фаршей варёных колбас, котлетного фарша
, для фаршей полукопчёных колбас
;
– площадь лобовой поверхности лопасти,
;
– количество лопастей, установленных в одном ряду,
, обычно 
Площадь лобовой поверхности лопасти
|
| 8.32 |
где
– площадь поверхности месильной лопасти,
;
– угол между лопастью и осью вращения вала месильного винта (вала),
, для однолопастных фаршемешалок
, для двухлопастных с лопастями шнекового типа
.
Средняя скорость поступательного движения продукта вдоль оси мешалки определяется по формуле:
|
| 8.33 |
где
– скорость осевого смещения продукта одной лопастью,
;
– коэффициент, учитывающий периодичность смещения продукта вдоль оси мешалки.
Скорость осевого смещения продукта одной лопастью определяется с учётом трения продукта о рабочие органы по формуле:
|
| 8.34 |
где
– коэффициент трения,
.
Коэффициент
определяется отношением:
|
| 8.35 |
где
– ширина лопасти,
, обычно равна радиусу вращения лопасти
.
Мощность электродвигателя двухвальной фаршемешалки
|
| 8.36 |
где
,
– сопротивление, испытываемое ведущей и ведомой месильными лопастями,
;
,
– окружные лопасти месильных лопастей по среднему диаметру,
;
– коэффициент запаса мощности,
.
Сопротивление, испытываемое лопастью, в общем случае
|
| 8.37 |
где
– удельное сопротивление, испытываемое единицей лобовой поверхности лопасти,
.
По данным А. А. Лапшина при перемешивании фарша
|
| 8.38 |
где
– параметр, зависящий от вида фарша,
, для фаршей: варёных колбас
, полукопчёных колбас
.
Окружная скорость месильной лопасти шнекового типа по среднему диаметру
|
| 8.39 |
где
– средний диаметр месильной лопасти,
:
|
| 8.40 |
где
,
– соответственно наружный и внутренний диаметры месильной лопасти шнекового типа,
(рисунок 8.9).
| Рекомендуем посмотреть лекцию "29 - Локальные вычислительные сети".
|
| Рисунок 8.9 – Расчётная схема лопасти |
Площадь поверхности лопасти мешалки шнекового типа
|
| 8.41 |
где
– длина месильной лопасти,
.





.
,
,
,
.
,
,
,
,
,
,
,
,
,
,
,
,


















