Особые виды рельсовых цепей
Тема лекции 13
Особые виды рельсовых цепей
13.1. Рельсовые цепи без изолирующих стыков системы ЦАБ
Надежность функционирования РЦ в большой степени зависит от исправного состояния изолирующих стыков. На основании исследований в эксплуатационных условиях установлено, что из общего числа отказов в работе рельсовых цепей повреждения изолирующих стыков составляют примерно 50%. На отечественных и некоторых зарубежных железных дорогах разрабатываются или уже находятся на стадии испытаний новые типы изолирующих стыков.
Перспективными с точки зрения качественного улучшения эксплуатационно-технических показателей являются РЦ без изолирующих стыков, особенно в связи с широким внедрением цельносварных рельсовых плетей большой длины (бесстыковой путь), где установка изолирующих стыков становится затруднительной.
В структурной схеме РЦ автоблокировки с централизованным размещением аппаратуры (ЦАБ) (рис. 13.1) отсутствуют путевые светофоры. Движение поездов предусматривается регулировать по сигналам АЛС. Всю аппаратуру размещают на центральных постах (постах ЭЦ) станций, ограничивающих перегон протяженностью до 20 км. Для питания РЦ без изолирующих стыков используют генераторы Г1 и Г2 с сигнальными частотами f1 (425 Гц) и f2 (475 Гц). С целью повышения защищенности сигналов от влияния помех тягового тока, в том числе при импульсном тиристорном регулировании управления тяговыми электродвигателями, от токов центрального электроснабжения вагонов пассажирских поездов и от других источников несущие частоты 425 и 475 Гц модулированы низкими частотами — соответственно 8 и 12 Гц. Для возбуждения путевого реле необходимо получить сигнал несущей частоты определенного уровня, содержащий заданную частоту модуляции (8 или 12 Гц).
Рекомендуемые материалы

Рис. 13.1. Структурная схема рельсовой цепи автоблокировки с центральным размещением аппаратуры
Каждый генератор питает две смежные цепи длиной 1000 м, расположенные по обе стороны от точки его подключения к рельсовой линии. Генераторы Г1 и Г2 чередуются в пределах всего перегона. В середине расстояния между генераторами включают два селективных приемника П1 и П2, один из которых воспринимает сигналы с частотой f1, в другой — f2. Всю аппаратуру, за исключением путевых трансформаторов ПТ (на линиях с электротягой — дроссель-трансформаторов), размещают на прилегающих к перегонам станциях и соединяют с путевыми трансформаторами посредством кабельных линий.
Исключение изолирующих стыков позволяет реализовать систему ЦАБ с минимальным числом жил кабеля. Так как две смежные цепи получают питание по одной паре сигнального кабеля и для подключения двух приемников смежных цепей используют также одну пару, то число пар сигнального кабеля определяют числом цепей для половины перегона; бесстыковые рельсовые цепи другой половины перегона подключают по кабелю, связанному с другой станцией. При средней длине перегона 10 км число рельсовых цепей составит 8; от каждой станции в сторону перегона потребуются 5 пар сигнального кабеля. По этим же парам в рельсы передают кодовые сигналы АЛС, при этом по мере приближения к середине перегона число жил кабеля уменьшается. Поэтому жильность кабеля для подключения бесстыковых рельсовых цепей перегона длиной 10 км составит 5 сигнальных пар.
Одна пара (две жилы) требуется для контроля состояния перегона и смены направления движения. Таким образом, общий расход сигнального кабеля при длине перегона до 10 км составляет 6 сигнальных пар.
В РЦ без изолирующих стыков требуется исключить влияние источников питания не только смежных цепей, но и от более удаленных источников. Например, приемник 5П1 (см. рис. 13.1) при свободном перегоне будет получать питание от источников питания всех остальных цепей перегона, расположенных как справа, так и слева от точки подключения приемника.
На основании расчетов и исследований бесстыковых рельсовых цепей установлено, что необходимо исключать влияние от трех ближайших рельсовых цепей, расположенных слева и справа от точки подключения приемника. В данном случае влияние на путевой приемник 5П1 с сигнальной частотой f1 исключается тем, что рельсовые цепи участков 4 и 3 питаются сигнальным током другой частоты f2, а в рельсовой цепи участка 2 источник питания удален на расстояние ее длины. Таким образом, приемник 5П1 отделен тремя рельсовыми цепями от генератора с той же частотой. Аналогично приемник 5П1 защищен и от смежных рельсовых цепей участков 6, 7 и 8, расположенных справа от точки его подключения.
При питании двух смежных рельсовых цепей от одного генератора (с середины) достигается защита приемников бесстыковых рельсовых цепей от смежных при использовании только двух несущих частот. Для исключения ложного срабатывания путевого приемника от рельсовой цепи соседнего пути при объединении рельсовых нитей двухпутного участка для другого пути применяют те же несущие сигнальные частоты 425 и 475 Гц, но с другими частотами модуляции. Несущая частота 425 Гц модулируется частотой 12, а несущая 475 Гц — частотой 8 Гц.
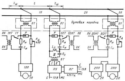
Для питания двух смежных рельсовых цепей применительно к участку с автономной тягой 1П и 2П установлен комплект передающих устройств (рис. 13.2). Генерирование амплитудно-модулированных колебаний осуществляется генератором ПГ с несущей частотой 425 Гц и частотой модуляции 8 Гц. Путевой усилитель ПУ усиливает сигналы, поступающие с выхода генератора ПГ, до уровня, необходимого для нормальной работы рельсовой цепи. С выходного трансформатора ВТ сигнал через фильтр по кабельной линии длиной до 10 км поступает на первичную обмотку путевого трансформатора с коэффициентом трансформации 40. Этим достигается согласование входного сопротивления кабеля с низким сопротивлением рельсовой линии. В качестве путевого фильтра включен резонансный контур из индуктивности катушки Zo и емкости конденсатора Со. Элементы фильтра размещены в кожухе реле НШ.

Рис. 13.2. Схема бесстыковых рельсовых цепей
Кодовые сигналы числовой системы АЛС передаются контактом трансмиттерного реле 1/2Т от кодового трансформатора 1/2КТ. Резистор Rи и конденсатор Си установлены для искрогашения на контакте трансмиттерного реле. Этот контур представляет собой низкое сопротивление для сигналов частотой 425 Гц и поэтому не оказывает влияния на ее работу.
Кодовые сигналы АЛС выбираются контактами путевых реле впереди лежащих РЦ в зависимости от установленного направления движения. Кодирование осуществляется с питающего и релейного концов. При смене направления движения переключаются только цепи кодирования (трансмиттерных реле).
Путевые приемники подключают к РЦ также посредством кабеля через путевые трансформаторы ПТ. Входы приемников смежных рельсовых цепей (2ПП и 3ПП) включают последовательно. Для выравнивания входных сопротивлений по концам рельсовой цепи и напряжений на входе приемников при различных длинах кабеля (от 0 до 10 км) на входах приемников включают регулируемые резисторы Rд, сопротивления которых устанавливают в зависимости от длины кабеля. При длине кабеля 10 км Rд=0, при длине кабеля lк сопротивление Rд=400—40 lк. Предельная длина рельсовой цепи 1000 м.
Одной из основных особенностей рельсовых цепей без изолирующих стыков является то, что ее шунтирование и смена кодового сигнала АЛС наступает не с момента вступления на нее поезда, а при приближении его к рельсовой цепи на некоторое расстояние lш (см. рис. 13.2). В этой точке кодовый сигнал АЛС, передаваемый с релейного конца рельсовой цепи 1П меняется на запрещающий, поэтому здесь необходимо обеспечить прием сигнала уже от впереди стоящей точки, т. е. с питающего конца рельсовой цепи 1П; кодовый сигнал АЛС с приемного конца рельсовой цепи 1П должен выключаться. Таким образом кодовые сигналы АЛС должны восприниматься на расстоянии:
Lалс = l + lш,
где l — длина рельсовой цепи.
Освобождение РЦ также будет фиксироваться не в момент освобождения последними скатами поезда точки подключения питающего трансформатора, а после удаления его на некоторое расстояние lш. Приближающиеся и удаляющиеся шунты (поезд) снижают напряжение на путевом приемнике. Для обеспечения нормальной работы рельсовой цепи в этом случае требуется увеличить напряжение на питающем конце, т. е. давать перегрузку путевому приемнику на значение коэффициента перегрузки:
,
где
— напряжение в начале рельсовой цепи для обеспечения нормальной работы при нахождении поезда на расстоянии lш от данной рельсовой цепи; Uн — напряжение в начале рельсовой цепи без учета нахождения шунта на расстоянии lш.
Чем больше коэффициент перегрузки КП, тем меньше зона дополнительного шунтирования lш (рис. 13.3). При двойной перегрузке дополнительная зона шунтирования равна 50 м. Если же перегрузку не давать, то зона шунтирования будет примерно 250 м. Это означает, что при сигнальных частотах 425 и 475 Гц наличие поезда на расстоянии 250 м и более не влияет на условия работы рельсовой цепи. Практически Kп выбирают в пределах 1,1—1,2, а зона дополнительного шунтирования lш составляет при этом 120—150 м.

Рис. 13.3. График зависимости зоны шунтирования от перегрузки на
питающем конце
Рельсовые цепи без изолирующих стыков допускают наложение кодирования не только числовой, но и частотной системы АЛС для параллельной работы обеих систем, что необходимо при организации движения поездов по сигналам АЛС (без путевых светофоров).
13.2. Рельсовые цепи тональной частоты
В автоблокировке с тональными рельсовыми цепями применяют рельсовые цепи без изолирующих стыков. В этих рельсовых цепях в качестве сигнального тока используют ток тональной частоты. Основное преимущество таких р.ц. в отсутствии изолирующих стыков на перегоне, что значительно сокращает время на их обслуживание, обеспечивает лучшие условия для канализации обратного тягового тока. При таких р.ц. значительно сокращается количество ДТ. Рельсовые цепи тональной частоты в отличие от других типов рельсовых цепей могут устойчиво работать при пониженном сопротивлении балласта.
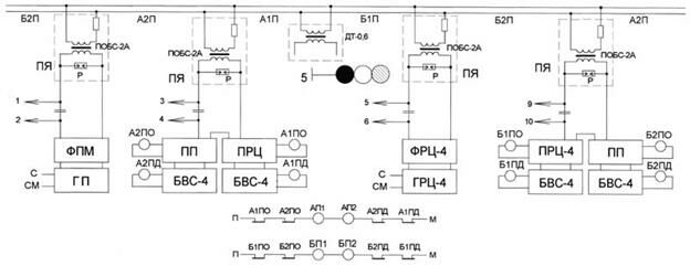
Используют два типа рельсовых цепей ТРЦ-3 и ТРЦ-4 (соответственно тональные рельсовые цепи третьего и четвертого поколения). Рельсовые цепи ТРЦ-3 используют сигнальный ток частотой 420 или 480 Гц и имеют максимальную длину 1000 м. ТРЦ-4 использует ток частотой 5000, 5500, 4500Гц их длина 100-300м (обычно 200 м). Поскольку длина блок-участка автоблокировки более 1000 м, то каждый блок-участок контролируется несколькими тональными рельсовыми цепями (обычно четырьмя). У проходных светофоров размещают две ТРЦ-4 имеющие зону шунтирования 15 м, остальная часть блок-участка контролируется одной или двумя ТРЦ-3 имеющими зону шунтирования 150 м.
Вся аппаратура тональных рельсовых цепей размещается в релейных шкафах сигнальных точек, в местах подключения аппаратуры располагают лишь согласующие элементы (трансформаторы ПОБС-2А) и элементы защиты (разрядники).

Рис. 13.4. Рельсовые цепи тональной частоты.
Рельсовые цепи ТРЦ-3 получают питание от генератора ГП (рис. 13.4) вырабатывающего сигнал на частоте 420 или 480 Гц, через фильтр питающего конца этот сигнал подается на трансформатор ПОБС-2А, согласующий сопротивление аппаратуры с сопротивлением рельсовой линии. Сигнал от генератора ГП при отсутствии поезда воспринимают два приемника ПП размещаемые по обе стороны от генератора на расстоянии не более 1000 м. На выходе приемника включены основные путевые реле А2ПО и Б2ПО. К приемнику через блок выпрямителей сопряжения БВС-4 подключают дублирующие реле А2ПД и Б2ПД.
Рельсовые цепи ТРЦ-4 питаются от генератора ГРЦ-4, располагаемого за проходным светофором на расстоянии 20 м. Сигнал с частотой 5000 или 4500 Гц подается в рельсовую линию через питающий фильтр ФРЦ-4. Принимают сигнал из линии два приемника ПРЦ-4, на выходе которых включены путевые реле А1ПО и Б1ПО. Через блок выпрямителей сопряжения получают питание дублирующие реле Б1ПД и А1ПД. Место включения приемников ТРЦ-3 и ТРЦ-4 обычно совмещают. При обесточивании одного из путевых или дублирующих реле блок-участок считается занятым.
На двухпутных участках для защиты от попадания сигнального тока одного пути на другой путь используют модуляцию сигнального тока. На одном пути сигнал модулируют частотой 8 Гц, на другом - 12 Гц.
Тональные рельсовые цепи кодируются на каждом блок-участке с нескольких точек (1-2, 3-4, 5-6, 9-10) по мере продвижения поезда. При этом к соответствующим точкам подается питание 50 Гц через контакты трансмиттерного реле (на схеме (рис. 13.4) не показано).
Дроссель трансформаторы в тональной автоблокировке используют только для выравнивания тягового тока в рельсах, для этого у проходного светофора устанавливают один дроссель-трансформатор, допускается подключать через этот ДТ питающий конец ТРЦ-4.
К недостаткам тональных рельсовых цепей (по сравнению с кодовыми рельсовыми цепями 25Гц) следует отнести большее количество аппаратуры и больший расход кабеля (особенно в ТРЦ с центральным размещением аппаратуры).
Наиболее перспективными сейчас считают тональные рельсовые цепи с центральным размещением аппаратуры. При таком расположении значительно сокращаются затраты на обслуживание р.ц.
Тональные рельсовые цепи используют также для контроля участков станций.
13.3. Реактивные рельсовые цепи
Информация в лекции "58 АБТ. Устройство, неисправности и методы их устранения" поможет Вам.
Реактивные рельсовые цепи представляют собой особый вид импульсных рельсовых цепей постоянного тока, в которых для работы импульсного путевого реле используется энергия, накопленная в индуктивном элементе за время передачи импульса от источника питания.
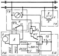
На питающем конце реактивной рельсовой цепи (рис. 13.5) устанавливают те же приборы, что и в обычной рельсовой цепи постоянного тока: выпрямитель ВАК-14, работающий в буферном режиме с аккумулятором АБН-72, маятниковый трансмиттер МТ, через контакт которого посылаются импульсы в реактивную рельсовую цепь, ограничитель Rо, в качестве которого используют резистор сопротивлением 0,6 Ом.

Рис. 13.5. Реактивная рельсовая цепь
Импульсное путевое реле подключают к рельсам, как правило, также на питающем конце, хотя по принципу работы реактивной рельсовой цепи его можно подключать к любой точке рельсовой линии. Для исключения срабатывания реле от прямых импульсов его подключают противоположно полярности путевой батареи. При передаче импульсов от источника питания через контакт маятникового трансмиттера МТ ток протекает по рельсовой линии и на другом конце реактивной рельсовой цепи через обмотку индуктивного элемента, в качестве которого используют вторичную обмотку трансформатора ПРТ-А или ПТ-25. В этом элементе запасается энергия в виде магнитного поля. При размыкании цепи в индуктивном элементе образуется импульс э.д.с. самоиндукции, значение которого определяется значением индуктивности и скоростью изменения тока в цепи после выключения. Значение э.д.с. самоиндукции по амплитуде во много раз превышает амплитуду прямых импульсов, однако их длительность во много раз короче. Импульсы э.д.с. самоиндукции имеют противоположную полярность по отношению к прямым (зарядным) импульсам. Они распространяются по реактивной рельсовой цепи в обратном направлении; от этих импульсов срабатывает импульсное путевое реле И (ИМШ1-2 или ИМШ1-1). Своим контактом это реле воздействует на дешифратор, на выходе которого возбуждается путевое реле П. Реактивные рельсовые цепи применяют ограничено для контроля участков приближения к станциям и переездам на линиях, не оборудованных автоблокировкой, а также для контроля занятости подъездных, карьерных и тупиковых путей. Эти рельсовые цепи не допускают наложения сигналов АЛСН.
Для исключения взаимного влияния смежные реактивные рельсовые цепи должны стыковаться реакторными концами. В других случаях исключение взаимного влияния достигается путем разделения их рельсовыми цепями постоянного тока.






















