Устройства графического ввода информации
1.6 Устройства графического ввода информации
Назначение и классификация устройств графического ввода информации. Устройства ввода графической информации характеризуются скоростью и точностью. Скорость определяется временем считывания и преобразования информации, а точность - способами отсчета текущих координат графического элемента и их реализацией.
Процесс ввода графической информации состоит из двух этапов: считывания и кодирования. Считывание графической информации сводится к определению координат графических элементов /точек, прямых, графических элементов/ в заданной системе координат. Кодирование считанной информации заключается в ее преобразовании в двоичный код по заранее установленным правилам с целью последующей обработки.
По степени автоматизации этапы считывания УВв графической информации (УВвГИ) делятся на автоматические, полуавтоматические и ручные.
Этап кодирования реализуется координатным, рецепторным и поэлементным методами кодирования.
Координатный метод заключается в том, что каждая точка графического примитива привязана к координатной сетке. После считывания он представляется массивом точек с координатами X и Y.
Рецепторный метод заключается в представлении графической информации в дискретном поле рецепторов в двоичном коде. Поле рецепторов - прямоугольная матрица размером m x n элементов, на которую проектируется графическое изображение. Элементы матрицы, на которое попало изображение, принимают значение кода "1", остальные - "0".
Метод поэлементного кодирования предполагает наличие описаний графических примитивов с помощью специальных графических языков.
Методы автоматического ввода графической информации. Автоматические УВвГИ строятся на оптических принципах считывания. В автоматических УВвГИ применяется матричный, следящий и сканирующий методы считывания.
Рекомендуемые материалы
Методы полуавтоматического ввода графической информации. Полуавтоматические УВвГИ получили наибольшее распространение в системах автоматизации проектирования в следствии высокой разрешающей способности. Данные устройства реализуются на электромеханическом, акустическом, электрическом принципах.
Измерение координат в УВвГИ электромеханического типа осуществляется с помощью преобразователей угловых или линейных перемещений /каретками Кх и Ку/, перемещающимися по координатам Х и У в поле документа. Акустический принцип ввода использует генерацию звуковых или ультразвуковых колебаний и изменение времени их распространения. Электрические принципы построения УВвГИ подразделяются на контактные, емкостные и индуктивные.
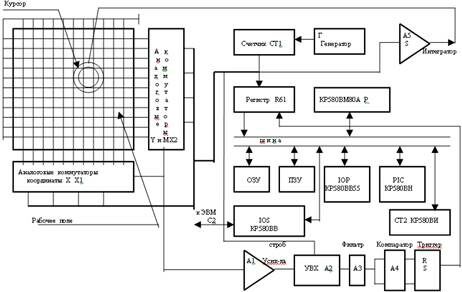
Работа устройства графического ввода. Устройство графического ввода предназначено для преобразования положения указателя /курсора/ в цифровой код и передачи его для последующей обработки на базе персональных ЭВМ (рисунок 1.32).

Люди также интересуются этой лекцией: Репродуктивные органы.
Рисунок 1.32 – Схема устройства графического ввода информации





















