Для студентов МГТУ им. Н.Э.Баумана по предмету Высокоточные системы навигации (ВСН)Оптимизация динамических характеристик и исследование устойчивости и автоколебаний гиросистемы с сопутствующей нелинейностьюОптимизация динамических характеристик и исследование устойчивости и автоколебаний гиросистемы с сопутствующей нелинейностью
4,90547510
2021-05-162021-05-16СтудИзба
Оптимизация динамических характеристик и исследование устойчивости и автоколебаний гиросистемы с сопутствующей нелинейностью
Описание
Расчетно-пояснительная записка к курсовой работе по курсу "Высокоточные системы навигации" по теме «Оптимизация динамических характеристик и исследование устойчивости и автоколебаний гиросистемы с сопутствующей нелинейностью.»
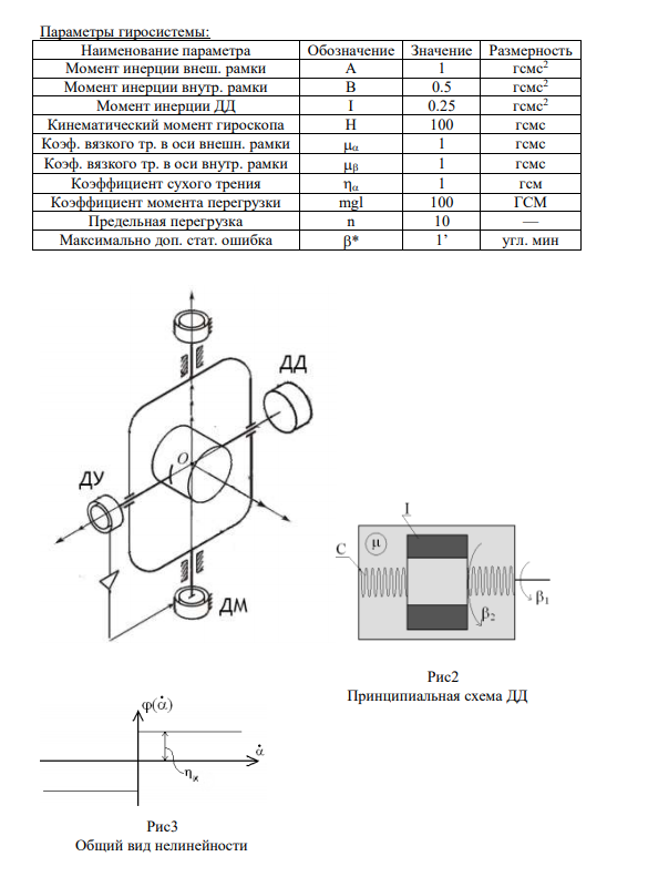
Задание на курсовую работу. Тема: Оптимизация динамических характеристик и исследование устойчивости и автоколебаний гиросистемы с сопутствующей нелинейностью. Содержание: Для гиросистемы с заданными кинематической схемой и параметрами механической части: 1. Записать уравнения движения с сопутствующей нелинейностью. 2. Для идеализированной линейной системы преобразовать исходные уравнения к векторно-матричной форме и записать выражения для передаточных функций гиросистемы: а) как объекта управления; б) как объекта стабилизации. 3. Осуществить оптимизацию параметров упруго-диссипативной связи динамических элементов гиросистемы по критерию minmax|W(j)|. 4. Построить АЧХ механической части гиросистемы с оптимальными параметрами * и С*. 5. Осуществить синтез цепи обратной связи из условия заданной статической точности и необходимых запасов устойчивости. Построить ЛЧХ разомкнутой цепи. 6. Построить переходный процесс по интересующим координатам при действии постоянного возмущающего момента. 7. Построить АЧХ замкнутой гиросистемы. 8. Построить структурную схему гиросистемы с сопутствующей нелинейностью и преобразовать её к одноконтурной, выделив нелинейный элемент и приведённую линейную часть. Записать выражение для передаточной функции приведённой линейной части. 9. Обосновать возможность применения метода гармонической линеаризации. Построить ЛАЧХ приведённой линейной части. 10. Осуществить гармоническую линеаризацию нелинейной системы. Записать условие амплитудно-фазового баланса. 11. Построить АФХ приведённой линейной части и инверсную характеристику гармонически-линеаризованного нелинейного элемента. 12. Определить параметры периодического решения. Исследовать их устойчивость. 13. Численным методом решить нелинейные уравнения, полученные в пункте №1. Записать переходный процесс. Определить параметры автоколебаний. 14. Сравнить результаты, полученные в пунктах №12,13. 15. Сделать выводы о влиянии сопутствующей нелинейности на устойчивость
![]()
Задание на курсовую работу. Тема: Оптимизация динамических характеристик и исследование устойчивости и автоколебаний гиросистемы с сопутствующей нелинейностью. Содержание: Для гиросистемы с заданными кинематической схемой и параметрами механической части: 1. Записать уравнения движения с сопутствующей нелинейностью. 2. Для идеализированной линейной системы преобразовать исходные уравнения к векторно-матричной форме и записать выражения для передаточных функций гиросистемы: а) как объекта управления; б) как объекта стабилизации. 3. Осуществить оптимизацию параметров упруго-диссипативной связи динамических элементов гиросистемы по критерию minmax|W(j)|. 4. Построить АЧХ механической части гиросистемы с оптимальными параметрами * и С*. 5. Осуществить синтез цепи обратной связи из условия заданной статической точности и необходимых запасов устойчивости. Построить ЛЧХ разомкнутой цепи. 6. Построить переходный процесс по интересующим координатам при действии постоянного возмущающего момента. 7. Построить АЧХ замкнутой гиросистемы. 8. Построить структурную схему гиросистемы с сопутствующей нелинейностью и преобразовать её к одноконтурной, выделив нелинейный элемент и приведённую линейную часть. Записать выражение для передаточной функции приведённой линейной части. 9. Обосновать возможность применения метода гармонической линеаризации. Построить ЛАЧХ приведённой линейной части. 10. Осуществить гармоническую линеаризацию нелинейной системы. Записать условие амплитудно-фазового баланса. 11. Построить АФХ приведённой линейной части и инверсную характеристику гармонически-линеаризованного нелинейного элемента. 12. Определить параметры периодического решения. Исследовать их устойчивость. 13. Численным методом решить нелинейные уравнения, полученные в пункте №1. Записать переходный процесс. Определить параметры автоколебаний. 14. Сравнить результаты, полученные в пунктах №12,13. 15. Сделать выводы о влиянии сопутствующей нелинейности на устойчивость




Характеристики курсовой работы
Учебное заведение
Семестр
Просмотров
22
Размер
604,13 Kb
Список файлов
Оптимизация динамических характеристик и исследование устойчивости и автоколебаний гиросистемы с сопутствующей нелинейностью.pdf

Друзья, спасибо за доверие! Если вам понравилась работа – поставьте 5⭐ и напишите отзыв. Это поможет другим студентам, а мне даст силы делать ещё больше качественных материалов для вас 🔥