Курсовая работа: Котел ПТВМ-30М
Описание
СОДЕРЖАНИЕ
ВВЕДЕНИЕ………………………………………………………………...4
ОБЩАЯ ЧАСТЬ
1.1Описание котла ПТВМ-30М…………………………………………6
1.2 Техническая характеристика котла ПТВМ-30М………………………7
1.3 Краткая характеристика топлива и способы его сжигания………………………………………………………………….8
1.4 Пароводогрейные котлы…………………………………………..12
2СПЕЦИАЛЬНАЯ ЧАСТЬ
2.1 Выбор исходных данных для расчета………………………………...14
2.2 Расчет объема воздуха и продуктов сгорания………………………..15
2.3 Расчет энтальпий продуктов сгорания………………………………..16
2.4 Тепловой баланс котлоагрегата……………………………………….19
2.5 Расчет теплообмена в топке………………………………… ………..26
2.6 Расчет теплообмена в конвективных поверхностях
нагрева…………………………………………………………………..32
ЗАКЛЮЧЕНИЕ
ЛИТЕРАТУРА
ВВЕДЕНИЕ
ОБЩАЯ ЧАСТЬ
1.1 Описание котла ПТВМ-30М
1.2 Техническая характеристика котла ПТВМ-30М
Таблица 1.2- Техническая характеристика котла
Наименование | Показатели | |
Номинальная теплопроизводительность, Гкал/ч | | |
Давление воды, кгс/см2: расчетное минимальное на выходе из котлоагрегата | ||
Температура воды, °С: на входе на выходе | ||
Расход воды, м3/ч | | |
Гидравлическое сопротивление, кгс/см2 | | |
| | | |
Температура уходящих газов, °С | | |
К. п. д. при номинальной нагрузке (брутто), % | | |
Расход топлива, м3/ч (кг/ч) | | |
Теплонапряжение топочного объема, 103 ккал/(м3-ч) | | |
Объем топочной камеры, м3 | | |
Поверхность нагрева, м2: радиационная конвективная | ||
Сопротивление газового тракта, кгс/м2 | | |
| | | |
Продолжение таблицы 1.2
Основные размеры, мм: глубина топочной камеры ширина топочной камеры . глубина конвективной шахты ширина конвективной шахты ширина по осям колонн глубина по осям колонн отметка верха обмуровки (оси коллектора) ширина габаритная длина габаритная высота габаритная Масса, т: наиболее тяжелого поставочного блока обмуровочных материалов котлоагрегата в объеме заводской поставки |
1.3Краткая характеристика топлива и способ его сжигания.
Таблица 1.3-Техническая характеристика горелки ДКЗ
Наименование | ПТВМ-30М |
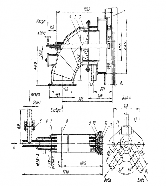
Рис.1.3-газомазутная горелка ДКЗ
а-горелка в сборе; б-мазутная форсунка с водяным охлаждением,1- рама горелки,2-короб горелки,3-регистр,4-мазутная форсунка,5-штуцер подачи мазута,6-топливоподающая труба,7-водяная рубашка,8-фланец,9-конус наружний,10-конус средний,11-головка,12-завихритель,13 и 14-штуцер подвода и отвода воды
2 СПЕЦИАЛЬНАЯ ЧАСТЬ
2.1 Выбор исходных данных для расчета
Исходные данные
Тип котла – ПТВМ-30М
Тип топки – камерная,
с горелками ДКЗ,
Теплопроизводительность номинальная – Q=201,868×106 кДЖ/ч = 54,63МВт.
Температура воды на входе в котел – t1=700С
Температура воды на выходе в котел – t2=1500С
Топливо – мазут сернистый М30
Температура уходящих газов - Jух=2700С
Температура дутьевого воздуха – tхв=300С
Расчетные характеристики топлива:
Wp=3,0%; Ар=0,1%; Ср=83,8%; ОР=0,5%; Нр=11,2%; Sp =1,4%; Np=-; Qрн=39,76Мдж/кг.
all_at_700
















