Главная » Учебные материалы » Теория механизмов и машин (ТММ) » Остальные учебные работы » МГТУ им. Н.Э.Баумана » 5 семестр » Номер 124 » Вариант В » 124В - Проектирование и исследование механизмов установки для укладки арматурной проволоки на конвейер
Для студентов МГТУ им. Н.Э.Баумана по предмету Теория механизмов и машин (ТММ)124В - Проектирование и исследование механизмов установки для укладки арматурной проволоки на конвейер124В - Проектирование и исследование механизмов установки для укладки арматурной проволоки на конвейер
5,0058
2021-09-20СтудИзба

Другое 124: 124В - Проектирование и исследование механизмов установки для укладки арматурной проволоки на конвейер вариант В

-61%

Описание

Введение
В ходе выполнения курсового проекта будет исследован четырехзвенный рычажный механизм, зубчатая передача, кулачковый механизм и планетарный зубчатый механизм. Для чего будут применены аналитические и графические методы расчета с использованием ЭВМ. Аналитические методы позволяют получить любую требуемую точность результата. Графические методы менее точны, но более наглядны, их применяют если нет возможности применить ЭВМ, а также для контроля правильности аналитического решения и при отладке программ для ЭВМ. При графическом изображении физических величин масштаб обозначается буквой  с индексом, указывающим, к какой величине он относится. Допущения принятые при выполнении курсового проекта: [1] 1. Независимо от особенностей конструктивного выполнения все шарнирные соединения считаются вращательными кинематическими парами, а все соединения, допускающие прямолинейное относительное движение звеньев – поступательными парами, поэтому все пары рычажного механизма считаются одноподвижными парами (пятого класса). 2. Звенья механизма представляют собой абсолютно твердые тела. 3. Зазоры в кинематических парах отсутствуют. 4. Трением в кинематических парах и вредным сопротивлением среды можно пренебречь. 5. Полезное сопротивление зависит лишь от положения механизма, либо постоянно. 6. При нулевой итерации момент, развиваемый двигателем, считается постоянным в течении всего периода установившегося движения 7. Массой и инертностью кулисных камней можно пренебречь.
1 Техническое задание
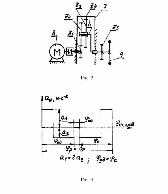
Установка предназначена для укладки арматурной проволоки на конвейер. Основным механизмом установки является четырехзвенный рычажный механизм (рис. 1), состоящий из кривошипа 1, коромысла 2, шатуна 2 и стойки 4. Сила F сопротивления при укладке приложена в точке Е коромысла 3, является постоянной величиной (рис. 2) и направлена по касательной к траектории этой точки. В крайних положениях DE’ и DE’’ коромысла 3 (рис. 1) сила F меняет свое направление. Проволока 5 укладывается между штырьками 6 конвейера (рис. 3), который движется перпендикулярно плоскости рычажного механизма. Привод установки состоит из двурядного планетарного редуктора 7 (число блоков сателлитов к=3) и электродвигателя 8 (рис. 4). На входном валу редуктора установлен маховик 9, обеспечивающий требуемый коэффициент неравномерности вращения кривошипа (δ= 1 20 ). Кулачковый механизм предназначен для отрезки секций уложенной проволоки. Кулачок 10 жестко связан с зубчатым колесом 7 и получает вращение от кривошипа 1 через зубчатую передачу, состоящую из колес z5, z6, z7 и z8 (модуль колес m=5мм). Закон движения толкателя 2 кулачкового механизма дан на рис. 5. Допустимый угол давления в кулочковом механизме [υ]=25˚. Примечание. Центры масс S2 и S3 звеньев 2 и 3 находятся в середине их длин. Моменты инерции этих звеньев относительно их центров масс определяют по формуле 2 12 i i is m l I   .

Файлы условия, демо

Характеристики учебной работы

Учебное заведение
Семестр
Номер задания
Вариант
Просмотров
314
Размер
2,96 Mb

Список файлов

Проект № 124В (Проектирование и исследование механизмов установки для укладки арматурной проволоки на конвейер).pdf
Картинка-подпись
Друзья, спасибо за доверие! Если вам понравилась работа – поставьте 5⭐ и напишите отзыв. Это поможет другим студентам, а мне даст силы делать ещё больше качественных материалов для вас 🔥

Комментарии

Нет комментариев
Стань первым, кто что-нибудь напишет!
Поделитесь ссылкой:
Цена: 999 390 руб.
Расширенная гарантия +3 недели гарантии, +10% цены
Рейтинг покупателей
5 из 5
Поделитесь ссылкой:
Сопутствующие материалы

Подобрали для Вас услуги

Свежие статьи
Популярно сейчас
Почему делать на заказ в разы дороже, чем купить готовую учебную работу на СтудИзбе? Наши учебные работы продаются каждый год, тогда как большинство заказов выполняются с нуля. Найдите подходящий учебный материал на СтудИзбе!
Ответы на популярные вопросы
Да! Наши авторы собирают и выкладывают те работы, которые сдаются в Вашем учебном заведении ежегодно и уже проверены преподавателями.
Да! У нас любой человек может выложить любую учебную работу и зарабатывать на её продажах! Но каждый учебный материал публикуется только после тщательной проверки администрацией.
Вернём деньги! А если быть более точными, то автору даётся немного времени на исправление, а если не исправит или выйдет время, то вернём деньги в полном объёме!
Да! На равне с готовыми студенческими работами у нас продаются услуги. Цены на услуги видны сразу, то есть Вам нужно только указать параметры и сразу можно оплачивать.
Отзывы студентов
Ставлю 10/10
Все нравится, очень удобный сайт, помогает в учебе. Кроме этого, можно заработать самому, выставляя готовые учебные материалы на продажу здесь. Рейтинги и отзывы на преподавателей очень помогают сориентироваться в начале нового семестра. Спасибо за такую функцию. Ставлю максимальную оценку.
Лучшая платформа для успешной сдачи сессии
Познакомился со СтудИзбой благодаря своему другу, очень нравится интерфейс, количество доступных файлов, цена, в общем, все прекрасно. Даже сам продаю какие-то свои работы.
Студизба ван лав ❤
Очень офигенный сайт для студентов. Много полезных учебных материалов. Пользуюсь студизбой с октября 2021 года. Серьёзных нареканий нет. Хотелось бы, что бы ввели подписочную модель и сделали материалы дешевле 300 рублей в рамках подписки бесплатными.
Отличный сайт
Лично меня всё устраивает - и покупка, и продажа; и цены, и возможность предпросмотра куска файла, и обилие бесплатных файлов (в подборках по авторам, читай, ВУЗам и факультетам). Есть определённые баги, но всё решаемо, да и администраторы реагируют в течение суток.
Маленький отзыв о большом помощнике!
Студизба спасает в те моменты, когда сроки горят, а работ накопилось достаточно. Довольно удобный сайт с простой навигацией и огромным количеством материалов.
Студ. Изба как крупнейший сборник работ для студентов
Тут дофига бывает всего полезного. Печально, что бывают предметы по которым даже одного бесплатного решения нет, но это скорее вопрос к студентам. В остальном всё здорово.
Спасательный островок
Если уже не успеваешь разобраться или застрял на каком-то задание поможет тебе быстро и недорого решить твою проблему.
Всё и так отлично
Всё очень удобно. Особенно круто, что есть система бонусов и можно выводить остатки денег. Очень много качественных бесплатных файлов.
Отзыв о системе "Студизба"
Отличная платформа для распространения работ, востребованных студентами. Хорошо налаженная и качественная работа сайта, огромная база заданий и аудитория.
Отличный помощник
Отличный сайт с кучей полезных файлов, позволяющий найти много методичек / учебников / отзывов о вузах и преподователях.
Отлично помогает студентам в любой момент для решения трудных и незамедлительных задач
Хотелось бы больше конкретной информации о преподавателях. А так в принципе хороший сайт, всегда им пользуюсь и ни разу не было желания прекратить. Хороший сайт для помощи студентам, удобный и приятный интерфейс. Из недостатков можно выделить только отсутствия небольшого количества файлов.
Спасибо за шикарный сайт
Великолепный сайт на котором студент за не большие деньги может найти помощь с дз, проектами курсовыми, лабораторными, а также узнать отзывы на преподавателей и бесплатно скачать пособия.
Популярные преподаватели
Добавляйте материалы
и зарабатывайте!
Продажи идут автоматически
6946
Авторов
на СтудИзбе
265
Средний доход
с одного платного файла
Обучение Подробнее
{user_main_secret_data}