97А Готовый курсовой проект по ТММ в компасе + маткад 5 семестр
Описание
Проектирование и исследование механизмов двухступенчатого воздушного компрессора.
Архив-Zip содержит программу расчета Maткад (1,2,4 листы), РПЗ (word), листы А1 в Компас 2022 (+pdf), расчет 3 листа по программе, а также ответы на часто задаваемые вопросы на защите.
Содержание готовой курсовой работы:
📌 Расчетно-пояснительная записка содержит проектирование и исследование механизма двухступенчатого воздушного компрессора определение действующих силовых факторов, исходя из закона его движения, расчет силовых факторов, действующих в кинематических парах механизма с учетом геометрии масс звеньев; расчет и исследование кулачкового механизма, редуктора; а также методику расчета эвольвентной зубчатой передачи и редуктора. (52 стр, 35 рис, 2 табл)
📌Лист 1: кинематический синтез механизма, определение параметров динамической модели и решение задачи динамики на холостом режиме.
📌Лист 2: кинетостатический силовой анализ механизма.
📌Лист 3: проектирование зубчатой передачи и планетарного редуктора.
📌Лист 4: проектирование кулачкового механизма.
💯 Курсовая сдана Бабашову на отл, все результаты расчетов проверены Люминарским.
📈 Все графики из Маткада перенесены в Компас при помощи Excel.
Содержание РПЗ:
- Аннотация.
- Техническое задание.
- 1. Определение закона движения механизма.
- 1.1. Метрический синтез механизма.
- 1.2. Кинематический синтез механизма.
- 1.2.1. Структурная формула механизма.
- 1.2.2. Определение функций положения механизма.
- 1.2.3. Определение аналоговых скоростей механизма.
- 1.3. Построение индикаторной диаграммы.
- 1.4. Решение задач динамики.
- 1.4.1. Определение приведенных моментов инерции.
- 1.4.2. Определение суммарного приведенного момента.
- 1.4.2. Приведенный момент сопротивления.
- 1.4.3. Определение кинетической энергии механизма.
- 1.4.4. Определение необходимого момента инерции маховых масс первой группы звеньев.
- 1.4.5. Определение угловой скорости и ускорения звена приведения.
- 1.4.6. Определение габаритных размеров и массы маховика.
- 2. Силовой расчёт механизма.
- 2.1. Определение аналоговых ускорений механизма.
- 2.2. Определение аналоговых ускорений механизма.
- 2.3. Определение сил тяжести, сил и моментов инерции.
- 2.4. Определение реакций в кинематических парах и движущего момента.
- 2.4.1. Рачет группы Ассура IIВВП (4,5)
- 2.4.2. Расчет группы Ассура IIВВП (2,3)
- 2.4.3. Расчет первичного механизма IB (0,1)
- 2.5. Проверка вычислений.
- 3. Проектирование зубчатой передачи и планетарного редуктора.
- 3.1. Проектирование зубчатой передачи.
- 3.1.1. Выбор коэффициентов смещения.
- 3.1.2. Определение параметров зубчатой передачи.
- 3.1.3. Качественные показатели цилиндрической эвольвентной передачи.
- 3.2. Станочное зацепление.
- 3.2.1. Процесс построения профиля зуба, изготавливаемого реечным инструментом.
- 3.2.2. Построение станочного зацепления.
- 3.3. Проектирование планетарного редуктора.
- 3.3.1. Синтез планетарного редуктора.
- 3.3.2. Проверка результатов синтеза.
- 3.3.3. Определение передаточного отношения графическим способом
- 4. Проектирование кулачкового механизма.
- 4.1 Определение кинематических передаточных функций кулачкового механизма
- 4.2 Построение диаграммы угла давления.
- 4.3 Определение основных размеров кулачкового механизма.
- 4.3.1 Определение радиуса начальной шайбы центрального профиля кулачка.
- 4.3.2 Определение радиуса ролика.
- 4.3.3 Определение центрального и конструктивного профилей кулачка.
- 4.4 Построение центрального и конструктивного профилей кулачка.
- Заключение.
- Список использованной литературы.
Техническое задание:
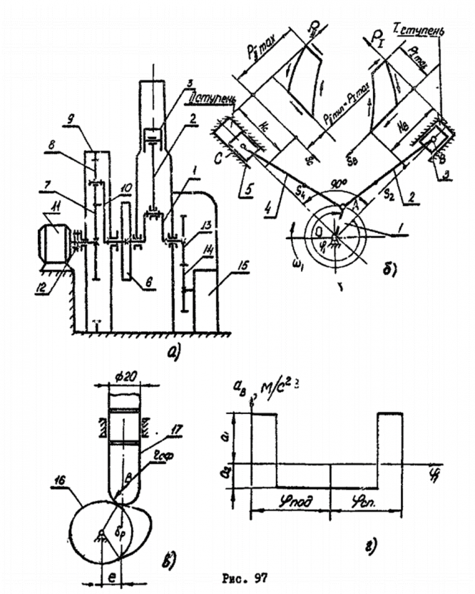
V-образный двухцилиндровый поршневой компрессор предназначен для сжатия воздуха и подачи его к пневматическим исполнительным механизмам. Кривошипно-ползунные механизмы (рис. 97б) 1,2,3 и 1,4,5 обоих цилиндров компрессора одинаковые. Диаметры цилиндров I и II ступени различны. Поршни I и II ступени связаны с помощью шатунов 2 и 4 с коленчатым валом 1. Процессы в цилиндрах протекают при различных значениях максимального давления (т .е. P_Imax≠P_IImax) . Кинематический и рабочий процессы, протекающие в цилиндре II ступени, смещены относительно процессов , протекающих в цилиндре I ступени, на 270°. Полный цикл работы компрессора соответствует одному обороту коленчатого вала. Для обеспечения необходимой равномерности движения на коленчатом валу компрессора устанавливается маховик 6 (рис. 97в).
Механизмы компрессора приводятся в движение электродвигателем II (рис. 97в) через муфту 12 и планетарный однорядный редуктор (7,8,9,10). Воздух поступает в цилиндр I ступени из атмосферы, пройдя предварительную очистку в фильтре, установленном на входе всасывающей полости. При движении поршня 3 ступени I вниз происходит всасывание воздуха в цилиндр. При движении поршня 3 вверх воздух сжимается до значения P_Imax и нагнетается в промежуточный ресивер для охлаждения. После охлаждения этот направляется во всасывающую полость цилиндра II ступени, где поршнем 5 сжимается до заданного давления P_IImax.
Изменение значений давления в цилиндрах ступеней I и II по пути движения поршней 3 и 5 характеризуется индикаторными диаграммами (рис. 97б), данные для построения которых приведены в таблице 2.
Смазка компрессора осуществляется масляным насосом 15 кулачкового типа (кулачок 16, толкатель 17, см. рис. 97в), расположенного в картере и приводимого в движение зубчатой передачей 13-14 (см. 97а). Закон изменения ускорения толкателя (плунжера насоса) показан на рис.97г.

Исходные данные:
|
Относительное перемещение S поршня (в долях хода H) | SBSC HB HC | 0 | 0.1 | 0.2 | 0.3 | 0.4 | 0.5 | 0.6 | 0.7 | 0.8 | 0.9 | 1 | |
Давление воздуха (в долях ) в цилиндре I ступени | Движение поршня вверх | | 1 | 1 | 1 | 0.58 | 0.40 | 0.25 | 0.20 | 0.13 | 0.09 | 0.03 | 0 |
Движение поршня вниз | 1 | 0.33 | 0 | 0 | 0 | 0 | 0 | 0 | 0 | 0 | 0 | ||
Давление воздуха (в долях ) в цилиндре II ступени | Движение поршня вверх | 1 | 1 | 1 | 0.75 | 0.67 | 0.58 | 0.52 | 0.47 | 0.41 | 0.35 | 0.3 | |
Движение поршня вниз | 1 | 0.52 | 0.3 | 0.3 | 0.3 | 0.3 | 0.3 | 0.3 | 0.3 | 0.3 | 0.3 |
Архив-Zip содержит программу расчета Maткад (1,2,4 листы), РПЗ (word), листы в Компас 2022 (+pdf), расчет 3 листа по программе, а также ответы на часто задаваемые вопросы на защите. Содержание готовой курсовой работы: 📌 Расчетно-пояснительная записка содержит проектирование и исследование механизма двухступенчатого воздушного компрессора определение действующих силовых факторов, исходя из закона его движения, расчет силовых факторов, действующих в кинематических парах механизма с учетом геометрии масс звеньев; расчет и исследование кулачкового механизма, редуктора; а также методику расчета эвольвентной зубчатой передачи и редуктора. (52 стр, 35 рис, 2 табл) 📌Лист 1: кинематический синтез механизма, определение параметров динамической модели и решение задачи динамики на холостом режиме.
📌Лист 2: кинетостатический силовой анализ механизма. 📌Лист 3: проектирование зубчатой передачи и планетарного редуктора. 📌Лист 4: проектирование кулачкового механизма. 💯 Курсовая сдана Бабашову на отл, все результаты расчетов проверены Люминарским. 📈 Все графики из Маткада перенесены в Компас при помощи Excel. Содержание РПЗ: Аннотация. Техническое задание. 1. Определение закона движения механизма. 1.1. Метрический синтез механизма. 1.2. Кинематический синтез механизма. 1.2.1. Структурная формула механизма. 1.2.2. Определение функций положения механизма. 1.2.3. Определение аналоговых скоростей механизма. 1.3. Построение индикаторной диаграммы.
1.4. Решение задач динамики. 1.4.1. Определение приведенных моментов инерции. 1.4.2. Определение суммарного приведенного момента. 1.4.2. Приведенный момент сопротивления. 1.4.3. Определение кинетической энергии механизма. 1.4.4. Определение необходимого момента инерции маховых масс первой группы звеньев. 1.4.5. Определение угловой скорости и ускорения звена приведения. 1.4.6. Определение габаритных размеров и массы маховика. 2. Силовой расчёт механизма. 2.1. Определение аналоговых ускорений механизма. 2.2. Определение аналоговых ускорений механизма. 2.3. Определение сил тяжести, сил и моментов инерции.
2.4. Определение реакций в кинематических парах и движущего момента. 2.4.1. Рачет группы Ассура IIВВП (4,5) 2.4.2. Расчет группы Ассура IIВВП (2,3) 2.4.3. Расчет первичного механизма IB (0,1) 2.5. Проверка вычислений. 3. Проектирование зубчатой передачи и планетарного редуктора. 3.1. Проектирование зубчатой передачи. 3.1.1. Выбор коэффициентов смещения. 3.1.2. Определение параметров зубчатой передачи. 3.1.3. Качественные показатели цилиндрической эвольвентной передачи. 3.2. Станочное зацепление. 3.2.1. Процесс построения профиля зуба, изготавливаемого реечным инструментом. 3.2.2. Построение станочного зацепления.
3.3. Проектирование планетарного редуктора. 3.3.1. Синтез планетарного редуктора. 3.3.2. Проверка результатов синтеза. 3.3.3. Определение передаточного отношения графическим способом 4. Проектирование кулачкового механизма. 4.1 Определение кинематических передаточных функций кулачкового механизма 4.2 Построение диаграммы угла давления. 4.3 Определение основных размеров кулачкового механизма. 4.3.1 Определение радиуса начальной шайбы центрального профиля кулачка. 4.3.2 Определение радиуса ролика. 4.3.3 Определение центрального и конструктивного профилей кулачка. 4.4 Построение центрального и конструктивного профилей кулачка.
Заключение. Список использованной литературы. Техническое задание: V-образный двухцилиндровый поршневой компрессор предназначен для сжатия воздуха и подачи его к пневматическим исполнительным механизмам. Кривошипно-ползунные механизмы (рис. 97б) 1,2,3 и 1,4,5 обоих цилиндров компрессора одинаковые. Диаметры цилиндров I и II ступени различны. Поршни I и II ступени связаны с помощью шатунов 2 и 4 с коленчатым валом 1. Процессы в цилиндрах протекают при различных значениях максимального давления (т .е. P_Imax≠P_IImax) . Кинематический и рабочий процессы, протекающие в цилиндре II ступени, смещены относительно процессов , протекающих в цилиндре I ступени, на 270°.
Полный цикл работы компрессора соответствует одному обороту коленчатого вала. Для обеспечения необходимой равномерности движения на коленчатом валу компрессора устанавливается маховик 6 (рис. 97в). Механизмы компрессора приводятся в движение электродвигателем II (рис. 97в) через муфту 12 и планетарный однорядный редуктор (7,8,9,10). Воздух поступает в цилиндр I ступени из атмосферы, пройдя предварительную очистку в фильтре, установленном на входе всасывающей полости. При движении поршня 3 ступени I вниз происходит всасывание воздуха в цилиндр. При движении поршня 3 вверх воздух сжимается до значения P_Imax и нагнетается в промежуточный ресивер для охлаждения.
После охлаждения этот направляется во всасывающую полость цилиндра II ступени, где поршнем 5 сжимается до заданного давления P_IImax. Изменение значений давления в цилиндрах ступеней I и II по пути движения поршней 3 и 5 характеризуется индикаторными диаграммами (рис. 97б), данные для построения которых приведены в таблице 2. Смазка компрессора осуществляется масляным насосом 15 кулачкового типа (кулачок 16, толкатель 17, см. рис. 97в), расположенного в картере и приводимого в движение зубчатой передачей 13-14 (см. 97а). Закон изменения ускорения толкателя (плунжера насоса) показан на рис.97г. Исходные данные: №Наименование параметраОбозначениеРазмерностьЗначение 1Средняя скорость поршня м/с4 2Частота вращения вала электродвигателя.Nэд1/с49 3Частота вращения вала компрессора.N11/c10 4Относительное положение центра масс шатуна 2. __0.3 5Относительное положение центра масс шатуна 4. __0.3 6Отношение длины шатуна 2 к длине кривошипа 1 __4 7Диаметр цилиндра I ступени м0.2 8Диаметр цилиндра II ступени м0.12 9Максимальное давление в цилиндре I ступени Мпа0.294 10Максимальное давление в цилиндре II ступени Мпа0.882 11Масса поршня 3m3кг1.0 12Масса поршня 5m5кг0.6 13Масса шатунов 2 и 4m2 m4кг0.8 14Момент инерции шатуна относительно оси центра масс 0.21 15Момент инерции ротора электродвигателя 0.19 16Момент инерции редуктора и коленчатого вала, приведённый к звену 1 0.6 17Коэффициент неравномерности вращения коленчатого вала 1 __0.05 18Угловая координата для силового расчёта град30 19Угол рабочего профиля кулачка град180 20Ход плунжера насоса (толкателя кулачкового механизма)hм0.02 21Максимально допустимый угол давления в кулачковом механизме град15 22.Эксцентриситет толкателяeм0.005 23 Отношение величин ускорений толкателя __2 24 Число зубьев колёс 1,2 __ __10 15 25 Модуль зубчатых колёс m мм 4 Значения давления в цилиндрах компрессора в долях максимального давления в зависимости от положения поршня.
Относительное перемещение S поршня (в долях хода H)SBSC HB HC00.10.20.30.40.50.60.70.80.91 Давление воздуха (в долях ) в цилиндре I ступениДвижение поршня вверх 1110.580.400.250.200.130.090.030 Движение поршня вниз10.33000000000 Давление воздуха (в долях ) в цилиндре II ступениДвижение поршня вверх 1110.750.670.580.520.470.410.350.3 Движение поршня вниз10.520.30.30.30.30.30.30.30.30.3 .