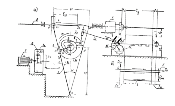
Для студентов МГТУ им. Н.Э.Баумана по предмету Теория механизмов и машин (ТММ)Проектирование и исследование механизмов поперечно-строгального станка с качающейся кулисойПроектирование и исследование механизмов поперечно-строгального станка с качающейся кулисой
4,94571
2023-03-032023-03-03СтудИзба
Курсовая работа 3: Проектирование и исследование механизмов поперечно-строгального станка с качающейся кулисой вариант А
Описание
В архиве содержится курсовая работа в полном объеме с маткадами для кулачка и для остальной части курсового проекта. РПЗ необходимо сверить с маткадами и листами, хотя на цифры в РПЗ никто и не смотрит.
!!Важно: Черная Л.А. дает закон движения кулачка произвольно, в крайнем случае при совпадении варианта вам придется изменить законы в маткаде. Ответственности за это я не несу.
![]()
!!Важно: Черная Л.А. дает закон движения кулачка произвольно, в крайнем случае при совпадении варианта вам придется изменить законы в маткаде. Ответственности за это я не несу.

Характеристики курсовой работы
Учебное заведение
Семестр
Номер задания
Вариант
Просмотров
31
Размер
3,38 Mb
Список файлов
1_list.cdw
2_list_NAZASchITU.cdw
3_list_1.cdw
Kulachek1_3_5.xmcd
RPZ_3_variant-_s_pravkami_1.docx
SAMYJ_POSLEDNIJ_4_LIST.cdw
маткад.xmcd
МГТУ им. Н.Э.Баумана



















