Для студентов МГТУ им. Н.Э.Баумана по предмету Теоретическая механикаПлоская и пространственная статикаПлоская и пространственная статика
5,00521
2023-05-282024-09-04СтудИзба
ДЗ 4: Плоская и пространственная статика вариант 14
-55%
Описание
Вариант 14 - ДЗ №4 - Плоская и пространственная статика
Зачтено на максимальный балл 💥 💥 💥
Спасибо за покупку 🥰🥰🥰
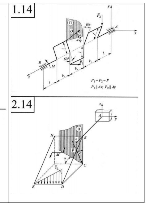
Плоская статика:Задача 1:











Характеристики домашнего задания
Предмет
Учебное заведение
Семестр
Номер задания
Вариант
Просмотров
313
Размер
19,67 Mb
Список файлов
Вариант 14 - ДЗ №4 - Плоская и пространственная статика.pdf

Друзья, спасибо за доверие! Если вам понравилась работа – поставьте 5⭐ и напишите отзыв. Это поможет другим студентам, а мне даст силы делать ещё больше качественных материалов для вас 🔥