Для студентов МГТУ им. Н.Э.Баумана по предмету Технология конструкционных материалов (ТКМ)2022г-Ответы РК- 3: Ответы на все вопросы для рубежного контроля 3 в виде тестирования - РК № 3 - Технология конструкционных материалов2022г-Ответы РК- 3: Ответы на все вопросы для рубежного контроля 3 в виде тестирования - РК № 3 - Технология конструкционных материалов
5,0054
2022-11-042024-11-27СтудИзба
2022г-Ответы РК- 3: Ответы на все вопросы для рубежного контроля 3 в виде тестирования - РК № 3 - Технология конструкционных материалов
-76%
Описание
Зачтено на максимальный балл
Список вопросов
1. Каким видом обработки давления наиболее рационально получатьзаготовку, изображенную на рисунке?

3. Какие заготовки и инструмент необходимо использовать при
изготовлении поковки массой 10 кг из стали 40Х при годовой программе 10
штук?
4. Как изменяется деформируемость сталей с увеличением содержания в
них углерода?
5. Каким из перечисленных видов обработки давлением возможно
получение профилей наиболее сложной конфигурации?
6. Какая из изображенных поковок является более технологичной при
изготовлении ее ковкой?

7. При получении винта холодной высадкой из стального прутка
твердость головки и стержня винта будет:
8. Каким видом обработки давления будет получена поковка для
изготовления рычага, изображенного на рисунке?

изображенное на рисунке?

11. Какой фактор является ограничивающим при выборе максимальной
температуры нагрева заготовки для горячей обработкой давлением?
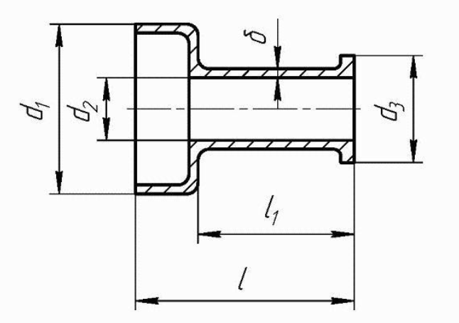
12. Каким видом обработки давлением будет изготовлена гильза,
изображенная на рисунке?

13.Какая деформация называется горячей?
14. С какой целью нагревают металл перед обработкой давлением?
15. Каким видом обработки давления изготавливают железнодорожные
рельсы?
16. Что является результатом рекристаллизации?
17. Что называется степенью вытяжки в листовой штамповке?
18. Почему объемная штамповка в закрытом штампе предпочтительна
перед объемной штамповкой в открытом штампе при изготовлении поковок
из малопластичных сплавов?
19.Каким видом обработки давления получают проволоку диаметром 0,5 мм?
20. Каким из перечисленных видов механической обработки давлением
может быть получена заготовка изображенной детали?

21.Какая из перечисленных сталей нагревается до наименьшей
температуры перед горячей обработкой давлением?
22. С какой целью при многократном волочении применяется
промежуточный отжиг?
23. На каких поверхностях поковки, изготовленной горячей объемной
штамповкой, назначаются большие по величине штамповочные уклоны?
24. В каком случае точность профиля будет выше?
25. Каким видом обработки давлением получают заготовки валков
прокатного стана массой 12т (см. рисунок)?

крюка подъемного крана массой 15 кг в крупносерийном производстве?
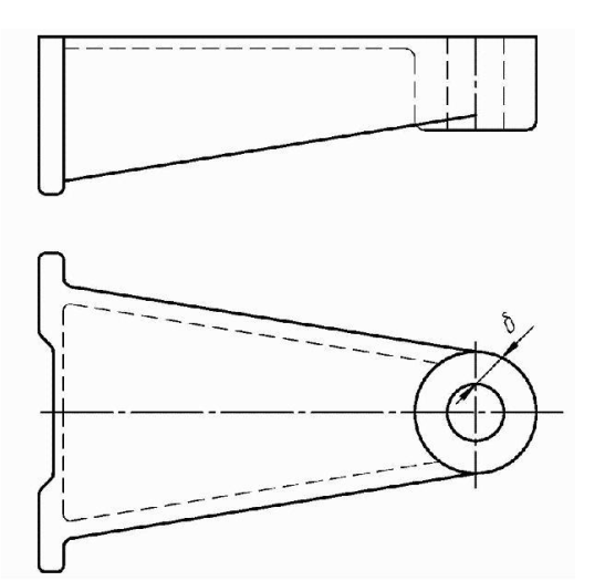
27. Каким из перечисленных видов обработки давлением может быть
получено изображенное изделие с постоянным по длине поперечным
сечением?

28. Каким видом обработки давлением получают заклепки, болты, винты,
гвозди, гайки?
29. Как называется операция листовой штамповки, при которой плоская
заготовка превращается в полое изделие?
30. Верхняя граница температур окончания обработки металлов давлением
обусловлена…
31. Нижняя граница температур окончания обработки металлов давлением
обусловлена…
32. Что происходит с заготовкой при волочении в процессе обработки
давлением?
33. Что называется высадкой при ковке?
34. Особенностью открытого штампа при горячей объемной штамповке
является наличие…
35. Под «облоем» понимают…
36. Что называется напуском в поковке?
37. Какой фактор способствует повышению жидкотекучести сплавов?
38. Какой способ литья обеспечивает получение отливок с меньшей
шероховатостью поверхности?
39. Какую форму имеют графитовые включения в высокопрочном чугуне?
40. Каким из указанных способов целесообразно изготовить отливку
массой 2,1 кг с минимальной толщиной стенки = 5 мм из серого чугуна
при годовой программе 100 шт.?

41. Почему конструкция литой заготовки на рис. 1 более технологична, чем
на рис. 2?

42. Почему конструкция литой заготовки на рис. 2 более технологична, чем
на рис. 1?

43. Какой из железоуглеродистых сплавов наиболее склонен к образованию
концентрированных усадочных раковин?
44. Каким способом литья получают высокоточные отливки из цветных
сплавов?
45. Каким из указанных способов целесообразно изготовить отливку
массой 10 кг с минимальной толщиной стенки =6 мм из серого чугуна
при годовой программе 500 шт.?

формы?
47. Как предупредить образование усадочных раковин при
изготовлении отливок из высокопрочного чугуна литьем в песчаные
формы?
48. Какие литейные свойства характерны для сплава с широким
интервалом кристаллизации?
49. Какими литейными свойствами обладает сплав с малым
интервалом кристаллизации?
50. Каким из указанных способов целесообразно изготовить отливку
массой 1,5кг из серого чугуна при годовой программе 1000 шт.?
51. Каким из указанных способов целесообразно изготовить отливку
массой 0,625 кг с минимальной толщиной стенки = 2 мм из стали 45Л
при годовой программе 5000 шт.?
52. Каким способом литья получают отливки из алюминиевого
сплава с минимальной толщиной стенки 1мм?
53. Что увеличивает жидкотекучесть при изготовлении отливок?
54. При каком способе литья затруднено изготовление стальных отливок?
55. Почему конструкция литой заготовки на рис. 2 более технологична,
чем на рис. 1?

57. Способность литейных сплавов уменьшать размеры при
затвердевании называется…
58. Какой способ литья применяют для получения биметаллических
изделий из композиций типа сталь-бронза, чугун-бронза, сталь-чугун и
др.?
59. Для какого способа литья не требуется литниковая система?
60. Какой способ литья позволяет получать стальные отливки сложной
конфигурации и точных размеров?
61. Для чего предназначена прибыль при изготовлении отливок?
62. Для чего предназначены опоки при изготовлении отливок?
Пример ответа (знак "+" - правильный выбор)

Характеристики ответов (шпаргалок) к КР
Учебное заведение
Номер задания
Просмотров
106
Качество
Идеальное компьютерное
Размер
663,64 Kb
Список файлов
Rubezhny_kontrol_3.pdf

Ваше удовлетворение является нашим приоритетом, если вы удовлетворены нами, пожалуйста, оставьте нам 5 ЗВЕЗД и позитивных комментариев. Спасибо большое!. Смотрите файлы в моем профиле, там есть много полезных !