Печатная плата и трассировка по электрической схеме Усовершенствованная аналоговая система радиоуправления - Схема приемника и декодера команд
Новинка
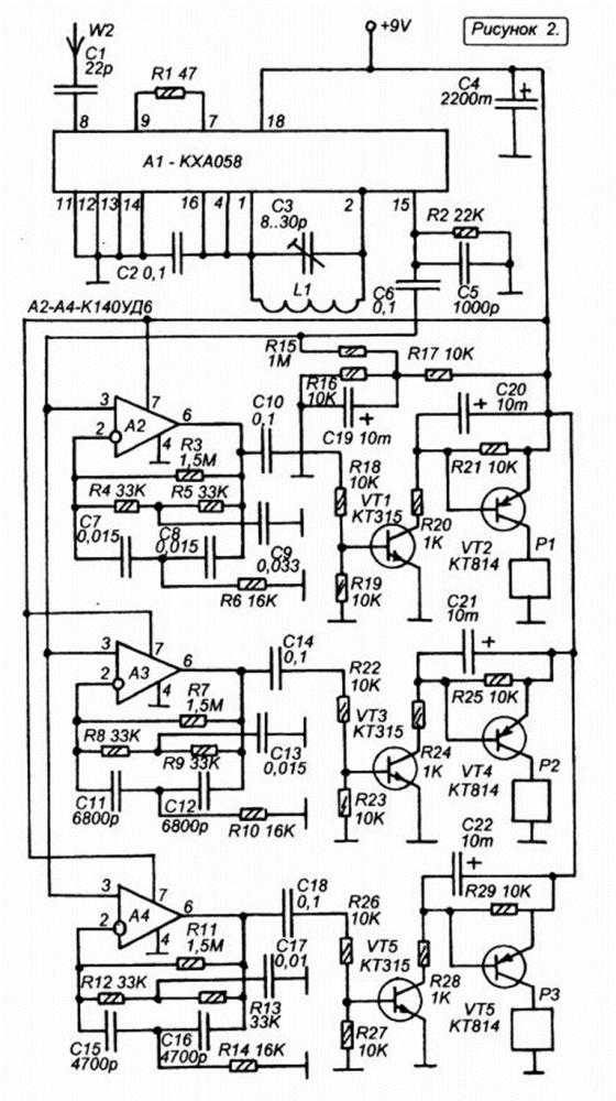
Описание
Сделать библиотеку компонентов (УГО и посадочные места) для принципиальной электрической схемы "Системы для усовершенствованной аналоговой системы радиоуправления - Схема приемника и декодера команд" на рисунке. Также собрать такую же схему в P-CAD,выполнить прямую и ортогональную трассировки ручным и автоматическим способами
Характеристики домашнего задания
Учебное заведение
Семестр
Вариант
Просмотров
4
Размер
3,73 Mb
Преподаватели
Список файлов
Отчёт.docx
Отчет.docx
Приемник.BAK
Приемник.ERR
Приемник.PCB
Приемник.PRF
Приемник.SCH
Приемник.STR
Приемник.net
Приемник_коорд_р.BAK
Приемник_коорд_р.PCB
Приемник_коорд_р.STR
Приемник_прям_р.PCB
Характеристики компонентов.docx
CAP_CERAM.BAK
CAP_CERAM.pat
CAP_ELECTR_9V.BAK
CAP_ELECTR_9V.pat
CAP_PODSTR.BAK
CAP_PODSTR.pat
DIP16.pat
DIP18.BAK
DIP18.pat
KT315.BAK
KT315.pat
LIBRARY_SOCKET[VILKA_L_2K].BAK
LIBRARY_SOCKET[VILKA_L_2K].Sym
LIBRARY_SOCKET[VILKA_R_2K].Sym
Library_capacitors.lib
Library_chip.lib
Library_resistance.lib
Library_semiconductors.lib
Комментарии
Нет комментариев
Стань первым, кто что-нибудь напишет!
МГТУ им. Н.Э.Баумана















