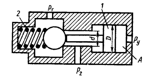
На рисунке представлена конструктивная схема гидрозамка, проходное сечение которого открывается при подаче в полость A управляющего потока жидкости с давлением ру. Определить, при каком минимальном значении ру толкатель поршня 1 сможет открыть шарико
Описание
На рисунке представлена конструктивная схема гидрозамка, проходное сечение которого открывается при подаче в полость A управляющего потока жидкости с давлением ру. Определить, при каком минимальном значении ру толкатель поршня 1 сможет открыть шариковый клапан, если известно: предварительное усилие пружины 2 F = 50 Н; D = 25 мм, d=15 мм, P1 = 0,5 МПа, P2 = 0,2 МПа. Силами трения пренебречь.

Характеристики решённой задачи
Номер задания
Вариант
Программы
Теги
Просмотров
11
Качество
Идеальное компьютерное
Размер
21,99 Kb
Список файлов
1-37.docx
Комментарии
Нет комментариев
Стань первым, кто что-нибудь напишет!
A45162























