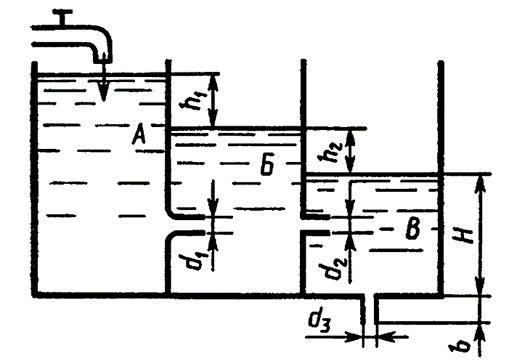
Для студентов по предмету Механика жидкости и газа (МЖГ или Гидравлика)Вода по трубе Т подается в резервуар A, откуда через сопло диаметром d1=8 мм перетекает в резервуар Б. Далее через внешний цилиндрический насадок d2=1Вода по трубе Т подается в резервуар A, откуда через сопло диаметром d1=8 мм перетекает в резервуар Б. Далее через внешний цилиндрический насадок d2=1
5,0058
2023-09-192024-09-20СтудИзба
Вода по трубе Т подается в резервуар A, откуда через сопло диаметром d1=8 мм перетекает в резервуар Б. Далее через внешний цилиндрический насадок d2=10 мм вода попадает в резервуар В и, наконец, вытекает в атмосферу через внешний цилиндрический насад
Описание
Вода по трубе Т подается в резервуар A, откуда через сопло диаметром d1=8 мм перетекает в резервуар Б. Далее через внешний цилиндрический насадок d2=10 мм вода попадает в резервуар В и, наконец, вытекает в атмосферу через внешний цилиндрический насадок d3=6 мм. При этом H=1,1 м; b=25 мм. Определить расход воды через систему и перепады уровней h1 и h2. Коэффициенты истечения принять: μ1=0,97, μ2=μ3=0,82.
Файлы условия, демо
Характеристики решённой задачи
Номер задания
Вариант
Программы
Теги
Просмотров
39
Качество
Идеальное компьютерное
Размер
83,19 Kb
Список файлов
3.18.docx
