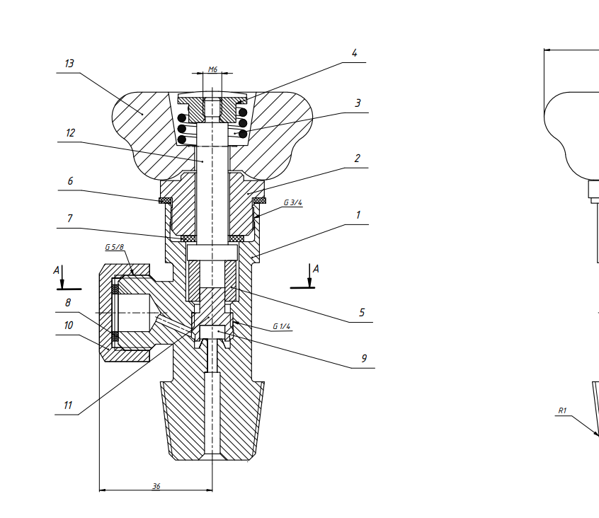
Для студентов МГТУ им. Н.Э.Баумана по предмету Инженерная графикаВентиль кислородного баллонаВентиль кислородного баллона
4,90547204
2021-05-062024-10-06СтудИзба
ДЗ Б: Вентиль кислородного баллона вариант 100
-55%
Описание
Характеристики домашнего задания
Предмет
Учебное заведение
Семестр
Номер задания
Вариант
Просмотров
342
Размер
90,92 Kb
Список файлов
Вентиль кислородного баллона.pdf

Друзья, спасибо за доверие! Если вам понравилась работа – поставьте 5⭐ и напишите отзыв. Это поможет другим студентам, а мне даст силы делать ещё больше качественных материалов для вас 🔥