Для студентов МГТУ им. Н.Э.Баумана по предмету Электротехника (ЭлТех)Цепи постоянного токаЦепи постоянного тока
5,0056
2023-10-122023-10-12СтудИзба
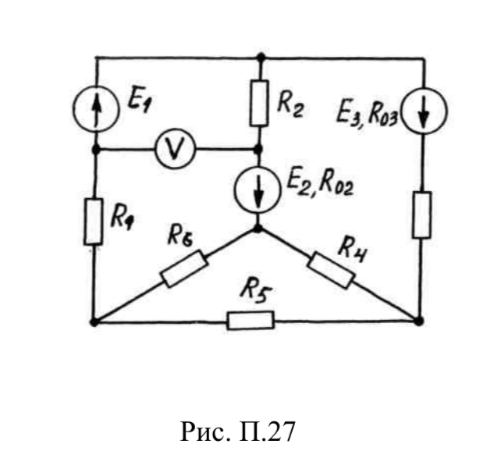
ДЗ 1: Цепи постоянного тока вариант 27
Описание
Файлы условия, демо
Характеристики домашнего задания
Предмет
Учебное заведение
Номер задания
Вариант
Программы
Просмотров
99
Качество
Идеальное компьютерное
Размер
850,77 Kb
Список файлов
ДЗ№1 элтех.pdf
Комментарии
Нет комментариев
Стань первым, кто что-нибудь напишет!

МГТУ им. Н.Э.Баумана
id392370719



















