Для студентов СПбПУ Петра Великого по предмету Детали машин (ДМ)Изучение конструкции червячного редуктораИзучение конструкции червячного редуктора
5,0053129
2022-11-122022-11-12СтудИзба
Лабораторная работа 1: Изучение конструкции червячного редуктора
Описание
Параметр | Обозначение | Значение, мм |
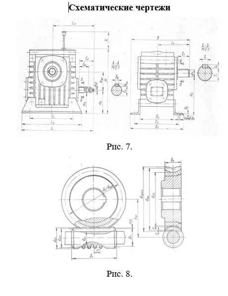
Габаритные размеры: - Длина - Ширина - Высота - Длина масломерной иглы | L B H b | 246 197 220 163 |
Присоединительные размеры быстроходного вала: - Диаметр - Длина - Вылеты - Ширина шпонки - Высота шпонки - Глубина паза | dδ l1δ lδ L3 bδ hδ tδ | 22 38 — 133 4 4 17 |
Присоединительные размеры быстроходного вала: - Диаметр - Длина - Вылет - Ширина шпонки - Высота шпонки - Глубина паза | dt lt Lt bt ht tt | 28 42 84 8 6 23 |
Вспомогательные размеры: | H2 H3 | 85 143 |
Расстояние от опорной поверхности редуктора: - До оси червяка - До оси колеса - Межосевое расстояние | H1 H1 + aw aw | 81 6 51 |
Толщина лапы | В4 | 4 |
Размеры опорной поверхности: | B2 B3 L2 | 127 200 220 |
Расстояние между отверстиями под фундаментные болты: | C1 C2 | 150 165 |
Диаметр отверстий под фундаментные болты: | d0 | 12 |

Измеряемые параметры червяка и червячного колеса
Параметр | Обозначение | Значение |
Число заходов червяка | z1 | 1 |
Шаг осевой, мм | p | 10 |
Длина нарезанной части червяка, мм | b1 | 53 |
Диаметр вершин червяка, мм | da1 | 42 |
Число зубьев червячного колеса | z2 | 31 |
Средний диаметр вершин колеса, мм | da2 | — |
Наибольший диаметр колеса | daM2 | 101 |
Ширина червячного колеса, мм | b2 | 28 |
Характеристики лабораторной работы
Предмет
Учебное заведение
Номер задания
Просмотров
7
Размер
201,12 Kb
Список файлов
1. Червячный редуктор (23335.1).docx

Если нужен другой вариант работы или отдельная задача из любой работы, пишите в комментарии