Теория (991945)
Текст из файла
Теория
-
Принцип действия и характеристики феррозондов. Сравнение с другими типами первичных преобразователей.
Феррозондовые преобразователи – это компонентные преобразователи, предназначенные для измерения либо напряженности магнитного поля, либо ее изменения в пространстве. Действие феррозондового преобразователя основано на нелинейности кривых намагничивания сердечников из магнитных материалов. В зависимости от взаимной ориентации векторов напряженности внешнего магнитного поля и магнитного поля возбуждения преобразователя различают феррозонды с продольным и поперечным возбуждением.
Феррозонд с продольным возбуждением состоит из двух идентичных полузондов, каждый из которых содержит цилиндрический сердечник из магнитомягкого материала с размещенными на нем двумя катушками.
Схема подключения обмоток в феррозонде-полемере:
Для полемера ВК включены встречно, питаются от источника переменного тока и создают в сердечниках переменное поле. ИК выполнены согласно, если включили возбуждающий ток и Ho=0, то выходной сигнал = 0. Характер изменения индукции в каждом сердечнике одинаков и значения индукций отличаются только знаком.
При воздействии постоянного магнитного поля Ho вследствие нелинейности кривой намагничивания значения индукции в стержнях становятся различными.
Постоянное внешнее поле Ho обуславливает появление второй гармоники в выходном сигнале феррозонда. Эта вторая гармоника и является информативной, по ней судят о напряженности магнитного поля.
Х
арактеристика преобразования для феррозонда-полемера:
Рабочим является близкий к линейному начальный участок, где действующее значение второй гармоники U2 пропорционально напряженности Ho.
Для оценки неоднородности постоянного во времени магнитного поля используется феррозонд-градиентометр, который по устройству аналогичен феррозонду-полемеру и отличается от него соединением обмотки:
В
ыходное напряжение рассчитывается по формуле
Амплитуда выходного сигнала пропорциональна степени неоднородности внешнего поля ΔH=Ho1-Ho2.
Феррозондовый преобразователь обладает высокой чувствительностью и является одним из наиболее точных первичных преобразователей. Может измерять постоянные магнитные поля и переменные, период изменения которых много меньше периода изменения возбуждающего поля.
Во всех случаях применения феррозондов необходимо выделять вторую гармонику выходного сигнала, т.к. именно она несет информацию о напряженности измеряемого поля. При этом первая гармоника должна быть подавлена.
-
Коэрцитиметрический метод контроля. Основные мешающие факторы.
Коэрцитиметр – магнитный структуроскоп, разбраковывающий объекты по значению коэрцитивной силы ОК. Даже в тех случаях, когда известна связь коэрцитивной силы с требуемым механическим параметром, необходимо устанавливать возможность ее использования при коэрцитиметрическом контроле конкретных деталей в условиях производства.
Наиболее широко в структуроскопии используется зависимость между твердостью сталей и их коэрцитивной силой. Корреляция между твердостью и коэрцитивной силой позволяет установить также корреляцию между коэрцитивной силой и температурой закалки и отпуска.
Широкое распространение получили коэрцитиметры с приставным П-образным электромагнитом, наиболее удобные для применения в производственных условиях. Действие коэрцитиметра основано на использовании корреляции между размагничивающим током, пропорциональным коэрцитивной силе, и определенными механическими свойствами ОК.
Коэрцитиметры предназначены для контроля отдельных участков крупногабаритных деталей. Основные мешающие факторы – изменение зазора между полюсами электромагнита и поверхностью ОК, а так же изменение толщины ОК, форма и шероховатость поверхности.
-
Особенности намагничивания объектов контроля в постоянном, переменном и импульсном магнитных полях.
Процесс намагничивания ферромагнитного материала есть изменение намагниченности вещества под воздействием внешнего магнитного поля. Насыщение ферромагнетика наступает, когда направление результирующего вектора намагниченности доменов приближается к направлению внешнего поля. В магнитном неразрушающем контроле намагничивание ОК проводят постоянным, переменным и импульсным полями.
При намагничивании постоянным полем в ОК создают постоянное магнитное поле напряженностью Hmax, достаточной для насыщения материала. Насыщение достигается, если уменьшение напряженности поля на 25% приводит к уменьшению остаточной индукции Br и коэрцитивной силы Hc не более чем на 1%. Намагничивание может быть осуществлено с помощью как постоянного магнита, так и электромагнита. Достоинства намагничивания в постоянном поле – его стабильность и отсутствие влияния вихревых токов. Следует отметить сложность построения выпрямительных устройств на большие токи. Поэтому в постоянном поле намагничивают только малогабаритные детали или отдельные участки деталей.
Намагничивание в переменных полях удобнее, так как с помощью трансформатора удается получить достаточно большой ток. Но в этом случае необходимо обеспечить выключение тока в момент достижения амплитудного значения, что технически не просто. (При выключении тока в произвольный момент времени требуемого намагничивания детали добиться не удается).
Импульсный метод намагничивания сочетает достоинства намагничивания с помощью постоянного и переменного полей, хотя технически он сложен. Чаще всего импульсное намагничивание осуществляется импульсом тока в результате разряда конденсатора большой емкости. Длительность и амплитуда импульса напряженности намагничивающего поля должны быть выбраны такими, чтобы при минимальных энергетических затратах и высокой производительности обеспечить техническое насыщение материала. Благодаря отсутствию магнитопровода импульсные установки имеют относительно небольшую массу и являются высокоэкономичными.
Следует иметь в виду, что вследствие влияния вихревых токов, возникающих в ОК во время действия импульса, намагничивание различных областей ОК проходит не одинаково. Поверхностные слои намагничиваются до насыщения, внутренние области оказываются недомагниченными.
-
Магнитная тощинометрия. Мешающие факторы. Сравнение с вихретоковыми толщиномерами.
Магнитные толщиномеры предназначены для измерения толщины защитных покрытий на ОК из ферромагнитных материалов либо для измерения толщины ферромагнитных листов.
По принципу действия магнитные толщиномеры можно разделить на три группы: магнитоотрывные, магнитостатические и индукционные.
Работа магнитоотрывных толщиномеров основана на измерении силы отрыва или притяжения постоянных магнитов и электромагнитов к ОК. Сила притяжения пропорциональна квадрату магнитной индукции Bo в зазоре между магнитом и поверхностью ферромагнитного материала. Индукция обратно пропорциональна зазору.
Действие толщиномеров магнитостатического типа основано на оценке изменения напряженности магнитного поля в цепи электромагнита или постоянного магнита при изменении зазора между ним и поверхностью ферромагнитного ОК, обусловленного наличием неферромагнитного покрытия. Рабочий магнитный поток Ф, создаваемый катушкой или постоянным магнитом, замыкается по магнитопроводу или по воздуху, объекту контроля с неферромагнитным покрытием, толщина которого измеряется. По величине магнитного потока судят о толщине неферромагнитного покрытия, а магнитный поток определяют измеряя магнитную индукцию с помощью первичного преобразователя.
Индукционные толщиномеры используют одностержневой магнитопровод и переменное магнитное поле, благодаря чему краевой эффект перестает проявляться. Ферритовый стержень расположен перпендикулярно поверхности ОК. На стержне размещены катушка, возбуждающая переменное электромагнитное поле, а так же две идентичные измерительные катушки, соединенные встречно.
В отсутствие ОК эдс измерительных катушек взаимно компенсируются. При установке преобразователя на поверхность ОК нарушается симметрия магнитного поля, созданного возбуждающей катушкой. С уменьшением толщины покрытия асимметрия магнитного поля возрастает и соответственно возрастает выходное напряжение преобразователя, несущее информацию о толщине покрытия.
Калибровка толщиномеров осуществляется с помощью стандартных контрольных образцов с различными сочетаниями материалов покрытия и основания.
Мешающие факторы:
- форма и шероховатость поверхности
- влияния краев детали.
- зазор между преобразователем и ОК
- магнитные свойства ОК
-
Магнитная проницаемость, определяемая для основной кривой намагничивания и петли гистерезиса.
Если ОК находится в постоянном магнитном поле относительная магнитная проницаемость по основной кривой намагничивания определяется так:
На линейном участке основной кривой намагничивания
В переменном магнитном поле при наличии постоянной составляющей поля для постоянной составляющей используют
, для переменной составляющей -
По петле гистерезиса относительную магнитную проницаемость можно примерно рассчитать
(где Br – остаточная индукция, Hc – коэрцитивная сила)
-
Магнитная дефектоскопия. Основные мешающие фкторы.
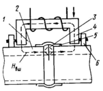
Магнитографический метод основан на записи магнитных полей рассеяния на магнитную ленту и последующем считывании и расшифровке этой записи. Для первого этапа магнитографического контроля необходимы устройство намагничивания и приспособления для крепления ленты на ОК, для второго – считывающие устройства.
Для записи магнитограмм сварного шва трубопровода последний намагничивают продольно. В сварном шве 1, соединяющем два участка трубопровода 2, наиболее опасен дефект типа «непровар» 3 в направлении сварного шва. Поскольку намагничивание осуществляется продольно приставным электромагнитом 4 (он опирается на ролики 6), напряженность внешнего намагничивающего поля ортогональна ожидаемому направлению дефектов и поля рассеяния от них будут наибольшими.
Вокруг трубы накладывается магнитная лента 5. Электромагнит перемещают с постоянной скоростью вдоль шва вокруг трубы, при этом поля рассеяния дефектов намагничивают участки ленты, находящиеся в области дефектов. Считывание осуществляется с помощью магнитографического дефектоскопа. В качестве индикаторов в магнитографических дефектоскопах используется электронно-лучевая трубка.
Основные мешающие факторы:
- форма и шероховатость поверхности
- зазор между преобразователем и ОК
- магнитные свойства ОК
-
Способ намагничивания и снятия информации при контроле трубопроводов.
Контроль параметров магистральных трубопроводов осуществляется с помощью внутритрубного снаряда.
Характеристики
Тип файла документ
Документы такого типа открываются такими программами, как Microsoft Office Word на компьютерах Windows, Apple Pages на компьютерах Mac, Open Office - бесплатная альтернатива на различных платформах, в том числе Linux. Наиболее простым и современным решением будут Google документы, так как открываются онлайн без скачивания прямо в браузере на любой платформе. Существуют российские качественные аналоги, например от Яндекса.
Будьте внимательны на мобильных устройствах, так как там используются упрощённый функционал даже в официальном приложении от Microsoft, поэтому для просмотра скачивайте PDF-версию. А если нужно редактировать файл, то используйте оригинальный файл.
Файлы такого типа обычно разбиты на страницы, а текст может быть форматированным (жирный, курсив, выбор шрифта, таблицы и т.п.), а также в него можно добавлять изображения. Формат идеально подходит для рефератов, докладов и РПЗ курсовых проектов, которые необходимо распечатать. Кстати перед печатью также сохраняйте файл в PDF, так как принтер может начудить со шрифтами.
















