Теория (991945), страница 2
Текст из файла (страница 2)
ОК – труба либо бесшовная, либо продольно шовная или спиральношовная.
Методы контроля – магнитный или ультразвуковой. Магнитный метод наиболее эффективен (Ультразвуковой не используется для газопровода так как нет акустического контакта).
Первый тип снаряда – с продольным намагничиванием. Обнаруживает поперечные дефекты. Применяется в основном для контроля поперечного сварного шва. При этом магнитный поток замыкается касательно к стенке трубы. Датчики Холла фиксируют магнитный поток рассеяния от дефектов и коррозии. Для намагничивания трубы магниты снабжены щетками (для создания хорошего магнитного контакта и уменьшения зазора).
Для выявления дефектов продольного шва используются снаряды с поперечным намагничиванием.
Для выявления дефектов спирального шва намагничивающую систему поворачивают (скошенное намагничивание).
Намагничивание осуществляется только с помощью постоянных магнитов. Съем информации – в основном с помощью преобразователей Холла (или феррозондов).
Между поясами магнитов расположены ласты с преобразователями Холла. Преобразователи Холла прижимаются к поверхности трубы и измеряют тангенциальную составляющую поля.
Движение внутритрубного снаряда – под давлением газа.
-
Методы проверки качества магнитных порошков и суспензий для магнитопорошковой дефектоскопии.
Проверка качества магнитных порошков и суспензий для магнитопорошковой дефектоскопии осуществляется с использованием контрольных образцов различной конструкции.
К контрольным образцам обычно прилагается изображение (фотография) дефектов, которые в нем есть. Для проверки качества магнитных порошков или суспензий нужно намагнитить контрольный образец в заданном режиме, нанести порошок или суспензию и получить изображение.
У-2498 – контрольный образец в виде призмы с отверстием, в котором проходит проводник с током, который будет использоваться для намагничивания ОК.
Призма сделана таким образом, чтобы в каждой точки на поверхности призмы напряженность магнитного поля была бы различной. Сверху на призму наносят суспензию, определяют напряженность магнитного поля при которой можно работать.
Недостатки – тяжелый образец, неверное вычисление напряженности магнитного поля.
Образец Fluxa (Karl Deutsch) оснащен магнитом, задающим распределение напряженности магнитного поля. Определяем при какой напряженности можно работать с данной суспензией. Недостаток – нельзя изменять напряженность вдоль трещины.
Образец МФ-10СП оснащен магнитопроводом с обмоткой, позволяющей производить регулировку магнитного поля, но с ним сложнее работать.
Образец ASME позволяет оценивать, при каких глубинах можно обнаруживать дефекты при заданной напряженности магнитного поля (напряженность задается током I).
Метод отстоя. Изготавливают суспензию, наливают в колбу, отстаивают определенное время и определяют уровни суспензии и воды в колбе.
Метод магнитно-весовой пробы. Включают ток, поднимают чашечку к электромагниту. Магнитный порошок удерживается под диском, взвешивают то что осталось в чашечке (немагнитные частицы). Взвешивают порошок, упавший после отключения тока в электромагните.
-
Контроль внутренней поверхности трубопроводов в процессе эксплуатации.
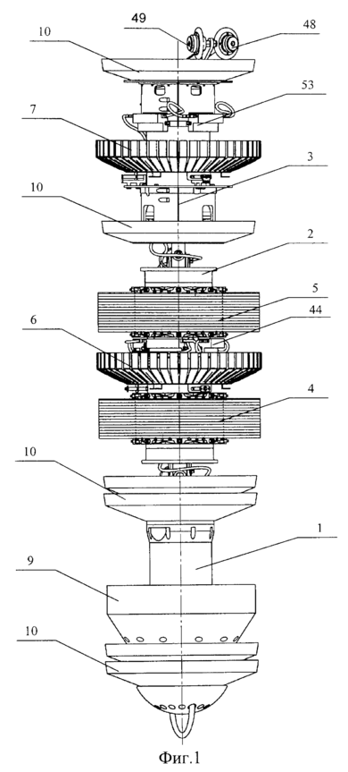
Контроль параметров магистральных трубопроводов осуществляется с помощью внутритрубного снаряда.
ОК – труба либо бесшовная, либо продольно шовная или спиральношовная.
Методы контроля – магнитный или ультразвуковой. Магнитный метод наиболее эффективен (Ультразвуковой не используется для газопровода так как нет акустического контакта).
Первый тип снаряда – с продольным намагничиванием. Обнаруживает поперечные дефекты. Применяется в основном для контроля поперечного сварного шва. При этом магнитный поток замыкается касательно к стенке трубы. Датчики Холла фиксируют магнитный поток рассеяния от дефектов и коррозии. Для намагничивания трубы магниты снабжены щетками (для создания хорошего магнитного контакта и уменьшения зазора).
Для выявления дефектов продольного шва используются снаряды с поперечным намагничиванием.
Для выявления дефектов спирального шва намагничивающую систему поворачивают (скошенное намагничивание).
Намагничивание осуществляется только с помощью постоянных магнитов. Съем информации – в основном с помощью преобразователей Холла (или феррозондов).
Между поясами магнитов расположены ласты с преобразователями Холла. Преобразователи Холла прижимаются к поверхности трубы и измеряют тангенциальную составляющую поля.
Движение внутритрубного снаряда – под давлением газа.
-
Магнитный метод контроля стальных канатов.
Объект контроля – канат грузоподъемных машин. Канат состоит из сердечника (стального или не стального) и 6 проволок. Контролировать магнитным методом возможно только стальную часть каната.
Магнитным методом контролируется:
- Износ (потеря сечения каната в результате истирания или удлинения
-Локальные обрывы
Система намагничивания каната: 1 - цилиндрический магнитопровод, 2 – магнит, 3 – намагничиваемый канат
Выбор режима контроля материала канала.
Канат намагничивают до насыщения. При уменьшении диаметра каната часть магнитного потока замыкается по воздуху, что фиксируется датчиком Холла (поскольку канат намагничен до насыщения уменьшение диаметра каната не приводит к увеличению магнитной индукции в нем). Таким образом фиксируется потеря сечения.
Определение локального обрыва.
При наличии обрыва проволоки возникает поток рассеяния. Его можно зафиксировать с помощью датчика Холла.
Но канат состоит из 6 проволок, следовательно для контроля необходимо 6 датчиков. Для упрощения измерительной системы используют устройство с кольцами из магнитомягкого материала.
Поток рассеяния идет через кольца и фиксируется датчиком Холла (магнитное сопротивление колец меньше чем у воздуха).
Повышение достоверности контроля за счет использования формы сигнала от дефекта.
Сигнал от дефекта:
Используется система с двумя датчиками Холла включенными встречно. По форме сигнала определяют локальный дефект. Если соединить датчики согласно можно контролировать потерю сечения.
Для контроля канатов, имеющих различные диаметры делаются специальные приближающие вставки с приближающими кольцами. Благодаря этим вставкам можно контролировать определенный диапазон диаметров канатов.
7
















