Задачи (991944), страница 2
Текст из файла (страница 2)
Используем циркулярное намагничивание. Ток намагничивания определяем из формулы: I = Hпр∙π∙d d – внешний диаметр детали.
I = 955 А
Используем прибор ПМД-70 (Максимальная величина амплитуды импульса тока – 1500 А).
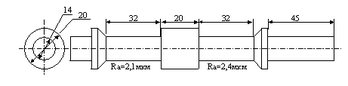
2.12 Требуется определить минимальный размер дефекта, который можно
обнаружить при магнитопорошковом контроле в остаточном поле для
закаленной детали из стали 18ХНВА. Какой при этом должен быть
режим намагничивания?
Определяем способ контроля.
Параметры стали: Hc = 2080 А/м Br = 0.83 Тл Hs = 16000 А/м
Проверим возможность достижения уровня чувствительности при контроле с использованием СОН. Остаточная индукция материала примерно равна остаточной индукции, определяемой по уровню чувствительности Б при заданном значении коэрцитивной силы, следовательно возможен контроль СОН по уровню Б.
При этом минимальная ширина раскрытия условного дефекта – 10 мкм (при минимальной протяженности дефекта 0.5 мм и шероховатости поверхности Ra ≤ 10 мкм). Уровень чувствительности А не достигается так как остаточная индукция материала меньше остаточной индукции, определяемой по уровню чувствительности А.
Выбираем Hпр ≥ Hs
Используем циркулярное намагничивание. Ток намагничивания определяем из формулы: I = Hпр∙π∙d d – внешний диаметр детали.
I = 1005 А
Используем прибор ПМД-70 (Максимальная величина амплитуды импульса тока – 1500 А).
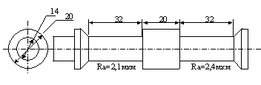
2.13 Требуется определить минимальный размер дефекта, который можно
обнаружить при магнитопорошковом контроле в остаточном поле для
закаленной детали из стали 45. Какой при этом должен быть режим
намагничивания?
Определяем способ контроля.
Параметры стали: Hc = 2160 А/м Br = 1.18 Тл Hs = 15200 А/м
Проверим возможность достижения уровня чувствительности при контроле с использованием СОН. Остаточная индукция материала больше остаточной индукции, определяемой по уровню чувствительности Б при заданном значении коэрцитивной силы, следовательно возможен контроль СОН по уровню Б.
При этом минимальная ширина раскрытия условного дефекта – 10 мкм (при минимальной протяженности дефекта 0.5 мм и шероховатости поверхности Ra ≤ 10 мкм). Уровень чувствительности А не достигается так как шероховатость поверхности Ra > 2.5 мкм.
Выбираем Hпр ≥ Hs
Используем циркулярное намагничивание. Ток намагничивания определяем из формулы: I = Hпр∙π∙d d – внешний диаметр детали.
I = 955 А
Используем прибор ПМД-70 (Максимальная величина амплитуды импульса тока – 1500 А).
2.14 Требуется определить минимальный размер дефекта, который можно
обнаружить при магнитопорошковом контроле в остаточном поле для
закаленной детали из стали 18ХНВА. Какой при этом должен быть
режим намагничивания?
Определяем способ контроля.
Параметры стали: Hc = 2080 А/м Br = 0.83 Тл Hs = 16000 А/м
Проверим возможность достижения уровня чувствительности при контроле с использованием СОН. Остаточная индукция материала примерно равна остаточной индукции, определяемой по уровню чувствительности Б при заданном значении коэрцитивной силы, следовательно возможен контроль СОН по уровню Б.
При этом минимальная ширина раскрытия условного дефекта – 10 мкм (при минимальной протяженности дефекта 0.5 мм и шероховатости поверхности Ra ≤ 10 мкм). Уровень чувствительности А не достигается так как остаточная индукция материала меньше остаточной индукции, определяемой по уровню чувствительности А.
Выбираем Hпр ≥ Hs
Используем циркулярное намагничивание. Ток намагничивания определяем из формулы: I = Hпр∙π∙d d – внешний диаметр детали.
I = 1005 А
Используем прибор ПМД-70 (Максимальная величина амплитуды импульса тока – 1500 А).
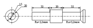
2.15 Выберите способ контроля и режим намагничивания для обнаружения
магнитопорошковым методом продольных дефектов в следующей
закаленной детали из стали 10.
Определяем способ контроля.
Параметры стали: Hc = 480 А/м Br = 0.86 Тл Hs = 3200 А/м
Проверим возможность достижения уровня чувствительности при контроле с использованием СОН. Остаточная индукция материала меньше остаточной индукции, определяемой по уровню чувствительности В при заданном значении коэрцитивной силы, следовательно контроль СОН невозможен.
Будем контролировать способом приложенного поля. Определяем необходимое Hпр по уровню Б:
Hпр = 2500 А/м
Используем циркулярное намагничивание. Ток намагничивания определяем из формулы: I = Hпр∙π∙d d – внешний диаметр детали.
I = 330 А
Используем прибор ПМД-70 (Максимальная величина амплитуды импульса тока – 1500 А).
2.16 Выберите способ контроля и режим намагничивания для
магнитопорошковой дефектоскопии следующей детали из стали 20.
Параметры стали:
Br = 1.17 Тл Hc = 320 А/м
μок = Br/( μо∙Hc) = 2910 > 40
Будем использовать способ приложенного поля.
Используем прибор ПМД-70. Для создания поля будем навивать кабель.
Определяем необходимое Hпр по уровню Б:
Hпр = 2500 А/м
Возьмем ток намагничивания I = 200 А
Контроль производим по участкам:
1) Намагничиваем проушину
Определим необходимое число витков из формулы:
I∙n = Hпр∙π∙dср
dср = 75 мм - средний диаметр проушины
n = 3
2) Намагничиваем оставшуюся часть ОК с помощью намотки кабеля по
участкам
3.1 Выберите преобразователь и найдите его выходной сигнал при измерении
магнитной индукции импульсного поля с амплитудой от 0 до 0.05 Тл
длительностью 0.01 с. Оцените погрешность в диапазоне температур от 0
до 45 град.
Для измерения импульсного поля применяем преобразователь Холла.
Питаем ПХ постоянным током I = Iном = 100мА.
Амплитуда выходного напряжения от датчика Uвых = Bm∙Kм
Kм = 82 мкВ/мТл – магнитная чувствительность.
Uвых = 4.1 мВ.
Погрешность.
δ = k1∙ΔT k1 = 0.002 %/K – температурный коэффициент ЭДС Холла.
ΔT = 45
δ = 0.09 %
2.
Δ = k2∙ΔT k2= 0.09 мкВ/K – температурный коэффициент остаточного напряжения.
ΔT = 45
Δ = 4.05 мкВ
3.2 Выберите преобразователь и найдите его выходной сигнал при измерении
магнитной индукции от 0 до 0.05 Тл постоянного магнитного поля.
Оцените погрешность в диапазоне температур от 0 до 45 град.
Для измерения постоянного поля применяем преобразователь Холла.
Питаем ПХ постоянным током I = Iном = 100мА.
Амплитуда выходного напряжения от датчика Uвых = Bm∙Kм
Kм = 82 мкВ/мТл – магнитная чувствительность.
Uвых = 4.1 мВ.
Погрешность.
1.
δ = k1∙ΔT k1 = 0.002 %/K – температурный коэффициент ЭДС Холла.
ΔT = 45
δ = 0.09 %
2.
Δ = k2∙ΔT k2= 0.09 мкВ/K – температурный коэффициент остаточного напряжения.
ΔT = 45
Δ = 4.05 мкВ
3.3 Выберите преобразователь и найдите его выходной сигнал при измерении
напряженности магнитного поля в диапазоне от 0 до 500 А/м частотой
100 Гц. Оцените погрешность в диапазоне температур от 0 до 45 град.
H=0..500 А/м f=100 Гц ΔT = 45°
Так как поле переменное, возможно применить индукционный преобразователь. Возьмем однослойный индукционный преобразователь диаметром D = 10 мм. Возьмем провод диаметром d = 20 мкм.
Величина напряжения индукционного преобразователя рассчитывается по формуле:
Чтобы при изменении напряженности магнитного поля H=0..500 А/м работать на диапазоне выходного напряжения U=10 мВ найдем число витков из формулы
n = 323
Длина провода обмотки
Lo = 10.14 м
Погрешность:
-
От размеров измерительной катушки:
2. От влияния температуры
α =
1/град –коэффициент линейного расширения меди.
ΔT = 45° δ = 0.15 %
3.4 Выберите преобразователь и найдите его выходной сигнал при измерении
магнитной индукции в диапазоне от 0 до 0.05 Тл частотой
100 Гц. Оцените погрешность в диапазоне температур от 0 до 45 град.
B=0..0.05 А/м f=100 Гц ΔT = 45°
Так как поле переменное, возможно применить индукционный преобразователь. Возьмем однослойный индукционный преобразователь диаметром D = 10 мм. Возьмем провод диаметром d = 20 мкм.
Величина напряжения индукционного преобразователя рассчитывается по формуле:
Чтобы при изменении магнитной индукции B = 0..0.05 Тл работать на диапазоне выходного напряжения U=10 мВ найдем число витков из формулы
n = 4
Длина провода обмотки
Lo = 0.13 м
Погрешность:
-
От размеров измерительной катушки:
2. От влияния температуры
α =
1/град –коэффициент линейного расширения меди.
ΔT = 45° δ = 0.15 %
3.5 Выберите преобразователь и найдите его выходной сигнал при
измерении магнитной индукции в диапазоне от 0 до 0.1 Тл частотой
2000 Гц. Оцените погрешность в диапазоне температур от 0 до 60 град.
















