Т-КМОП Комаров 12 вар (988147)
Текст из файла
МЭИ(ТУ)
Курсовой проект по курсу
“Электронные цепи и микросхемотехника”
Генератор прямоугольных импульсов.
Выполнил
студент: Комаров С.В.
группа: Эр-05-02
Проверил
доцент Каретников И.А.
Москва
2005
СОдержание:
Задание курсового проекта. 3
Данные к курсовому проекту. 3
Блок-схема генератора и описание его работы. 4
Шифр задания. 4
Теоретическая часть (описание микросхемы К561АГ1). 5
Расчет мультивибратора. 7
Расчет ждущего мультивибратора. 9
Усилитель мощности. 10
Стабилизатор напряжения. 11
Таблица спецификации. 12
Задание курсового проекта.
Спроектировать генератор прямоугольных импульсов. Спроектировать стабилизатор напряжения, обеспечивающий питание генератора импульсов. Использовать интегральные СН. Нестабильность выходного напряжения стабилизатора не хуже %Eпит при нестабильности напряжения сети +,-20%.
Спроектировать генератор прямоугольных импульсов, обеспечивающий в нагрузке (Rн,Сн) амплитуду рабочих импульсов, регулируемую в пределах 0 - Uвых m. Длительность импульсов должна регулироваться и находиться в пределах Tи min - Tи max. Период следования импульсов регулируется и находится в пределах T min - T max. Обеспечить длительность переднего и заднего фронтов импульса не более tф. Генератор (за исключением УМ) выполняется с использованием стандартных логических элементов (ЛЭ) ТТЛ, либо КМОП однотипных для всего генератора, либо таймеров (формирователей) на основе ТТЛ и ЛЭ ТТЛ (Т-ТТЛ) или таймеров (формирователей) на основе КМОП и ЛЭ КМОП (Т-КМОП).
Данные к курсовому проекту.
| ГПИ, ГЛИН | Uвых m, В | Полярность | Ти min, мкс | Tи max/ Tи min | tф/ Tи min | Rн, кОм | сн, пФ | Tmin/ Tи max | Tmax/ Tmin | Тип логики |
| ГПИ | 3 | - | 500 | 15 | 0.01 | 0.2 | 1500 | 15 | 15 | Т-КМОП |
ΔEпит=0.5%
Полярность импульса:
Расшифровка задания:
Блок-схема генератора и описание его работы.
ЗГ – задающий генератор (мультивибратор).
Генерирует импульсы с периодом Т, период следования изменяется в пределах от Тmin до Tmax
ЖМВ – ждущий мультивибратор.
Генерирует импульсы с периодом Ти, период следования изменяется в пределах от Ти min до Tи max
УМ – усилитель мощности.
Меняет амплитуду в пределах до Um
RH,cH – нагрузка генератора.
1
Uвых
t
T
2
Uвых
Рис 2.
Осциллограммы работы элементов ГПИ
0
t
0
Tи
3
Uвых
Umax
Umin
t
0
Шифр задания.
12.Комаров 1 1 - 6 5 1 1 4 6 6 4 4 К
Теоретическая часть (описание микросхемы К561АГ1).
Микросхема состоит из двух одновибраторов, имеющих по три входа (A, B, SR) и два выхода
и
. Их запуск осуществляется как фронтом входного импульса, так и его срезом. Вход SR служит для прерывания в любой момент времени формирования выходного импульса, путем подачи на него (вход SR) сигнала низкого уровня.
Табл 1. Таблица состояний микросхемы К561АГ1.
Для устойчивого состояния:
Запуск:
Сброс:
H
– высокий уровень напряжения, L – низкий. – положительный перепад напряжения, - отрицательный. – одиночный импульс высокого уровня, - низкого.
Времязадающая RC цепь для данной микросхемы задается исходя из того, что минимальное значение R должно быть более 1кОм.
Одновибратор К561АГ1 способен генерировать выходные импульсы в пределах от сотен наносекунд до нескольких минут. Приблизительная формула для их расчета имеет вид
(для С более 0.01 мкФ)
Длительность выходного импульса мало зависима от напряжения питания и при его изменении в переделах от 5 до 15В дает погрешность в изменении длительности лишь порядка 5%. (порог переключения тр-ров микросхем КМОП смещается пропорционально изменению напряжения питания). Важно заметить, что если микросхема нагружена внешними устройствами, выходной ток не должен превышать 0.5мА при напряжении питания 5В.
Рис 4. Способ создания временной задержки выходного импульса относительно фронта входного на одновибраторе К561АГ (схема включения)
Рис 5. Временные диаграммы работы схемы
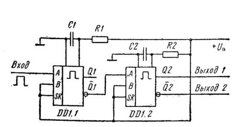
Расчет мультивибратора.
Представленный на рис. 6 мультивибратор используется для генерации импульсов с периодом от Tи min до Tи max.
Сразу же, после подачи питания на данный мультивибратор, элемент DD1.1 сгенерирует импульс длительностью Т1 задающейся параметрами С1,R1. С выхода элемента DD1.1
он попадет на вход А элемента DD1.2. В момент окончания импульса Т1 по положительному перепаду (табл. 1) запустится элемент DD1.2, который сгенерирует импульс длительностью T2, длительность которого будет задаваться параметрами элементов С2, R2. Сняв сигнал с выхода
элемента DD1.2 и подав его на вход А элемента DD1.1 мы получим автогенератор (при положительном перепаде на выходе
мы снова получим на выходе элемента DD1.1 импульс Т1). Таким образом процесс будет бесконечно повторяться пока будет присутствовать Епит.
Вых 1
t
Рис 7.
Осциллограммы работы мультивибратора
t
t
t
t
0
Исходя из справочных данных нам известно:
1) Предельное нижнее значение сопротивлений R1 и R2 равно 1кОм
2) Период следования импульса Т1,2=0.5RC
Нам необходимо достигнуть T импульса в пределах от Tmin=112500 мкс, до Тmax=1687500 мкс (от 0.1125 до 1.6875 сек). Для расчета необходимых нам емкостей примем элементы R1 и R2, С1 и С2 соответственно равными друг другу, R3 возьмем минимальным (равным нулю):
Таким образом, зная минимально необходимый для работы мультивибратора номинал резисторов R1 и R2 (выберем значение в 12 кОм), а также зная, что необходимое нам Tmin=112500 мкс, мы сможем подобрать устраивающую нас емкость конденсаторов по формуле:
С=
=
=
=9,4 мкФ, (возьмем 9,1 мкФ).
Достигнуть необходимое нам Тmax мы сможем, повышая номинал резисторов. Здесь возможны два варианта: изменение номинала лишь одного резистора (упрощение, удешевление ГПИ), либо изменение номиналов обоих резисторови R1 и R2, одного плавно, второго – шагом (более удобная и точная настройка Т, усложнение и увеличение стоимости ГПИ). Исходя из экономии и стремления к простоте, мною был выбран первый вариант. Поэтому рассчитал необходимый мне номинал Rmax=(R2+R3) по формуле:
=369679=370кОм (таким образом, нам необходим переменный резистор R3=Rmax-R2 0÷358 кОм (или более), из номинала нас устраивает 360кОм ).
Р
+Епит
асчет ждущего мультивибратора. Ж
дущий мультивибратор генерирует импульсы с периодом Ти, период следования изменяется в пределах от Ти_min до Tи max.
С
Вых 2
Вх 2
игнал с мультивибратора (вых 1) подается на вход В (вх 2), на SR подается высокий уровень (Епит), на вход А – низкий (земля). Следовательно, согласно таблице состояний (табл. 1) схема будет генерировать импульс по отрицательному перепаду на входе В.Характеристики
Тип файла документ
Документы такого типа открываются такими программами, как Microsoft Office Word на компьютерах Windows, Apple Pages на компьютерах Mac, Open Office - бесплатная альтернатива на различных платформах, в том числе Linux. Наиболее простым и современным решением будут Google документы, так как открываются онлайн без скачивания прямо в браузере на любой платформе. Существуют российские качественные аналоги, например от Яндекса.
Будьте внимательны на мобильных устройствах, так как там используются упрощённый функционал даже в официальном приложении от Microsoft, поэтому для просмотра скачивайте PDF-версию. А если нужно редактировать файл, то используйте оригинальный файл.
Файлы такого типа обычно разбиты на страницы, а текст может быть форматированным (жирный, курсив, выбор шрифта, таблицы и т.п.), а также в него можно добавлять изображения. Формат идеально подходит для рефератов, докладов и РПЗ курсовых проектов, которые необходимо распечатать. Кстати перед печатью также сохраняйте файл в PDF, так как принтер может начудить со шрифтами.
















